TOP
|
特許
|
意匠
|
商標
特許ウォッチ
Twitter
他の特許を見る
10個以上の画像は省略されています。
公開番号
2025140184
公報種別
公開特許公報(A)
公開日
2025-09-29
出願番号
2024039392
出願日
2024-03-13
発明の名称
エンジン制御装置
出願人
トヨタ自動車株式会社
代理人
個人
,
個人
,
個人
主分類
F02D
17/00 20060101AFI20250919BHJP(燃焼機関;熱ガスまたは燃焼生成物を利用する機関設備)
要約
【課題】過回転を防いでエンジンを保護すると共に、減速ショックを緩和してドライバビリティを向上させるエンジン制御装置を提供する。
【解決手段】エンジン制御装置は、アクセルの入力を検出するアクセルセンサと、エンジンの回転数を検出する回転センサと、アクセルセンサが入力の解放を検出した時点において回転センサが検出した回転数に基づいて、予め設定された継続時間に亘って、エンジンを構成する複数の気筒のうちの一部の気筒の燃焼を継続させる制限気筒制御を実行する制御部とを備える。
【選択図】図1
特許請求の範囲
【請求項1】
アクセルの入力を検出するアクセルセンサと、
エンジンの回転数を検出する回転センサと、
前記アクセルセンサが前記入力の解放を検出した時点において前記回転センサが検出した前記回転数に基づいて、予め設定された継続時間に亘って、前記エンジンを構成する複数の気筒のうちの一部の気筒の燃焼を継続させる制限気筒制御を実行する制御部と
を備えるエンジン制御装置。
続きを表示(約 500 文字)
【請求項2】
前記制御部は、前記アクセルセンサの検出履歴に基づいて、前記継続時間に亘って前記エンジンに要求する要求トルクを算出し、前記要求トルクに基づいて燃焼を継続させる気筒数を決定する請求項1に記載のエンジン制御装置。
【請求項3】
前記制御部は、前記要求トルクに基づいて、燃焼を継続させる気筒に対する点火遅角量を制御する請求項2に記載のエンジン制御装置。
【請求項4】
前記制御部は、前記アクセルの入力が解放されたことを検出するより所定時間だけ前の時点において前記アクセルセンサが検出した前記アクセルの入力量に基づいて前記要求トルクを決定する請求項2に記載のエンジン制御装置。
【請求項5】
前記制御部は、前記アクセルセンサが前記アクセルの入力が解放されたことを検出した時点において前記回転センサが検出した前記回転数が予め設定された閾値を超える場合には前記制限気筒制御を実行し、前記閾値以下の場合には前記複数の気筒のすべての燃焼を継続させつつスロットルバルブの開度を段階的に閉塞するダッシュポット制御を実行する請求項1に記載のエンジン制御装置。
発明の詳細な説明
【技術分野】
【0001】
本発明は、エンジン制御装置に関する。
続きを表示(約 1,400 文字)
【背景技術】
【0002】
エンジン車両の運転者がアクセルの踏込みを俄かに解除(アクセルオフ)したときに、エンジン回転数の急激な減少による減速ショックを緩和するために、エンジンへの吸気量を漸減させつつ燃焼状態を一定時間に亘って継続させるダッシュポッド制御が知られている(例えば、特許文献1参照)。
【先行技術文献】
【特許文献】
【0003】
特開平11-36948号公報
【発明の概要】
【発明が解決しようとする課題】
【0004】
アクセルオフ時のエンジン回転数が許容される上限回転数に近い場合には、ダッシュポッド制御を実行した場合であっても、ドライブシャフトの急激な捻じれ解消に伴って、エンジン回転数が一時的に当該上限回転数を超過してしまい(エンジン過回転)、エンジンに過負荷を与えることがあった。
【0005】
本発明は、このような問題を解決するためになされたものであり、過回転を防いでエンジンを保護すると共に、減速ショックを緩和してドライバビリティを向上させるエンジン制御装置等を提供するものである。
【課題を解決するための手段】
【0006】
本発明の一態様におけるエンジン制御装置は、アクセルの入力を検出するアクセルセンサと、エンジンの回転数を検出する回転センサと、アクセルセンサが入力の解放を検出した時点において回転センサが検出した回転数に基づいて、予め設定された継続時間に亘って、エンジンを構成する複数の気筒のうちの一部の気筒の燃焼を継続させる制限気筒制御を実行する制御部とを備える。
【発明の効果】
【0007】
本発明により、過回転を防いでエンジンを保護すると共に、減速ショックを緩和してドライバビリティを向上させるエンジン制御装置を提供することができる。
【図面の簡単な説明】
【0008】
本実施形態に係るエンジン制御装置の概略構成図である。
経過時間とアクセル開度の関係の一例を示す図である。
経過時間とエンジン回転数の関係の一例を示す図である。
経過時間と実行フラグの関係の一例を示す図である。
経過時間と燃焼気筒数の関係の一例を示す図である。
経過時間と点火遅角量の関係の一例を示す図である。
経過時間とスロットル開度の関係の一例を示す図である。
停止気筒数とエンジントルクの関係の一例を示す図である。
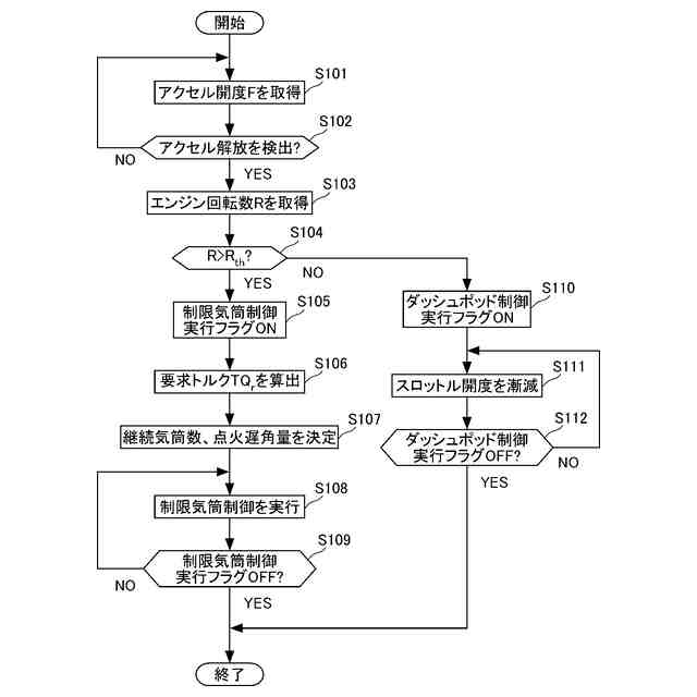
ECUが実行するエンジン制御処理の制御フロー図である。
【発明を実施するための形態】
【0009】
以下、添付図面を参照して本発明の実施形態について説明する。なお、特許請求の範囲に係る発明を以下の実施形態に限定するものではない。また、実施形態で説明する構成の全てが課題を解決するための手段として必須であるとは限らない。
【0010】
図1は、本実施形態に係るエンジン制御装置100の概略構成図である。エンジン制御装置100は、不図示に車両に搭載されている。エンジン制御装置100は、主に、ECU(Electronic Control Unit)110、エンジン120、記憶部130、アクセル140と、これらに付随する回路、センサ、アクチュエータによって構成されている。
(【0011】以降は省略されています)
この特許をJ-PlatPat(特許庁公式サイト)で参照する
関連特許
トヨタ自動車株式会社
車両の制御装置
20日前
トヨタ自動車株式会社
内燃機関
20日前
株式会社SUBARU
エンジン制御装置
22日前
株式会社IHI原動機
脈動減衰装置
20日前
朝日電装株式会社
スロットルグリップ装置
10日前
個人
流体式推力方向制御装置
10日前
トヨタ自動車株式会社
閾値の設定装置
10日前
トヨタ自動車株式会社
エンジン制御装置
6日前
本田技研工業株式会社
内燃機関の制御装置
20日前
日産自動車株式会社
内燃機関
6日前
株式会社デンソートリム
エンジン制御装置
6日前
日産自動車株式会社
内燃機関
6日前
本田技研工業株式会社
EGRバルブ制御装置
10日前
トヨタ自動車株式会社
インジェクタの制御装置
8日前
トヨタ自動車株式会社
内燃機関の燃料供給装置
6日前
トヨタ自動車株式会社
内燃機関の燃料供給装置
10日前
トヨタ自動車株式会社
エンジン制御装置
10日前
ヤンマーホールディングス株式会社
エンジン装置
8日前
ヤンマーホールディングス株式会社
エンジン装置
8日前
ヤンマーホールディングス株式会社
エンジン装置
8日前
ヤンマーホールディングス株式会社
エンジン装置
8日前
ヤンマーホールディングス株式会社
エンジン装置
8日前
大阪瓦斯株式会社
発電設備、及び発電方法
8日前
ヤンマーホールディングス株式会社
エンジン装置
8日前
ヤンマーホールディングス株式会社
エンジン装置
8日前
トヨタ自動車株式会社
内燃機関の燃料噴射制御装置
8日前
株式会社豊田自動織機
燃料噴射弁
14日前
ヤンマーホールディングス株式会社
エンジンシステム
8日前
スズキ株式会社
内燃機関の制御装置
20日前
本田技研工業株式会社
内燃機関
13日前
株式会社SUBARU
燃料タンク処理装置
2日前
株式会社SUBARU
燃料タンク処理装置
2日前
いすゞ自動車株式会社
制御システム
8日前
カワサキモータース株式会社
エンジン
10日前
トヨタ自動車株式会社
シリンダ加熱装置
6日前
ヤンマーホールディングス株式会社
アンモニア混焼エンジン
8日前
続きを見る
他の特許を見る