TOP
|
特許
|
意匠
|
商標
特許ウォッチ
Twitter
他の特許を見る
10個以上の画像は省略されています。
公開番号
2025144703
公報種別
公開特許公報(A)
公開日
2025-10-03
出願番号
2024044514
出願日
2024-03-21
発明の名称
内燃機関
出願人
日産自動車株式会社
代理人
個人
,
個人
,
個人
,
個人
主分類
F02F
7/00 20060101AFI20250926BHJP(燃焼機関;熱ガスまたは燃焼生成物を利用する機関設備)
要約
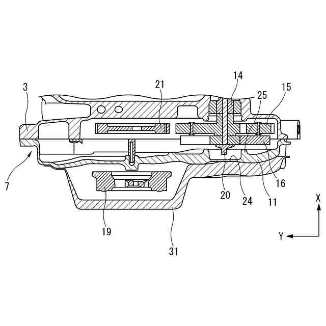
【課題】内燃機関のフロントカバーの振動低減を図る。
【解決手段】内燃機関1は、クランクシャフト18と平行に配置されたバランサシャフト14と、内燃機関本体8の気筒列方向の一端側の端面を覆うフロントカバー7と、を有している。フロントカバー7は、クランクシャフト軸方向視においてバランサシャフト14と重なる部分に、相対的に肉厚が厚くなる肉厚部11を備えている。内燃機関1は、フロントカバー7に肉厚部11による質量付加を行うことにより、フロントカバー7の膜振動(振動)の発生を効果的に抑制することができる。
【選択図】図1
特許請求の範囲
【請求項1】
クランクシャフトと平行に配置されたバランサシャフトと、
内燃機関本体の気筒列方向の一端側の端面を覆うフロントカバーと、を有し、
上記フロントカバーは、クランクシャフト軸方向視においてバランサシャフトと重なる部分に、相対的に肉厚が厚くなる肉厚部を備えることを特徴とする内燃機関。
続きを表示(約 960 文字)
【請求項2】
上記バランサシャフトの一端部に取り付けられ、内燃機関本体の気筒列方向の上記一端側に配置された回転部材を有し、
上記肉厚部は、上記回転部材と対向する部分である第1領域に形成され、他の部分よりも肉厚が厚くなる肉厚部であることを特徴とする請求項1に記載の内燃機関。
【請求項3】
上記バランサシャフトはシリンダブロックに支持されていることを特徴とする請求項2に記載の内燃機関。
【請求項4】
クランクシャフト軸方向視で、クランクシャフト軸中心からフロントカバー外周縁までを半径とした半円形状で、上記回転部材が位置する側をカバーするように設定された第2領域に、さらに肉厚部を備えていることを特徴とする請求項3に記載の内燃機関。
【請求項5】
上記フロントカバーは鋳造されたものであることを特徴とする請求項1に記載の内燃機関。
【請求項6】
上記肉厚部は、フロントカバー表面側が曲面となり、フロントカバー裏面側が平面となるよう形成されていることを特徴とする請求項5に記載の内燃機関。
【請求項7】
上記肉厚部は、厚さの変化が鋳造時に巣が発生することのない所定の肉厚の変化に抑制して設定されていることを特徴とする請求項6に記載の内燃機関。
【請求項8】
上記肉厚部は、バランサシャフト軸中心側から半径方向外側に向かって肉厚が厚くなった後に肉厚が薄くなるようにフロントカバー表面側の曲面が形成されたものであることを特徴とする請求項6に記載の内燃機関。
【請求項9】
上記バランサシャフトの軸端には、上記回転部材を固定するボルトが取り付けられ、
上記フロントカバーは、フロントカバー裏面側の上記ボルトと対向する位置に、当該ボルトとの干渉を回避できる凹部が形成されていることを特徴とする請求項2に記載の内燃機関。
【請求項10】
上記フロントカバーは、フロントカバー裏面側の上記凹部の外周縁に、上記内燃機関本体の気筒列方向の一端側の端面に向かって凸となる環状の第1リブが形成されていることを特徴とする請求項9に記載の内燃機関。
(【請求項11】以降は省略されています)
発明の詳細な説明
【技術分野】
【0001】
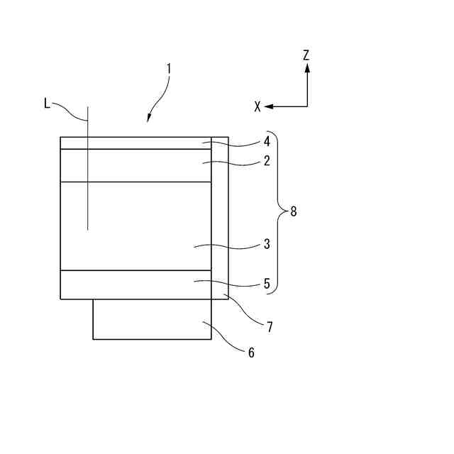
本発明は、フロントカバーを有する内燃機関に関する。
続きを表示(約 960 文字)
【背景技術】
【0002】
例えば、特許文献1には、クランクタイミングスプロケットとカムタイミングスプロケットとの間にアイドラ-スプロケットを介して掛けられたタイミングチェーンの前面を覆うように設けられた内燃機関のチェーンカバー(フロントカバー)が開示されている。
【0003】
特許文献1のチェーンカバーは、シリンダヘッドカバーの前面の肉厚を厚くすることで、タイミングチェーンとスプロケットとの間の噛み込み衝撃音によるチェーンカバーの共鳴を低減している。
【0004】
しかしながら、特許文献1においては、チェーンカバーの共鳴を低減するにあたって、タイミングチェーンとスプロケットとの間の噛み込み衝撃音以外のことが考慮されていない。
【0005】
すなわち、内燃機関は、チェーンカバー(フロントカバー)の振動低減を図るために更なる改善の余地がある。
【先行技術文献】
【特許文献】
【0006】
特開平9-209774号公報
【発明の概要】
【発明が解決しようとする課題】
【0007】
しかしながら、特許文献1においては、チェーンカバーの共鳴を低減するにあたって、タイミングチェーンとスプロケットとの間の噛み込み衝撃音以外のことが考慮されていない。
【0008】
すなわち、内燃機関は、チェーンカバー(フロントカバー)の振動低減を図るために更なる改善の余地がある。
【課題を解決するための手段】
【0009】
本発明の内燃機関は、クランクシャフトと平行に配置されたバランサシャフトと、内燃機関本体の気筒列方向の一端側の端面を覆うフロントカバーと、を有している。上記フロントカバーは、クランクシャフト軸方向視においてバランサシャフトと重なる部分に、相対的に肉厚が厚くなる肉厚部を備えている。
【発明の効果】
【0010】
内燃機関は、フロントカバーに肉厚部による質量付加を行うことにより、フロントカバーの膜振動(振動)の発生を抑制することができる。
【図面の簡単な説明】
(【0011】以降は省略されています)
この特許をJ-PlatPat(特許庁公式サイト)で参照する
関連特許
日産自動車株式会社
電動車両
11日前
日産自動車株式会社
二次電池
19日前
日産自動車株式会社
二次電池
22日前
日産自動車株式会社
保持機構
23日前
日産自動車株式会社
保持機構
29日前
日産自動車株式会社
内燃機関
8日前
日産自動車株式会社
積層型電池
29日前
日産自動車株式会社
面圧付与機構
25日前
日産自動車株式会社
面圧付与機構
29日前
日産自動車株式会社
ロータシャフト
3日前
日産自動車株式会社
電池モジュール
16日前
日産自動車株式会社
ロータシャフト
3日前
日産自動車株式会社
電池モジュール
9日前
日産自動車株式会社
リチウム二次電池
8日前
日産自動車株式会社
リチウム二次電池
22日前
日産自動車株式会社
車両用排気部構造
8日前
日産自動車株式会社
塗装方法及び自動車
10日前
日産自動車株式会社
ギヤ装置のブリーザ構造
25日前
日産自動車株式会社
エンジンのアンダカバー
16日前
株式会社ニフコ
締結構造
16日前
日産自動車株式会社
車両用荷室における排熱構造
19日前
日産自動車株式会社
相乗り可否判定方法及び装置
19日前
日産自動車株式会社
経路案内方法及び経路案内装置
24日前
日産自動車株式会社
配車管理装置及び配車管理方法
1か月前
日産自動車株式会社
車載機能制御方法及び車載端末
24日前
日産自動車株式会社
車両制御装置及び車両制御方法
1か月前
日産自動車株式会社
画像処理方法及び画像処理装置
1か月前
日産自動車株式会社
施錠制御方法及び施錠制御装置
18日前
日産自動車株式会社
画像表示方法及び画像表示装置
1か月前
日産自動車株式会社
運転支援方法及び運転支援装置
16日前
日産自動車株式会社
運転支援方法及び運転支援装置
17日前
日産自動車株式会社
衝突回避方法、及び衝突回避装置
8日前
日産自動車株式会社
車両制御方法および車両制御装置
17日前
日産自動車株式会社
物体検出方法、及び物体検出装置
8日前
日産自動車株式会社
車両制御方法および車両制御装置
17日前
日産自動車株式会社
車両制御方法および車両制御装置
17日前
続きを見る
他の特許を見る