TOP
|
特許
|
意匠
|
商標
特許ウォッチ
Twitter
他の特許を見る
公開番号
2025142951
公報種別
公開特許公報(A)
公開日
2025-10-01
出願番号
2024042600
出願日
2024-03-18
発明の名称
制御システム
出願人
いすゞ自動車株式会社
代理人
弁理士法人創光国際特許事務所
主分類
F02D
45/00 20060101AFI20250924BHJP(燃焼機関;熱ガスまたは燃焼生成物を利用する機関設備)
要約
【課題】混合気を適切に燃焼させる。
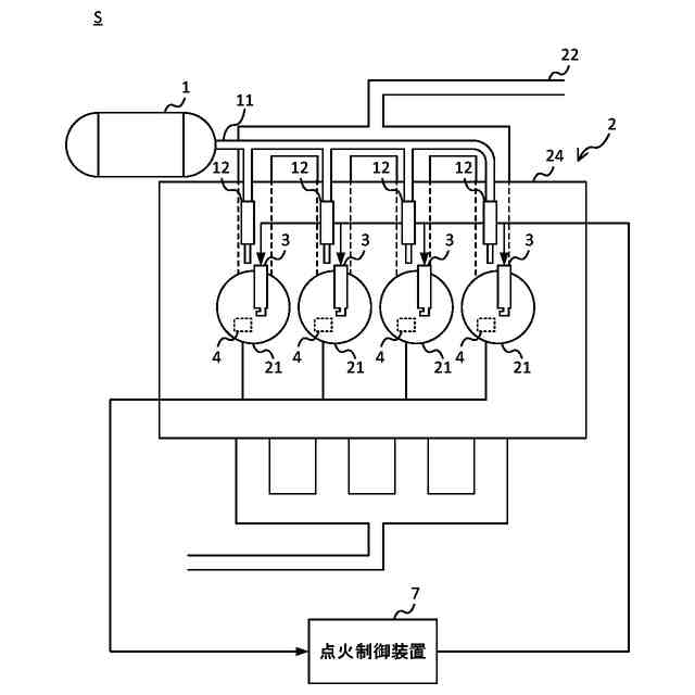
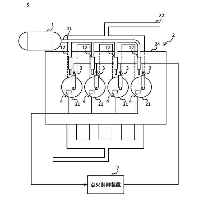
【解決手段】制御システムSは、メタンを含む液化天然ガスが気化した天然ガスと吸気との混合気を用いるエンジン2に設けられ、エンジン2の燃焼室内の燃焼状態を示す特徴量を所定間隔で検出するセンサ4と、センサ4が検出した特徴量と、特徴量に対応するエンジン2の燃焼サイクルにおける位相と、を関連付けて取得する取得部721と、一の燃焼サイクルの間に検出された複数の特徴量及び各特徴量に関連付けられた位相に基づいて特徴量の増加率の最大値に対応する最大位相を特定する特定部722と、最大位相が、燃焼室で燃焼を起こすタイミングとして設定された所定範囲外の場合、最大位相が所定範囲内になるように混合気への点火タイミングを変える点火制御部723と、を有る。
【選択図】図1
特許請求の範囲
【請求項1】
メタンを含む液化天然ガスが気化した天然ガスと吸気との混合気を用いるエンジンに設けられ、前記エンジンの燃焼室内の燃焼状態を示す特徴量を所定間隔で検出するセンサと、
前記センサが検出した前記特徴量と、前記特徴量に対応する前記エンジンの燃焼サイクルにおける位相と、を関連付けて取得する取得部と、
一の前記燃焼サイクルの間に検出された複数の前記特徴量及び各特徴量に関連付けられた前記位相に基づいて前記特徴量の増加率の最大値に対応する最大位相を特定する特定部と、
前記最大位相が、前記燃焼室で燃焼を起こすタイミングとして設定された所定範囲外の場合、前記最大位相が前記所定範囲内になるように混合気への点火タイミングを変える点火制御部と、
を有する制御システム。
続きを表示(約 680 文字)
【請求項2】
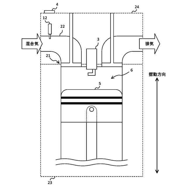
前記センサは、前記エンジンの気筒内を摺動するピストンの摺動方向における前記気筒の振動の加速度を前記特徴量として検出する加速度センサであり、
前記特定部は、前記加速度の増加率が最大値になる前記最大位相を特定する、
請求項1に記載の制御システム。
【請求項3】
前記エンジンの複数の前記気筒の各々に対応する複数の前記センサを有し、
前記複数のセンサの各々は、対応する前記気筒の前記摺動方向の振動の前記加速度を検出し、
前記取得部は、前記複数の気筒の各々の前記加速度及び前記加速度に対応する前記位相を各センサから取得し、
前記特定部は、気筒毎に前記最大位相を特定し、
前記点火制御部は、前記最大位相が前記所定範囲外の気筒の前記点火タイミングを変える、
請求項2に記載の制御システム。
【請求項4】
前記所定範囲は、前記燃焼サイクルの燃焼工程において前記エンジンのピストンの位置が上死点になる基準位相を含む範囲である、
請求項1に記載の制御システム。
【請求項5】
前記点火制御部は、前記最大位相が前記所定範囲よりも前の場合、前記点火タイミングを遅くし、前記最大位相が前記所定範囲よりも後の場合、前記点火タイミングを早くする、
請求項4に記載の制御システム。
【請求項6】
前記点火制御部は、前記特徴量の増加率の最大値が前記基準位相になるように点火タイミングを変える、
請求項4に記載の制御システム。
発明の詳細な説明
【技術分野】
【0001】
本発明は、エンジンの燃焼室内の燃焼を制御する制御システムに関する。
続きを表示(約 1,300 文字)
【背景技術】
【0002】
液化天然ガスを用いるエンジンが知られている。特許文献1には、液化天然ガスを貯蔵する燃料容器から送り出される液化天然ガスを気化してエンジンへ供給する技術が開示されている。
【先行技術文献】
【特許文献】
【0003】
特開2010-144697公報
【発明の概要】
【発明が解決しようとする課題】
【0004】
燃料容器内に貯蔵された液化天然ガスは、燃料容器の外部からの熱の流入を受けて温度が上昇する。液化天然ガスの温度が上昇すると、沸点の低いメタンから気化するので、液化天然ガスの成分の割合が変化する。液化天然ガスの成分の割合が変化すると、天然ガスと吸気との混合気の燃焼状態が変化するので、混合気を適切に燃焼できないことがあった。
【0005】
そこで、本発明はこれらの点に鑑みてなされたものであり、混合気を適切に燃焼させることを目的とする。
【課題を解決するための手段】
【0006】
本発明の態様においては、メタンを含む液化天然ガスが気化した天然ガスと吸気との混合気を用いるエンジンに設けられ、前記エンジンの燃焼室内の燃焼状態を示す特徴量を所定間隔で検出するセンサと、前記センサが検出した前記特徴量と、前記特徴量に対応する前記エンジンの燃焼サイクルにおける位相と、を関連付けて取得する取得部と、一の前記燃焼サイクルの間に検出された複数の前記特徴量及び各特徴量に関連付けられた前記位相に基づいて前記特徴量の増加率の最大値に対応する最大位相を特定する特定部と、前記最大位相が、前記燃焼室で燃焼を起こすタイミングとして設定された所定範囲外の場合、前記最大位相が前記所定範囲内になるように混合気への点火タイミングを変える点火制御部と、を有する制御システムを提供する。
【0007】
前記センサは、前記エンジンの気筒内を摺動するピストンの摺動方向における前記気筒の振動の加速度を前記特徴量として検出する加速度センサであり、前記特定部は、前記加速度の増加率が最大値になる前記最大位相を特定してもよい。
【0008】
前記エンジンの複数の前記気筒の各々に対応する複数の前記センサを有し、前記複数のセンサの各々は、対応する前記気筒の前記摺動方向の振動の前記加速度を検出し、前記取得部は、前記複数の気筒の各々の前記加速度及び前記加速度に対応する前記位相を各センサから取得し、前記特定部は、気筒毎に前記最大位相を特定し、前記点火制御部は、前記最大位相が前記所定範囲外の気筒の前記点火タイミングを変えてもよい。
【0009】
前記所定範囲は、前記燃焼サイクルの燃焼工程において前記エンジンのピストンの位置が上死点になる基準位相を含む範囲であってもよい。
【0010】
前記点火制御部は、前記最大位相が前記所定範囲よりも前の場合、前記点火タイミングを遅くし、前記最大位相が前記所定範囲よりも後の場合、前記点火タイミングを早くしてもよい。
(【0011】以降は省略されています)
この特許をJ-PlatPat(特許庁公式サイト)で参照する
関連特許
トヨタ自動車株式会社
車両
29日前
ダイハツ工業株式会社
車両
22日前
トヨタ自動車株式会社
車両
27日前
トヨタ自動車株式会社
車両
24日前
スズキ株式会社
車両の制御装置
15日前
ダイハツ工業株式会社
制御装置
21日前
ダイハツ工業株式会社
制御装置
21日前
ダイハツ工業株式会社
制御装置
21日前
スズキ株式会社
内燃機関の制御装置
24日前
個人
疑似可変サイクルジェットエンジン機構
1か月前
トヨタ自動車株式会社
内燃機関
13日前
トヨタ自動車株式会社
車両の制御装置
13日前
株式会社SUBARU
エンジン制御装置
21日前
株式会社SUBARU
エンジン制御装置
15日前
個人
流体式推力方向制御装置
3日前
トヨタ自動車株式会社
内燃機関の制御装置
24日前
トヨタ自動車株式会社
エンジンの制御装置
1か月前
朝日電装株式会社
スロットルグリップ装置
3日前
株式会社IHI原動機
脈動減衰装置
13日前
トヨタ自動車株式会社
車両の制御装置
29日前
トヨタ自動車株式会社
閾値の設定装置
3日前
トヨタ自動車株式会社
内燃機関の制御装置
24日前
トヨタ自動車株式会社
内燃機関の制御装置
1か月前
株式会社豊田自動織機
車両
23日前
本田技研工業株式会社
内燃機関の制御装置
13日前
トヨタ自動車株式会社
エンジンシステムの診断装置
15日前
本田技研工業株式会社
EGRバルブ制御装置
3日前
Astemo株式会社
内燃機関制御装置
1か月前
トヨタ自動車株式会社
インジェクタの制御装置
1日前
トヨタ自動車株式会社
内燃機関の燃料供給装置
3日前
トヨタ自動車株式会社
エンジン制御装置
3日前
ヤンマーホールディングス株式会社
エンジン装置
1日前
ヤンマーホールディングス株式会社
エンジン装置
1日前
大阪瓦斯株式会社
発電設備、及び発電方法
1日前
トヨタ自動車株式会社
情報処理装置
1か月前
ヤンマーホールディングス株式会社
エンジン装置
1日前
続きを見る
他の特許を見る