TOP
|
特許
|
意匠
|
商標
特許ウォッチ
Twitter
他の特許を見る
公開番号
2025132812
公報種別
公開特許公報(A)
公開日
2025-09-10
出願番号
2024030623
出願日
2024-02-29
発明の名称
車両
出願人
ダイハツ工業株式会社
代理人
個人
主分類
F02M
63/00 20060101AFI20250903BHJP(燃焼機関;熱ガスまたは燃焼生成物を利用する機関設備)
要約
【課題】緊急遮断弁が正常であるか否かを判定する。
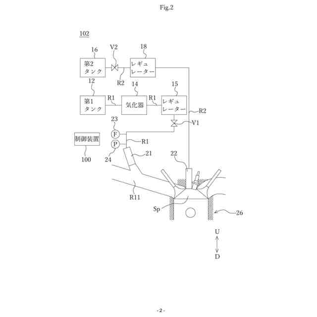
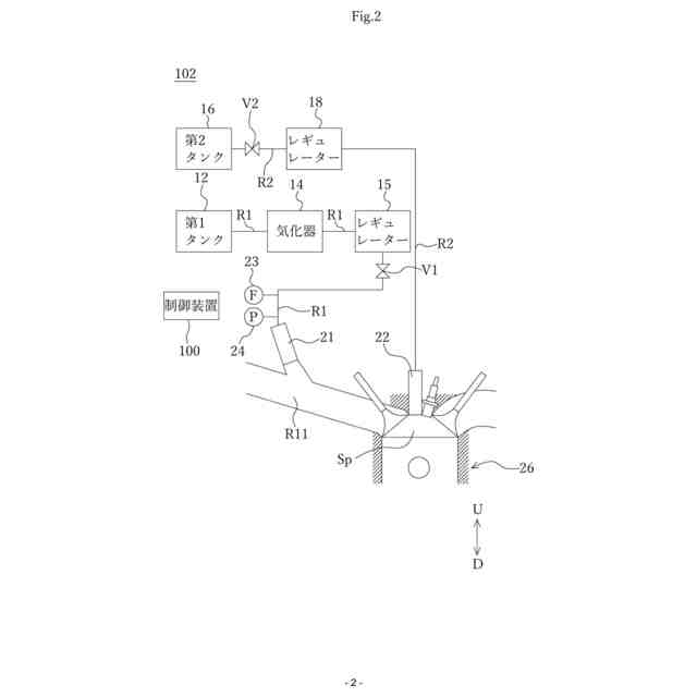
【解決手段】車両は、第1タンクと、第1配管と、インジェクタと、緊急遮断弁と、センサと、制御装置と、内燃機関と、を備えている。第1タンクは、アンモニアを収容する。第1配管は、第1タンクとインジェクタとを接続している。インジェクタは、内燃機関にアンモニアを供給するために、アンモニアを噴射する。緊急遮断弁は、第1配管に設けられており、かつ、第1配管を通過するアンモニアの量を調整する。センサは、第1配管において緊急遮断弁より下流でのアンモニアの流量または圧力を検出する。内燃機関は、アンモニアおよび水素を燃料として動力を発生する。制御装置は、内燃機関を停止する時に、緊急遮断弁を閉鎖すると共に、センサが検出したアンモニアの流量または第1配管内の圧力に基づいて、緊急遮断弁の状態が正常であるか否かを判定する。
【選択図】図2
特許請求の範囲
【請求項1】
車両は、第1タンクと、第1配管と、インジェクタと、緊急遮断弁と、センサと、制御装置と、内燃機関と、を備えており、
前記第1タンクは、アンモニアを収容し、
前記第1配管は、前記第1タンクと前記インジェクタとを接続しており、
前記インジェクタは、前記内燃機関に前記アンモニアを供給するために、前記アンモニアを噴射し、
前記緊急遮断弁は、前記第1配管に設けられており、かつ、前記第1配管を通過する前記アンモニアの量を調整し、
前記センサは、前記第1配管において前記緊急遮断弁より下流での前記アンモニアの流量または圧力を検出し、
前記内燃機関は、前記アンモニアおよび水素を燃料として動力を発生し、
前記制御装置は、前記内燃機関を停止する時に、前記緊急遮断弁を閉鎖すると共に、前記センサが検出した前記アンモニアの流量または前記第1配管内の圧力に基づいて、前記緊急遮断弁の状態が正常であるか否かを判定する、
車両。
続きを表示(約 450 文字)
【請求項2】
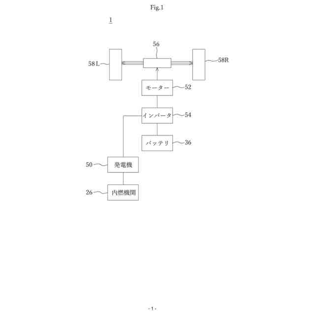
前記車両は、発電機と、モーターと、バッテリと、をさらに備えており、
前記発電機は、前記内燃機関の動力により動作させられることによって、電力を発生し、
前記バッテリは、前記発電機が発生した電力を蓄積し、
前記モーターは、前記バッテリが蓄積している電力および/または前記発電機が発生した電力により前記車両を走行させる動力を発生し、
前記内燃機関が停止され、前記バッテリが蓄積している電力により前記モーターが動力を発生するモードを第1走行モードと定義し、
前記アンモニアが供給されずに前記水素が供給されることにより前記内燃機関が動作しつつ、前記バッテリが蓄積している電力および/または前記発電機が発生した電力により前記モーターが動力を発生するモードを第2走行モードと定義し、
前記制御装置は、前記緊急遮断弁の状態が正常ではない場合、前記第1走行モードまたは前記第2走行モードのいずれを実行するかを判定する、
請求項1に記載の車両。
発明の詳細な説明
【技術分野】
【0001】
本発明は、車両に関する。
続きを表示(約 1,800 文字)
【背景技術】
【0002】
従来の車両に関する発明としては、例えば、特許文献1に記載のアンモニア燃焼内燃機関が知られている。このアンモニア燃焼内燃機関は、アンモニア噴射弁、アンモニア供給管、遮断弁およびアンモニア濃度センサを備えている。アンモニア供給管は、アンモニアをアンモニア噴射弁に供給するための配管である。遮断弁は、アンモニア供給管に設けられている。アンモニア濃度センサは、エンジンルーム内に設けられている。このようなアンモニア燃焼内燃機関では、遮断弁が開弁しているときに、アンモニア濃度センサによるアンモニアの漏洩の判断が行われる。
【先行技術文献】
【特許文献】
【0003】
特開2010-163908号公報
【発明の概要】
【発明が解決しようとする課題】
【0004】
ところで、特許文献1に記載のアンモニア燃焼内燃機関において、遮断弁が正常であるか否かを判定したいという要望がある。
【0005】
そこで、本発明の目的は、緊急遮断弁が正常であるか否かを判定できる車両を提供することである。
【課題を解決するための手段】
【0006】
第1側面は、
車両は、第1タンクと、第1配管と、インジェクタと、緊急遮断弁と、センサと、制御装置と、内燃機関と、を備えており、
前記第1タンクは、アンモニアを収容し、
前記第1配管は、前記第1タンクと前記インジェクタとを接続しており、
前記インジェクタは、前記内燃機関に前記アンモニアを供給するために、前記アンモニアを噴射し、
前記緊急遮断弁は、前記第1配管に設けられており、かつ、前記第1配管を通過する前記アンモニアの量を調整し、
前記センサは、前記第1配管において前記緊急遮断弁より下流での前記アンモニアの流量または圧力を検出し、
前記内燃機関は、前記アンモニアおよび水素を燃料として動力を発生し、
前記制御装置は、前記内燃機関を停止する時に、前記緊急遮断弁を閉鎖すると共に、前記センサが検出した前記アンモニアの流量または前記第1配管内の圧力に基づいて、前記緊急遮断弁の状態が正常であるか否かを判定する、
車両である。
【0007】
第2側面は、
前記車両は、発電機と、モーターと、バッテリと、をさらに備えており、
前記発電機は、前記内燃機関の動力により動作させられることによって、電力を発生し、
前記バッテリは、前記発電機が発生した電力を蓄積し、
前記モーターは、前記バッテリが蓄積している電力および/または前記発電機が発生した電力により前記車両を走行させる動力を発生し、
前記内燃機関が停止され、前記バッテリが蓄積している電力により前記モーターが動力を発生するモードを第1走行モードと定義し、
前記アンモニアが供給されずに前記水素が供給されることにより前記内燃機関が動作しつつ、前記バッテリが蓄積している電力および/または前記発電機が発生した電力により前記モーターが動力を発生するモードを第2走行モードと定義し、
前記制御装置は、前記緊急遮断弁の状態が正常ではない場合、前記第1走行モードまたは前記第2走行モードのいずれを実行するかを判定する、
第1側面に記載の車両である。
【0008】
第3側面は、
前記制御装置は、前記車両のアクセル操作の情報、前記車両のブレーキ操作の情報および前記バッテリの充電状態の情報に基づいて、前記第1走行モードまたは前記第2走行モードのいずれを実行するか判定する、
第2側面に記載の車両である。
【0009】
第4側面は、
前記内燃機関が停止され、前記モーターが動力を発生できないモードを駐車モードと定義し、
前記制御装置は、前記緊急遮断弁の状態が正常ではない場合、駐車モード、前記第1走行モードまたは前記第2走行モードのいずれを実行するかを判定する、
第3側面に記載の車両である。
【0010】
第5側面は、
前記制御装置は、前記車両が駐車しかつ前記緊急遮断弁の状態が正常ではない場合、前記駐車モードを実行する、
第4側面に記載の車両である。
【発明の効果】
(【0011】以降は省略されています)
この特許をJ-PlatPat(特許庁公式サイト)で参照する
関連特許
ダイハツ工業株式会社
車両構造
2日前
ダイハツ工業株式会社
制御装置
24日前
ダイハツ工業株式会社
制御装置
24日前
ダイハツ工業株式会社
小型電動車両
2日前
ダイハツ工業株式会社
小型電動車両
2日前
ダイハツ工業株式会社
電極研磨装置
2日前
ダイハツ工業株式会社
小型電動車両
2日前
ダイハツ工業株式会社
車両制御装置
6日前
ダイハツ工業株式会社
車両制御装置
6日前
ダイハツ工業株式会社
車両制御装置
9日前
ダイハツ工業株式会社
車両制御装置
9日前
ダイハツ工業株式会社
車両制御装置
9日前
ダイハツ工業株式会社
小型電動車両
2日前
ダイハツ工業株式会社
樹脂製アウタパネル部材
3日前
ダイハツ工業株式会社
樹脂製アウタパネル部材
4日前
ダイハツ工業株式会社
一酸化炭素製造システム
16日前
ダイハツ工業株式会社
ハイブリッド車両用制御装置
6日前
ダイハツ工業株式会社
車両
25日前
トヨタ自動車株式会社
車両
1か月前
トヨタ自動車株式会社
車両
27日前
トヨタ自動車株式会社
車両
1か月前
スズキ株式会社
車両の制御装置
18日前
ダイハツ工業株式会社
制御装置
24日前
ダイハツ工業株式会社
制御装置
24日前
ダイハツ工業株式会社
制御装置
24日前
スズキ株式会社
内燃機関の制御装置
27日前
個人
疑似可変サイクルジェットエンジン機構
1か月前
トヨタ自動車株式会社
車両の制御装置
16日前
トヨタ自動車株式会社
内燃機関
16日前
株式会社SUBARU
エンジン制御装置
24日前
株式会社SUBARU
エンジン制御装置
18日前
個人
流体式推力方向制御装置
6日前
株式会社IHI原動機
脈動減衰装置
16日前
朝日電装株式会社
スロットルグリップ装置
6日前
トヨタ自動車株式会社
内燃機関の制御装置
27日前
トヨタ自動車株式会社
閾値の設定装置
6日前
続きを見る
他の特許を見る