TOP
|
特許
|
意匠
|
商標
特許ウォッチ
Twitter
他の特許を見る
公開番号
2025146087
公報種別
公開特許公報(A)
公開日
2025-10-03
出願番号
2024046689
出願日
2024-03-22
発明の名称
小型電動車両
出願人
ダイハツ工業株式会社
,
豊田鉄工株式会社
代理人
個人
主分類
B62J
43/16 20200101AFI20250926BHJP(鉄道以外の路面車両)
要約
【課題】バッテリの着脱が容易である小型電動車両を提供する。
【解決手段】車両の前後にわたる左右一対のメインフレームと、前記メインフレームと交差するように延びるステアリングコラムと、走行用モータに電力を供給するバッテリと、を備え、前記左右一対のメインフレームのそれぞれは、斜め上前方に延びて前記ステアリングコラムに接続される傾斜部を有し、前記バッテリは、前記ステアリングコラムに沿うように前記傾斜部の間に配置される、小型電動車両。
【選択図】図4
特許請求の範囲
【請求項1】
車両の前後にわたる左右一対のメインフレームと、
前記メインフレームと交差するように延びるステアリングコラムと、
走行用モータに電力を供給するバッテリと、を備え、
前記左右一対のメインフレームのそれぞれは、斜め上前方に延びて前記ステアリングコラムに接続される傾斜部を有し、
前記バッテリは、前記ステアリングコラムに沿うように前記傾斜部の間に配置される、
小型電動車両。
続きを表示(約 140 文字)
【請求項2】
前記ステアリングコラムと前記傾斜部との間に架け渡された連結部材を有し、
前記連結部材は、前記車両の側方から見て、前記ステアリングコラムと前記傾斜部とともに三角形を構成するように、前記バッテリの下に配置されている、請求項1に記載の小型電動車両。
発明の詳細な説明
【技術分野】
【0001】
本発明は、小型電動車両に関する。
続きを表示(約 1,700 文字)
【背景技術】
【0002】
特許文献1は、走行モータなどに電力を供給するためのバッテリが車両の中央部に配置された1人乗りの電動車両を開示する。この電動車両は、前輪から後輪にかけて延設されたメインフレームと、メインフレームを覆うフロアカバーとを備える。メインフレームは、車両の前後方向に延在する左右一対のサイドフレームを有する。フロアカバーは、メインフレームの上側を覆う上面カバーを有する。バッテリは、フロアカバー内に配置され、左右のサイドフレームの間に設けられた空間に収容される。バッテリは、その長手方向を前後方向に向けた状態、即ち横向きに配置される。
【先行技術文献】
【特許文献】
【0003】
特開2020-189536号公報
【発明の概要】
【発明が解決しようとする課題】
【0004】
上記電動車両では、上面カバーに設けられた蓋を開くことにより、バッテリの着脱を行う。そのため、バッテリの着脱作業が煩雑である。
【0005】
本発明の目的の一つは、バッテリの着脱が容易である小型電動車両を提供することにある。
【課題を解決するための手段】
【0006】
(1)本発明の一態様に係る小型電動車両は、車両の前後にわたる左右一対のメインフレームと、前記メインフレームと交差するように延びるステアリングコラムと、走行用モータに電力を供給するバッテリと、を備える。前記左右一対のメインフレームのそれぞれは、斜め上前方に延びて前記ステアリングコラムに接続される傾斜部を有する。前記バッテリは、前記ステアリングコラムに沿うように前記傾斜部の間に配置される。
【0007】
(2)上記(1)に記載の小型電動車両は、前記ステアリングコラムと前記傾斜部との間に架け渡された連結部材を有してもよい。前記連結部材は、前記車両の側方から見て、前記ステアリングコラムと前記傾斜部とともに三角形を構成するように、前記バッテリの下に配置されている。
【発明の効果】
【0008】
上記(1)の小型電動車両は、ステアリングコラムに沿うようにバッテリを縦向きに配置することができる。よって、バッテリの着脱が容易である。バッテリに電源スイッチがある場合は、バッテリを電動車両に搭載した状態でバッテリの電源スイッチの操作もしやすい。また、重量物であるバッテリがステアリングコラムに沿うように配置されることで、前輪にかかる荷重を増加させることができる。よって、操縦安定性が向上する。さらに、バッテリが左右のメインフレームの傾斜部の間に配置されることで、バッテリを堅固に支持でき、かつ外部からの衝撃に対してバッテリを保護することができる。
【0009】
上記(2)の小型電動車両は、ステアリングコラムと傾斜部と連結部材とにより形成される三角形の空間にバッテリが配置される。この三角形で形成された構造は高い剛性を有する。そのため、外部からの衝撃に対するバッテリの保護性能が向上する。また、上記(2)の小型電動車両は、連結部材によって、メインフレームに対してステアリングコラムを強固に支持することができ、操縦安定性がさらに向上する。
【図面の簡単な説明】
【0010】
図1は、実施形態に係る小型電動車両の外観を示す概略斜視図である。
図2は、実施形態に係る小型電動車両の内部構造を示す概略側面図である。
図3は、実施形態に係る小型電動車両の車体フレームを示す概略斜視図である。
図4は、バッテリが取り付けられた状態を拡大して示す概略斜視図である。
図5は、バッテリが取り外された状態を拡大して示す概略斜視図である。
図6は、図3の車体フレームの一部を示す概略側面図である。
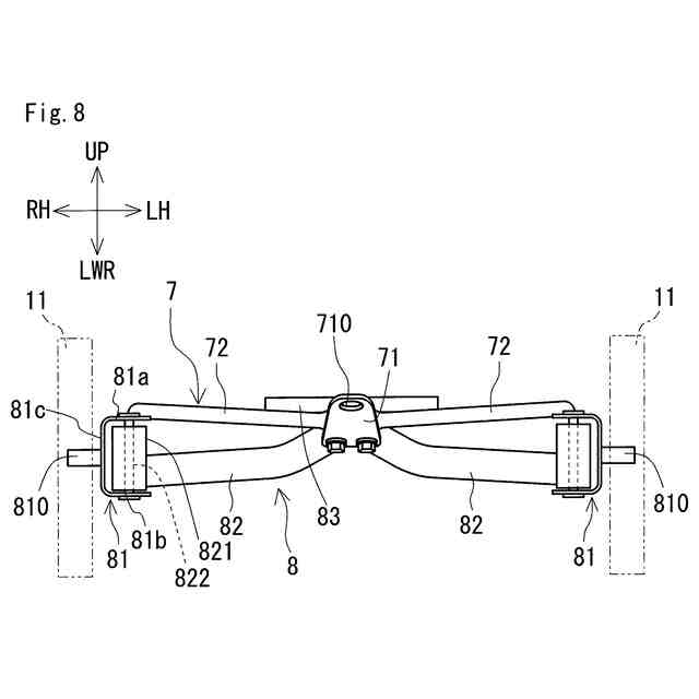
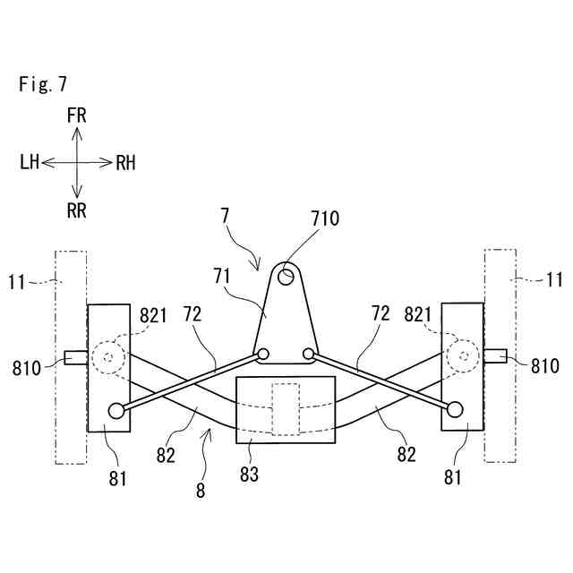
図7は、実施形態に係る小型電動車両に備える操舵機構および懸架装置を上方から見た概略上面図である。
図8は、実施形態に係る小型電動車両に備える操舵機構および懸架装置を前方から見た概略正面図である。
【発明を実施するための形態】
(【0011】以降は省略されています)
この特許をJ-PlatPat(特許庁公式サイト)で参照する
関連特許
ダイハツ工業株式会社
車両
27日前
ダイハツ工業株式会社
制御装置
26日前
ダイハツ工業株式会社
電池装置
1か月前
ダイハツ工業株式会社
測定用具
1か月前
ダイハツ工業株式会社
内燃機関
29日前
ダイハツ工業株式会社
制御装置
26日前
ダイハツ工業株式会社
制御装置
26日前
ダイハツ工業株式会社
車両構造
4日前
ダイハツ工業株式会社
変速機構
1か月前
ダイハツ工業株式会社
小型電動車両
4日前
ダイハツ工業株式会社
小型電動車両
4日前
ダイハツ工業株式会社
車両制御装置
8日前
ダイハツ工業株式会社
小型電動車両
4日前
ダイハツ工業株式会社
電極研磨装置
4日前
ダイハツ工業株式会社
車両制御装置
11日前
ダイハツ工業株式会社
車両制御装置
11日前
ダイハツ工業株式会社
車両制御装置
11日前
ダイハツ工業株式会社
車両制御装置
8日前
ダイハツ工業株式会社
小型電動車両
4日前
ダイハツ工業株式会社
樹脂成形用金型
1か月前
ダイハツ工業株式会社
トランスファー装置
1か月前
ダイハツ工業株式会社
二酸化炭素分解装置
27日前
ダイハツ工業株式会社
一酸化炭素製造システム
18日前
ダイハツ工業株式会社
樹脂製アウタパネル部材
6日前
ダイハツ工業株式会社
樹脂製アウタパネル部材
5日前
ダイハツ工業株式会社
車両における電力の制御方法
28日前
ダイハツ工業株式会社
ハイブリッド車両用制御装置
8日前
トヨタ自動車株式会社
電動車両
27日前
トヨタ自動車株式会社
電動車両
27日前
トヨタ自動車株式会社
電動車両
27日前
トヨタ自動車株式会社
電気自動車
27日前
ダイハツ工業株式会社
車両管理システムおよび情報処理装置
1か月前
トヨタ自動車株式会社
バッテリケース
27日前
トヨタ自動車株式会社
バッテリ搭載構造
27日前
トヨタ自動車株式会社
バッテリ搭載構造
27日前
トヨタ自動車株式会社
バッテリパックの搭載構造及び電気自動車
27日前
続きを見る
他の特許を見る