TOP
|
特許
|
意匠
|
商標
特許ウォッチ
Twitter
他の特許を見る
公開番号
2025146088
公報種別
公開特許公報(A)
公開日
2025-10-03
出願番号
2024046690
出願日
2024-03-22
発明の名称
小型電動車両
出願人
ダイハツ工業株式会社
,
豊田鉄工株式会社
代理人
個人
主分類
B62K
5/01 20130101AFI20250926BHJP(鉄道以外の路面車両)
要約
【課題】剛性が高い部分にサスペンション装置が取り付けられた小型電動車両を提供する。
【解決手段】車体の前後にわたって延びる車体フレームと、前記車体フレームの中間部から上方に向かって延びるシートポストと、前記シートポストの中間部と前記車体フレームの後部とをつなぐ上部フレームと、後輪を上下動可能に支持するアーム部を含むサスペンション装置とを備え、前記アーム部の一部が、前記車体フレームと前記シートポストと前記上部フレームとで囲まれた枠状部の内部に配置され、前記枠状部に固定されている、小型電動車両。
【選択図】図3
特許請求の範囲
【請求項1】
車体の前後にわたって延びる車体フレームと、
前記車体フレームの中間部から上方に向かって延びるシートポストと、
前記シートポストの中間部と前記車体フレームの後部とをつなぐ上部フレームと、
後輪を上下動可能に支持するアーム部を含むサスペンション装置とを備え、
前記アーム部の一部が、前記車体フレームと前記シートポストと前記上部フレームとで囲まれた枠状部の内部に配置され、前記枠状部に固定されている、
小型電動車両。
続きを表示(約 120 文字)
【請求項2】
前記サスペンション装置はショックアブソーバーを備え、
さらに、前記上部フレームに固定され、前記ショックアブソーバーの上端を固定するショックアブソーバー取付ブラケットを備える、請求項1に記載の小型電動車両。
発明の詳細な説明
【技術分野】
【0001】
本発明は、小型電動車両に関する。
続きを表示(約 1,500 文字)
【背景技術】
【0002】
特許文献1は、バッテリの電力によって駆動する小型電動車両を開示する。小型電動車両は、車体フレームと、車体フレームに取り付けられる車輪とを備える。車体フレームは、車両の前後方向に延びる左右一対のメインパイプと、二つのメインパイプを連結する複数のクロスメンバとを備える。
【0003】
特許文献1の小型電動車両では、左右の後輪がそれぞれ、車幅方向に延びるピボット軸によって車体フレームに対して片持ち状に支持されている。ピボット軸によって各後輪が上下動可能に構成されている。また、後輪の上下動を緩和するリヤサスペンションが、車体フレームに支持されている。ピボット軸、およびリヤサスペンションの上端はいずれも、車体フレームのクロスメンバに取り付けられていると考えられる。
【先行技術文献】
【特許文献】
【0004】
特開2007-76477号公報
【発明の概要】
【発明が解決しようとする課題】
【0005】
小型電動車両におけるサスペンション装置が取り付けられる部分の剛性が低いと、小型電動車両の乗り心地が悪化する恐れがある。
【0006】
本発明の目的の一つは、剛性が高い部分にサスペンション装置が取り付けられた小型電動車両を提供することにある。
【課題を解決するための手段】
【0007】
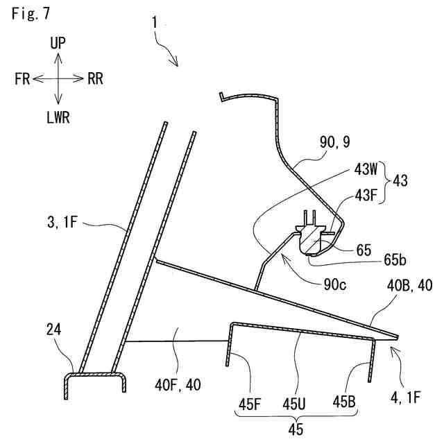
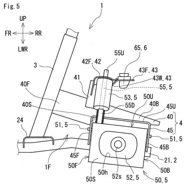
<1>本発明の一態様に係る小型電動車両は、車体の前後にわたって延びる車体フレームと、前記車体フレームの中間部から上方に向かって延びるシートポストと、前記シートポストの中間部と前記車体フレームの後部とをつなぐ上部フレームと、後輪を上下動可能に支持するアーム部を含むサスペンション装置とを備える。前記アーム部の一部が、前記車体フレームと前記シートポストと前記上部フレームとで囲まれた枠状部の内部に配置され、前記枠状部に固定されている。
【0008】
<2>上記<1>に記載される小型電動車両は、前記サスペンション装置はショックアブソーバーを備え、さらに、前記上部フレームに固定され、前記ショックアブソーバーの上端を固定するショックアブソーバー取付ブラケットを備えていても良い。
【発明の効果】
【0009】
上記<1>に記載される構成では、車体フレームとシートポストと上部フレームとは枠状につながることで互いに支え合っている。そのため、車体フレームとシートポストと上部フレームとで構成される枠状部は非常に高い剛性を備える。この高い剛性を備える枠状部の内部にサスペンション装置のアーム部の一部が配置され、かつそのアーム部の一部が枠状部に固定されることで、サスペンション装置の取付状態が安定する。また、シートポストが、車体フレームと上部フレームとでしっかりと支えられているため、シートポストに取り付けられるシートの取付状態も安定する。その結果、小型電動車両の乗り心地が向上する。
【0010】
上記<2>に記載される構成では、ショックアブソーバーの上端を固定するショックアブソーバー取付ブラケットが、高い剛性を備える枠状部の上部フレームに固定されるため、ショックアブソーバーの取付状態が安定する。また、ショックアブソーバーの上端が上部フレームの上方に配置されることで、ショックアブソーバーのストローク長が長くなり、小型電動車両の乗り心地が向上する。
【図面の簡単な説明】
(【0011】以降は省略されています)
この特許をJ-PlatPat(特許庁公式サイト)で参照する
関連特許
ダイハツ工業株式会社
車両
26日前
ダイハツ工業株式会社
車両構造
3日前
ダイハツ工業株式会社
制御装置
25日前
ダイハツ工業株式会社
測定用具
1か月前
ダイハツ工業株式会社
内燃機関
28日前
ダイハツ工業株式会社
制御装置
25日前
ダイハツ工業株式会社
制御装置
25日前
ダイハツ工業株式会社
車両制御装置
7日前
ダイハツ工業株式会社
車両制御装置
7日前
ダイハツ工業株式会社
車両制御装置
10日前
ダイハツ工業株式会社
車両制御装置
10日前
ダイハツ工業株式会社
車両制御装置
10日前
ダイハツ工業株式会社
小型電動車両
3日前
ダイハツ工業株式会社
小型電動車両
3日前
ダイハツ工業株式会社
小型電動車両
3日前
ダイハツ工業株式会社
電極研磨装置
3日前
ダイハツ工業株式会社
小型電動車両
3日前
ダイハツ工業株式会社
樹脂成形用金型
1か月前
ダイハツ工業株式会社
二酸化炭素分解装置
26日前
ダイハツ工業株式会社
樹脂製アウタパネル部材
5日前
ダイハツ工業株式会社
一酸化炭素製造システム
17日前
ダイハツ工業株式会社
樹脂製アウタパネル部材
4日前
ダイハツ工業株式会社
車両における電力の制御方法
27日前
ダイハツ工業株式会社
ハイブリッド車両用制御装置
7日前
トヨタ自動車株式会社
電動車両
26日前
トヨタ自動車株式会社
電動車両
26日前
トヨタ自動車株式会社
電動車両
26日前
トヨタ自動車株式会社
電気自動車
26日前
トヨタ自動車株式会社
バッテリケース
26日前
トヨタ自動車株式会社
バッテリ搭載構造
26日前
トヨタ自動車株式会社
バッテリ搭載構造
26日前
トヨタ自動車株式会社
バッテリパックの搭載構造及び電気自動車
26日前
個人
カート
3か月前
個人
走行装置
3か月前
個人
電動走行車両
3か月前
個人
乗り物
5か月前
続きを見る
他の特許を見る