TOP
|
特許
|
意匠
|
商標
特許ウォッチ
Twitter
他の特許を見る
10個以上の画像は省略されています。
公開番号
2025146102
公報種別
公開特許公報(A)
公開日
2025-10-03
出願番号
2024046708
出願日
2024-03-22
発明の名称
小型電動車両
出願人
ダイハツ工業株式会社
代理人
個人
主分類
B62K
5/01 20130101AFI20250926BHJP(鉄道以外の路面車両)
要約
【課題】走行中にバッテリの電源スイッチが操作されることを防止することができる小型電動車両を提供する。
【解決手段】キーによって回動操作が可能なキーシリンダと、走行用モータに電力を供給するバッテリと、前記バッテリの電源スイッチを覆う蓋と、前記キーシリンダの回動操作に連動して前記蓋をロックする蓋ロック機構と、を備え、前記蓋ロック機構は、前記キーシリンダが前記走行用モータを始動するON位置に回動された状態では前記蓋をロックし、前記キーシリンダが前記走行用モータを停止するOFF位置に回動された状態では前記蓋のロックを解除する、小型電動車両。
【選択図】図6
特許請求の範囲
【請求項1】
キーによって回動操作が可能なキーシリンダと、
走行用モータに電力を供給するバッテリと、
前記バッテリの電源スイッチを覆う蓋と、
前記キーシリンダの回動操作に連動して前記蓋をロックする蓋ロック機構と、を備え、
前記蓋ロック機構は、前記キーシリンダが前記走行用モータを始動するON位置に回動された状態では前記蓋をロックし、前記キーシリンダが前記走行用モータを停止するOFF位置に回動された状態では前記蓋のロックを解除する、
小型電動車両。
発明の詳細な説明
【技術分野】
【0001】
本発明は、小型電動車両に関する。
続きを表示(約 2,000 文字)
【背景技術】
【0002】
特許文献1は、バッテリをメインフレームに脱着可能に固定するロック手段を備える電動車両を開示する。ロック手段は、キーシリンダの回動操作に連動し、キーシリンダがバッテリロック解除位置まで回動したときに解除されるようになっている。
【先行技術文献】
【特許文献】
【0003】
特開2013-208945号公報
【発明の概要】
【発明が解決しようとする課題】
【0004】
電動車両の走行中に、使用者がバッテリの電源スイッチを誤って操作する場合がある。電動車両は、バッテリの電源スイッチがOFFになると、バッテリから走行用モータへの電力供給が停止するため、走行不能になる。したがって、電動車両の走行中にバッテリの電源スイッチが操作されることを防止することが望まれる。
【0005】
本発明の目的の一つは、走行中にバッテリの電源スイッチが操作されることを防止することができる小型電動車両を提供することにある。
【課題を解決するための手段】
【0006】
本発明の一態様に係る小型電動車両は、キーによって回動操作が可能なキーシリンダと、走行用モータに電力を供給するバッテリと、前記バッテリの電源スイッチを覆う蓋と、前記キーシリンダの回動操作に連動して前記蓋をロックする蓋ロック機構と、を備える。前記蓋ロック機構は、前記キーシリンダが前記走行用モータを始動するON位置に回動された状態では前記蓋をロックし、前記キーシリンダが前記走行用モータを停止するOFF位置に回動された状態では前記蓋のロックを解除する。
【発明の効果】
【0007】
上記小型電動車両は、キーシリンダがON位置のとき、蓋ロック機構によって蓋をロックする。そのため、上記小型電動車両は、走行中にバッテリの電源スイッチが操作されることを防止することができる。また、蓋ロック機構は、機械要素のみで構成することができる。機械要素のみで構成された蓋ロック機構は、電気信号を利用する電気部品を含まないため、簡易かつ安価に構成できる。
【図面の簡単な説明】
【0008】
図1は、実施形態に係る小型電動車両の外観を示す概略斜視図である。
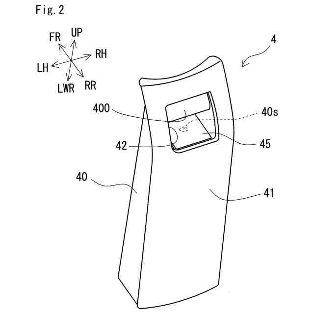
図2は、実施形態に係る小型電動車両に備えるバッテリの外観を示す概略斜視図である。
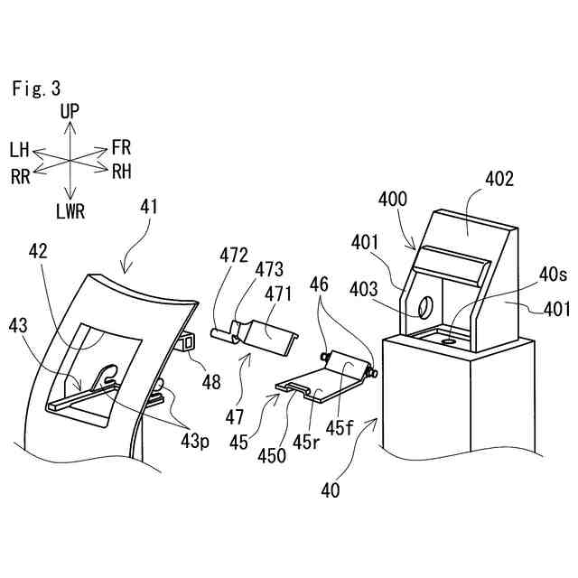
図3は、図2のバッテリの一部を示す概略分解斜視図である。
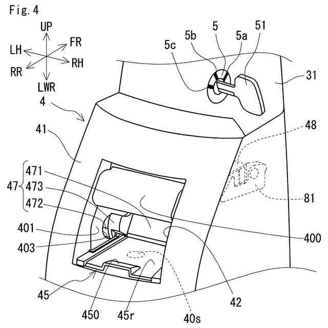
図4は、実施形態に係る小型電動車両におけるバッテリの搭載箇所を拡大して示す概略斜視図である。
図5は、実施形態に係る小型電動車両に備える蓋ロック機構による蓋のロックが解除された状態を説明する概略図である。
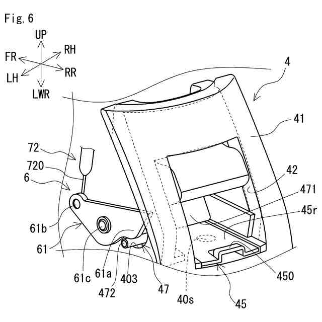
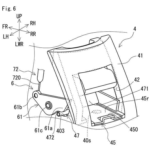
図6は、実施形態に係る小型電動車両に備える蓋ロック機構によって蓋がロックされた状態を説明する概略図である。
図7は、実施形態に係る小型電動車両に備える蓋ロック機構の構造を後方から見た概略斜視図である。
図8は、実施形態に係る小型電動車両に備える蓋ロック機構の構造を前方から見た概略斜視図である。
図9は、実施形態に係る小型電動車両に備えるバッテリロック機構によってバッテリがロックされた状態を説明する概略図である。
図10は、実施形態に係る小型電動車両に備えるバッテリロック機構によるバッテリのロックが解除された状態を説明する概略図である。
【発明を実施するための形態】
【0009】
本発明の実施形態に係る小型電動車両の具体例を、図面を参照して説明する。各図において、同一または相当する部分には同じ符号を付している。各図が示す部材の大きさは、説明を明確にする目的で表現されており、必ずしも実際の寸法を表すものではない。なお、図中、「FR」は車両の前方、「RR」は車両の後方、「LH」は車両の左方、「RH」は車両の右方、「UP」は車両の上方、「LWR」は車両の下方を示す。以下の説明における各部材の方向は、上記車両の方向を基準として説明する。
【0010】
<小型電動車両>
図1から図10を参照して実施形態に係る小型電動車両1を説明する。実施形態の小型電動車両1は、1人乗りの電動車両である。図1に示す実施例の小型電動車両1は、ハンドル形電動車いす(mobility scooter)である。ハンドル形電動車いすは、シニアカーと呼ばれることもある。小型電動車両1は、走行用モータ(図示せず)を搭載しており、走行用モータを駆動することで走行する。走行用モータには、バッテリ4から電力が供給される。この電力の供給・停止は、バッテリ4が備える電源スイッチ40s(図4)のON・OFFにより行われる。以下、「小型電動車両」を単に「電動車両」と呼ぶ。
(【0011】以降は省略されています)
この特許をJ-PlatPat(特許庁公式サイト)で参照する
関連特許
ダイハツ工業株式会社
車両
26日前
ダイハツ工業株式会社
制御装置
25日前
ダイハツ工業株式会社
電池装置
1か月前
ダイハツ工業株式会社
測定用具
1か月前
ダイハツ工業株式会社
内燃機関
28日前
ダイハツ工業株式会社
制御装置
25日前
ダイハツ工業株式会社
制御装置
25日前
ダイハツ工業株式会社
車両構造
3日前
ダイハツ工業株式会社
変速機構
1か月前
ダイハツ工業株式会社
小型電動車両
3日前
ダイハツ工業株式会社
小型電動車両
3日前
ダイハツ工業株式会社
車両制御装置
7日前
ダイハツ工業株式会社
小型電動車両
3日前
ダイハツ工業株式会社
電極研磨装置
3日前
ダイハツ工業株式会社
車両制御装置
10日前
ダイハツ工業株式会社
車両制御装置
10日前
ダイハツ工業株式会社
車両制御装置
10日前
ダイハツ工業株式会社
車両制御装置
7日前
ダイハツ工業株式会社
小型電動車両
3日前
ダイハツ工業株式会社
樹脂成形用金型
1か月前
ダイハツ工業株式会社
トランスファー装置
1か月前
ダイハツ工業株式会社
二酸化炭素分解装置
26日前
ダイハツ工業株式会社
一酸化炭素製造システム
17日前
ダイハツ工業株式会社
樹脂製アウタパネル部材
5日前
ダイハツ工業株式会社
樹脂製アウタパネル部材
4日前
ダイハツ工業株式会社
車両における電力の制御方法
27日前
ダイハツ工業株式会社
ハイブリッド車両用制御装置
7日前
トヨタ自動車株式会社
電動車両
26日前
トヨタ自動車株式会社
電動車両
26日前
トヨタ自動車株式会社
電動車両
26日前
トヨタ自動車株式会社
電気自動車
26日前
ダイハツ工業株式会社
車両管理システムおよび情報処理装置
1か月前
トヨタ自動車株式会社
バッテリケース
26日前
トヨタ自動車株式会社
バッテリ搭載構造
26日前
トヨタ自動車株式会社
バッテリ搭載構造
26日前
トヨタ自動車株式会社
バッテリパックの搭載構造及び電気自動車
26日前
続きを見る
他の特許を見る