TOP
|
特許
|
意匠
|
商標
特許ウォッチ
Twitter
他の特許を見る
公開番号
2025140530
公報種別
公開特許公報(A)
公開日
2025-09-29
出願番号
2024039990
出願日
2024-03-14
発明の名称
閾値の設定装置
出願人
トヨタ自動車株式会社
代理人
個人
,
個人
主分類
F02N
11/08 20060101AFI20250919BHJP(燃焼機関;熱ガスまたは燃焼生成物を利用する機関設備)
要約
【課題】携帯端末が車両の室内に位置しているときに、携帯端末が車両の室内に位置していないと誤検知されることを抑制する。
【解決手段】実行装置が室内携帯端末を検知したと判定しなかったとき(S21:NO)、実行装置は、ステップS22の処理により、閾値THを、規定量SAだけ小さく変更する。ステップS22の処理の後、実行装置が室内携帯端末を検知したと判定し(S23:YES)、実行装置が室外携帯端末を検知しないとき(S25:YES)、実行装置は、閾値THの設定を終了する。ステップS22の処理の後、実行装置が室外携帯端末を検知するとき(S25:YES)、実行装置は、ステップS26の処理により、閾値THを小さく変更した後の値よりも大きく変更する。実行装置は、閾値THを大きく変更した後に閾値THの設定を終了する。
【選択図】図5
特許請求の範囲
【請求項1】
車両に搭載されたアンテナが受信する携帯端末からの信号の強度が閾値以上であると前記携帯端末が前記車両の室内に存在していることを検知する検知装置の前記閾値を設定する設定装置であって、
前記検知装置が前記室内に位置する室内携帯端末を検知しないとき、前記閾値を変更前よりも小さく変更することと、
前記閾値を小さく変更した後に、前記検知装置が前記室内携帯端末を検知し、かつ前記車両の室外に位置する室外携帯端末を検知しないとき、前記閾値の設定変更を終了することと、
前記閾値を小さく変更した後に、前記検知装置が前記室外前記携帯端末を検知したとき、前記閾値を小さく変更した後の値よりも大きく変更することと、
前記閾値を大きく変更した後に、前記閾値の設定を終了することと、を実行する
閾値の設定装置。
続きを表示(約 450 文字)
【請求項2】
前記室外携帯端末は、前記車両を上面視したときに、前記室外のうち、前記アンテナに最も近い箇所から許容される許容距離だけ前記アンテナから離れた位置に位置している
請求項1に記載の閾値の設定装置。
【請求項3】
前記室内携帯端末は、前記車両を上面視したときに、前記車両のシートのうち、前記アンテナから最も離れている前記シート上に位置している
請求項1に記載の閾値の設定装置。
【請求項4】
前記閾値を小さく変更した後に、前記検知装置が前記室内携帯端末を検知したとき、前記室内携帯端末へ前記信号の送信を停止する要求を送信することを、さらに実行する
請求項1に記載の閾値の設定装置。
【請求項5】
前記検知装置は、前記車両のスイッチが操作されることで前記車両の駆動装置の始動が要求されたときに、前記携帯端末が前記室内に存在することを検知すると、前記駆動装置の始動を許可する
請求項1に記載の閾値の設定装置。
発明の詳細な説明
【技術分野】
【0001】
本発明は、閾値の設定装置に関する。
続きを表示(約 1,500 文字)
【背景技術】
【0002】
特許文献1に記載の車両は、アンテナを備えている。アンテナは、携帯端末から送信された信号を受信する。車両の検知装置は、アンテナが携帯端末から受信した信号の強さが閾値を超えると、携帯端末が車両の室内に存在することを検知する。
【先行技術文献】
【特許文献】
【0003】
特開2019-060189号公報
【発明の概要】
【発明が解決しようとする課題】
【0004】
特許文献1に記載のような検知装置では、閾値が過度に高く設定されていると、アンテナによって携帯端末を検知する範囲が過度に狭くなってしまう。そのため、携帯端末が室内に位置していても、検知装置は、携帯端末が室内に位置していないと誤検知してしまうおそれがある。
【課題を解決するための手段】
【0005】
上記課題を解決するため、本発明は、車両に搭載されたアンテナが受信する携帯端末からの信号の強度が閾値以上であると前記携帯端末が前記車両の室内に存在していることを検知する検知装置の前記閾値を設定する設定装置であって、前記検知装置が前記室内に位置する室内携帯端末を検知しないとき、前記閾値を変更前よりも小さく変更することと、前記閾値を小さく変更した後に、前記検知装置が前記室内携帯端末を検知し、かつ前記車両の室外に位置する室外携帯端末を検知しないとき、前記閾値の設定変更を終了することと、前記閾値を小さく変更した後に、前記検知装置が前記室外前記携帯端末を検知したとき、前記閾値を小さく変更した後の値よりも大きく変更することと、前記閾値を大きく変更した後に、前記閾値の設定を終了することと、を実行する閾値の設定装置である。
【0006】
上記構成によれば、設定装置は、携帯端末が車両の室内に位置しているときに、検知装置によって携帯端末が車両の室内に位置していないと誤検知されることを抑制できる。
【図面の簡単な説明】
【0007】
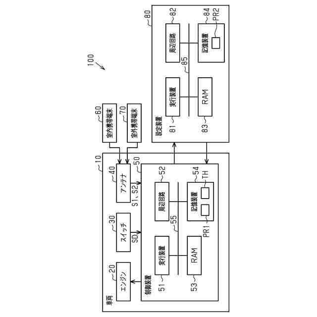
図1は、車両を示す概略図である。
図2は、制御装置の携帯端末の検知を含む一連の処理を示すフローチャートである。
図3は、設定装置を備える設定システムを示す概略図である。
図4は、設定システムにおける位置関係を説明する説明図である。
図5は、設定装置が行う閾値の変更を含む一連の処理を示すフローチャートである。
【発明を実施するための形態】
【0008】
(一実施形態)
以下、閾値の設定装置の一実施形態について説明する。まず、閾値THを記憶する制御装置50を備える車両10について説明する。
【0009】
<車両の概略>
図1に示すように、車両10は、エンジン20と、スイッチ30と、アンテナ40と、制御装置50と、を備えている。エンジン20は、車両10を駆動させる駆動装置である。スイッチ30は、ユーザに操作されることにより、エンジン20の始動要求SDを示す信号を制御装置50へ出力する。
【0010】
アンテナ40は、車両10に搭載されている。アンテナ40は、携帯端末90から送信された信号を受信する。本実施形態では、携帯端末90は、デジタルキーを有する携帯電話である。アンテナ40は、携帯端末90から受信した信号の強度を示す強度信号SSを制御装置50へ出力する。制御装置50は、スイッチ30から始動要求SDを示す信号を取得する。制御装置50は、アンテナ40から強度信号SSを取得する。制御装置50は、取得した信号に基づいて、エンジン20を制御する。
(【0011】以降は省略されています)
この特許をJ-PlatPat(特許庁公式サイト)で参照する
関連特許
トヨタ自動車株式会社
車両
13日前
トヨタ自動車株式会社
方法
6日前
トヨタ自動車株式会社
方法
4日前
トヨタ自動車株式会社
電池
4日前
トヨタ自動車株式会社
車両
25日前
トヨタ自動車株式会社
車両
4日前
トヨタ自動車株式会社
方法
5日前
トヨタ自動車株式会社
方法
5日前
トヨタ自動車株式会社
車両
5日前
トヨタ自動車株式会社
車両
6日前
トヨタ自動車株式会社
電池
21日前
トヨタ自動車株式会社
車両
今日
トヨタ自動車株式会社
車体
7日前
トヨタ自動車株式会社
電池
20日前
トヨタ自動車株式会社
電池
11日前
トヨタ自動車株式会社
車両
19日前
トヨタ自動車株式会社
車両
11日前
トヨタ自動車株式会社
車両
18日前
トヨタ自動車株式会社
椅子
14日前
トヨタ自動車株式会社
方法
14日前
トヨタ自動車株式会社
車両
25日前
トヨタ自動車株式会社
方法
14日前
トヨタ自動車株式会社
電磁弁
14日前
トヨタ自動車株式会社
モータ
12日前
トヨタ自動車株式会社
電動車
25日前
トヨタ自動車株式会社
サーバ
1日前
トヨタ自動車株式会社
ケース
20日前
トヨタ自動車株式会社
電動車
25日前
トヨタ自動車株式会社
正極層
4日前
トヨタ自動車株式会社
自動車
5日前
トヨタ自動車株式会社
固定子
19日前
トヨタ自動車株式会社
モータ
1日前
トヨタ自動車株式会社
電動車
14日前
トヨタ自動車株式会社
モータ
6日前
トヨタ自動車株式会社
電動車
25日前
トヨタ自動車株式会社
電動機
4日前
続きを見る
他の特許を見る