TOP
|
特許
|
意匠
|
商標
特許ウォッチ
Twitter
他の特許を見る
公開番号
2025144856
公報種別
公開特許公報(A)
公開日
2025-10-03
出願番号
2024044742
出願日
2024-03-21
発明の名称
シリンダ加熱装置
出願人
トヨタ自動車株式会社
代理人
弁理士法人酒井国際特許事務所
主分類
F02N
19/02 20100101AFI20250926BHJP(燃焼機関;熱ガスまたは燃焼生成物を利用する機関設備)
要約
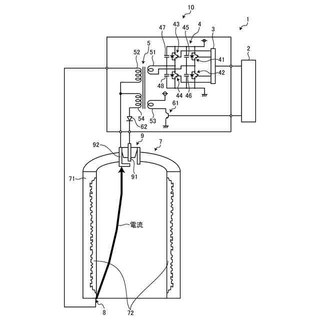
【課題】シリンダライナーに電流を流すための電極の設置場所の確保が容易なシリンダ加熱装置を提供すること。
【解決手段】本発明のシリンダ加熱装置は、直流電源から出力された直流電流を高周波の交流電流に変換する電力変換装置と、電力変換装置と電気的に接続される一次側コイル、及び、内燃機関に設けられたシリンダブロックにおけるシリンダの軸線方向でシリンダライナーの一方側と他方側とにそれぞれ対応させて設けられた電極と電気的に接続される二次側コイル、を有するトランスと、を備えるシリンダ加熱装置であって、一方側の電極はシリンダブロックの下部に電気的に接続されており、他方側の電極は点火プラグの接地電極である。
【選択図】図1
特許請求の範囲
【請求項1】
直流電源から出力された直流電流を高周波の交流電流に変換する電力変換装置と、
前記電力変換装置と電気的に接続される一次側コイル、及び、内燃機関に設けられたシリンダブロックにおけるシリンダの軸線方向でシリンダライナーの一方側と他方側とにそれぞれ対応させて設けられた電極と電気的に接続される二次側コイル、を有するトランスと、
を備えるシリンダ加熱装置であって、
前記一方側の電極は前記シリンダブロックの下部に電気的に接続されており、
前記他方側の電極は点火プラグの接地電極であることを特徴とするシリンダ加熱装置。
続きを表示(約 86 文字)
【請求項2】
前記点火プラグに接続された点火コイルのケース内に、前記電力変換装置及び前記トランスを設けたことを特徴とする請求項1に記載のシリンダ加熱装置。
発明の詳細な説明
【技術分野】
【0001】
本発明は、シリンダ加熱装置に関する。
続きを表示(約 1,100 文字)
【背景技術】
【0002】
特許文献1には、電気式ヒータを用いてシリンダライナーを加熱するシリンダ加熱装置が開示されている。
【先行技術文献】
【特許文献】
【0003】
特開2005-171886号公報
【発明の概要】
【発明が解決しようとする課題】
【0004】
特許文献1に開示されたシリンダ加熱装置では、シリンダライナーと電源との間に電気式ヒータを介在させているため、シリンダライナーの加熱時に、電気式ヒータによるエネルギーロスが発生してしまう。そのため、シリンダライナーに直接電流を流すことも考えられるが、シリンダライナーの上部は、シリンダブロックにガスケットとシリンダヘッドとが積み重なった場所のため、シリンダライナーに電流を流すための電極の設置場所の確保が難しい。
【0005】
本発明は、上記課題に鑑みてなされたものであって、その目的は、シリンダライナーに電流を流すための電極の設置場所の確保が容易なシリンダ加熱装置を提供することである。
【課題を解決するための手段】
【0006】
上述した課題を解決し、目的を達成するために、本発明に係るシリンダ加熱装置は、直流電源から出力された直流電流を高周波の交流電流に変換する電力変換装置と、前記電力変換装置と電気的に接続される一次側コイル、及び、内燃機関に設けられたシリンダブロックにおけるシリンダの軸線方向でシリンダライナーの一方側と他方側とにそれぞれ対応させて設けられた電極と電気的に接続される二次側コイル、を有するトランスと、を備えるシリンダ加熱装置であって、前記一方側の電極は前記シリンダブロックの下部に電気的に接続されており、前記他方側の電極は点火プラグの接地電極であることを特徴とするものである。
【0007】
これにより、本発明に係るシリンダ加熱装置は、シリンダライナーに電流を流すための電極の設置場所の確保を容易に満足することができる。
【0008】
また、上記において、前記点火プラグに接続された点火コイルのケース内に、前記電力変換装置及び前記トランスを設けてもよい。
【0009】
これにより、電力変換装置とトランスとの設置場所の確保を容易に満足することができる。
【発明の効果】
【0010】
本発明に係るシリンダ加熱装置は、シリンダライナーに電流を流すための電極の設置場所の確保を容易に満足することができるという効果を奏する。
【図面の簡単な説明】
(【0011】以降は省略されています)
この特許をJ-PlatPat(特許庁公式サイト)で参照する
関連特許
トヨタ自動車株式会社
車両
2日前
トヨタ自動車株式会社
車両
2日前
トヨタ自動車株式会社
電動車
2日前
トヨタ自動車株式会社
電動車
2日前
トヨタ自動車株式会社
回転子
2日前
トヨタ自動車株式会社
電解液
2日前
トヨタ自動車株式会社
電動車
2日前
トヨタ自動車株式会社
切断装置
2日前
トヨタ自動車株式会社
蓄電装置
2日前
トヨタ自動車株式会社
蓄電セル
2日前
トヨタ自動車株式会社
駆動装置
2日前
トヨタ自動車株式会社
電源装置
2日前
トヨタ自動車株式会社
電動車両
2日前
トヨタ自動車株式会社
制御装置
2日前
トヨタ自動車株式会社
電池パック
2日前
トヨタ自動車株式会社
シフト機構
2日前
トヨタ自動車株式会社
電極積層体
3日前
トヨタ自動車株式会社
積層構造体
2日前
トヨタ自動車株式会社
電気自動車
2日前
トヨタ自動車株式会社
情報処理装置
2日前
トヨタ自動車株式会社
車両制御装置
2日前
トヨタ自動車株式会社
充電システム
2日前
トヨタ自動車株式会社
コネクタ構造
2日前
トヨタ自動車株式会社
車両診断装置
2日前
トヨタ自動車株式会社
空間評価装置
2日前
トヨタ自動車株式会社
駐車支援方法
2日前
トヨタ自動車株式会社
熱管理システム
2日前
トヨタ自動車株式会社
熱管理システム
2日前
トヨタ自動車株式会社
熱管理システム
2日前
トヨタ自動車株式会社
重量物収容装置
2日前
トヨタ自動車株式会社
熱管理システム
2日前
トヨタ自動車株式会社
車両の制御装置
3日前
トヨタ自動車株式会社
車両の制御装置
2日前
トヨタ自動車株式会社
遠隔支援システム
2日前
トヨタ自動車株式会社
製造設備及び方法
2日前
トヨタ自動車株式会社
車両運行管理装置
2日前
続きを見る
他の特許を見る