TOP
|
特許
|
意匠
|
商標
特許ウォッチ
Twitter
他の特許を見る
公開番号
2025145421
公報種別
公開特許公報(A)
公開日
2025-10-03
出願番号
2024045597
出願日
2024-03-21
発明の名称
重量物収容装置
出願人
トヨタ自動車株式会社
代理人
弁理士法人太陽国際特許事務所
主分類
H01M
50/267 20210101AFI20250926BHJP(基本的電気素子)
要約
【課題】幅寸法の異なる重量物を収容可能な重量物収容装置を得る。
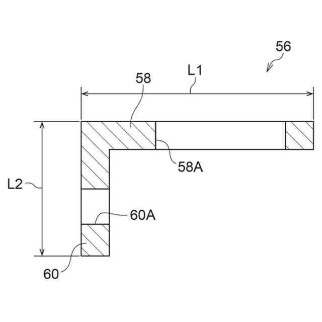
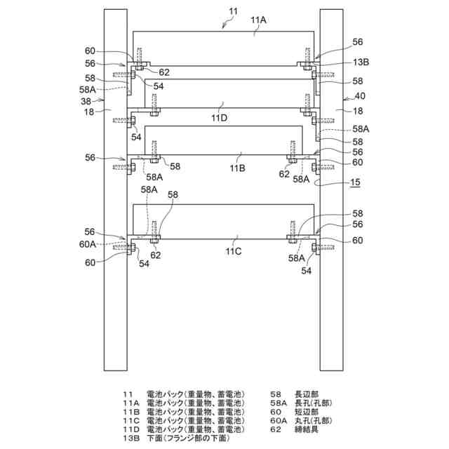
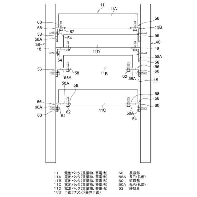
【解決手段】一対のアタッチメント56によって電池パック11の幅方向の両端部が支持される。当該アタッチメント56は、略直交して形成され長さ方向の寸法が異なる長辺部58、短辺部60を含んで構成されており、長辺部58、短辺部60は、柱部材18、電池パック11に対してそれぞれ固定可能とされている。これにより、例えば、幅寸法が小さい電池パック11Bの場合、アタッチメント56の長辺部58によって支持され、幅寸法が大きい電池パック11Aの場合は、アタッチメント56の短辺部60によって支持される。このように、幅寸法の異なる電池パック11A、11B等に対して一種類のアタッチメント56で支持することが可能となる。
【選択図】図2
特許請求の範囲
【請求項1】
複数の重量物を高さ方向に多段に収納し、略水平方向に沿って前記重量物を出入させる出入口を有する枠部材で構成され、
前記枠部材の高さ方向に沿って延在された複数の柱部材と、
前記枠部材の奥行き方向に配置された複数の前記柱部材に対して略水平方向に沿って延在され前記重量物の出入方向に対して略直交する当該重量物の幅方向の両端部をそれぞれ支持する一対のアタッチメントと、
を備え、
前記アタッチメントは、
延在方向に対して略直交する二方向に沿った長さ方向の寸法が互いに異なり、相対的に前記長さ方向の寸法が長く形成された長辺部と、前記長辺部よりも前記長さ方向の寸法が短く形成された短辺部と、を含んで構成され、
前記長辺部と前記短辺部は前記柱部材及び前記重量物に対してそれぞれ固定可能とされている重量物収容装置。
続きを表示(約 810 文字)
【請求項2】
前記長辺部及び前記短辺部には、締結具を介して当該長辺部及び当該短辺部を前記柱部材又は前記重量物に対してそれぞれ固定可能にする孔部が設けられている請求項1に記載の重量物収容装置。
【請求項3】
前記長辺部及び前記短辺部のうち少なくとも一方の前記孔部は、前記長さ方向に沿って形成された長孔とされている請求項2に記載の重量物収容装置。
【請求項4】
前記長辺部及び前記短辺部のうち少なくとも一方の前記孔部は、前記長さ方向に沿って複数形成された丸孔とされている請求項2に記載の重量物収容装置。
【請求項5】
前記アタッチメントは、延在方向から見たときの形状が略L字状を成している請求項1に記載の重量物収容装置。
【請求項6】
前記柱部材における高さ方向に沿って形成され、締結具を介して前記長辺部又は前記短辺部を当該柱部材に対して固定可能にする複数の第1固定孔が設けられている請求項1に記載の重量物収容装置。
【請求項7】
前記重量物の幅方向の両端のうち少なくとも一方には、当該重量物の幅方向の外側へ向かって張り出すフランジ部が形成され、前記長辺部又は前記短辺部は、前記フランジ部の下面に対して当接し固定可能とされている請求項1に記載の重量物収容装置。
【請求項8】
前記長辺部及び前記短辺部には、締結具を介して当該長辺部及び当該短辺部を前記柱部材又は前記重量物に対してそれぞれ固定可能にする孔部が設けられ、
前記フランジ部には、前記重量物の出入方向に沿って複数の第2固定孔が形成され、前記孔部は、前記第2固定孔に対応して前記アタッチメントの延在方向に沿って複数形成されている請求項7に記載の重量物収容装置。
【請求項9】
前記重量物は蓄電池とされている請求項1に記載の重量物収容装置。
発明の詳細な説明
【技術分野】
【0001】
本発明は、重量物収容装置に関する。
続きを表示(約 1,600 文字)
【背景技術】
【0002】
下記特許文献1には、蓄電池を複数収納可能な蓄電池収納箱と、蓄電池収納箱を複数収納可能な収納箱格納体と、で構成される蓄電池収納装置に関する技術が開示されている。蓄電池収納装置の具体的な構造は、一対の側部フレームのそれぞれに、側部フレームの前側枠部材と後側枠部材とに亘って断面がL字形状の鋼材からなるレール状の棚が取り付けられている。この棚は、収納される蓄電池収納箱と同様に複数取り付けられており、これらの棚が収納箱収納体の奥行き方向に沿って蓄電池収納箱の幅方向の両側部の下方から支持するというものである。
【先行技術文献】
【特許文献】
【0003】
特開2001-015090号公報
【発明の概要】
【発明が解決しようとする課題】
【0004】
上記先行文献では、蓄電池収納装置において幅寸法が同一の蓄電池が収納される。しかしながら、収納対象となる蓄電池収納箱が他の様々な用途で使用した再利用品となる場合、異なる幅寸法の蓄電池収納箱を蓄電池収納装置に収納する必要が生じる。
【0005】
この場合、蓄電池(重量物)の幅寸法に応じた専用の収納箱或いはアタッチメントを準備する必要が生じ、部品点数が増加することになる。これにより、先行技術では、収納(収容)作業が繁雑になり、部品の共通化が困難になり高コスト化を招く可能性がある。
【0006】
本発明は上記事実を考慮し、幅寸法の異なる重量物を収容可能な重量物収容装置を提供することを目的とする。
【課題を解決するための手段】
【0007】
請求項1記載の発明に係る重量物収容装置は、複数の重量物を高さ方向に多段に収納し、略水平方向に沿って前記重量物を出入させる出入口を有する枠部材で構成され、前記枠部材の高さ方向に沿って延在された複数の柱部材と、前記枠部材の奥行き方向に配置された複数の前記柱部材に対して略水平方向に沿って延在され前記重量物の出入方向に対して略直交する当該重量物の幅方向の端部をそれぞれ支持する一対のアタッチメントと、を備え、前記アタッチメントは、延在方向に対して略直交する二方向に沿った長さ方向の寸法が互いに異なり、相対的に前記長さ方向の寸法が長く形成された長辺部と、前記長辺部よりも前記長さ方向の寸法が短く形成された短辺部と、を含んで構成され、前記長辺部と前記短辺部は前記柱部材及び前記重量物に対してそれぞれ固定可能とされている。
【0008】
請求項1記載の発明に係る重量物収容装置では、複数の重量物を高さ方向に多段に収納する枠部材で構成されており、当該枠部材には、略水平方向に沿って重量物を出入させる出入口が設けられている。枠部材の高さ方向に沿って柱部材が延在されている。また、枠部材の奥行き方向に配置された複数の柱部材に対して略水平方向に沿って一対のアタッチメントが延在されており、当該一対のアタッチメントによって重量物の幅方向の両端部が支持される。
【0009】
ここで、当該アタッチメントは、延在方向に対して略直交する二方向に沿った長さ方向の寸法が互いに異なる長辺部及び短辺部を含んで構成されている。長辺部は、相対的に長さ方向の寸法が長く形成されており、短辺部は長辺部よりも長さ方向の寸法が短く形成されている。当該長辺部と当該短辺部は、柱部材及び重量物に対してそれぞれ固定可能とされている
【0010】
例えば、アタッチメントの長辺部が柱部材に固定された状態では、アタッチメントの短辺部は重量物に固定され、アタッチメントの短辺部が柱部材に固定された状態では、アタッチメントの長辺部は重量物に固定される。
(【0011】以降は省略されています)
この特許をJ-PlatPat(特許庁公式サイト)で参照する
関連特許
トヨタ自動車株式会社
車両
4日前
トヨタ自動車株式会社
電池
今日
トヨタ自動車株式会社
電池
8日前
トヨタ自動車株式会社
車両
8日前
トヨタ自動車株式会社
車両
18日前
トヨタ自動車株式会社
車両
4日前
トヨタ自動車株式会社
回転子
4日前
トヨタ自動車株式会社
サーバ
12日前
トヨタ自動車株式会社
回転子
19日前
トヨタ自動車株式会社
ロータ
6日前
トヨタ自動車株式会社
電解液
4日前
トヨタ自動車株式会社
電動車
今日
トヨタ自動車株式会社
モータ
19日前
トヨタ自動車株式会社
電動車
6日前
トヨタ自動車株式会社
電動車
4日前
トヨタ自動車株式会社
電動車
4日前
トヨタ自動車株式会社
電動車
4日前
トヨタ自動車株式会社
電動車
18日前
トヨタ自動車株式会社
冷却装置
18日前
トヨタ自動車株式会社
表示装置
20日前
トヨタ自動車株式会社
検査装置
8日前
トヨタ自動車株式会社
給電装置
18日前
トヨタ自動車株式会社
蓄電装置
8日前
トヨタ自動車株式会社
蓄電セル
4日前
トヨタ自動車株式会社
切断装置
4日前
トヨタ自動車株式会社
育苗装置
5日前
トヨタ自動車株式会社
制御装置
19日前
トヨタ自動車株式会社
二次電池
8日前
トヨタ自動車株式会社
制御装置
18日前
トヨタ自動車株式会社
蓄電装置
8日前
トヨタ自動車株式会社
電源装置
4日前
トヨタ自動車株式会社
蓄電装置
5日前
トヨタ自動車株式会社
制御装置
8日前
トヨタ自動車株式会社
蓄電装置
5日前
トヨタ自動車株式会社
冷却構造
11日前
トヨタ自動車株式会社
内燃機関
18日前
続きを見る
他の特許を見る