TOP
|
特許
|
意匠
|
商標
特許ウォッチ
Twitter
他の特許を見る
10個以上の画像は省略されています。
公開番号
2025145335
公報種別
公開特許公報(A)
公開日
2025-10-03
出願番号
2024045453
出願日
2024-03-21
発明の名称
製造設備及び方法
出願人
トヨタ自動車株式会社
代理人
個人
,
個人
,
個人
,
個人
主分類
B23P
21/00 20060101AFI20250926BHJP(工作機械;他に分類されない金属加工)
要約
【課題】飛行体の組立てエリアの省スペース化を図る。
【解決手段】複数階建ての製造設備20が、第1階21で組み立てられた飛行体の本体11を第1階21よりも上の第2階22まで移動させ、第2階22で本体11に1つ以上の部品が取り付けられた後、1つ以上の部品が取り付けられた本体11を第2階22よりも上の第3階23まで移動させる移動機構30を備える。
【選択図】図6
特許請求の範囲
【請求項1】
複数階建ての製造設備であって、
第1階で組み立てられた飛行体の本体を前記第1階よりも上の第2階まで移動させ、
前記第2階で前記本体に1つ以上の部品が取り付けられた後、前記1つ以上の部品が取り付けられた前記本体を前記第2階よりも上の第3階まで移動させる
移動機構を備える製造設備。
続きを表示(約 940 文字)
【請求項2】
前記第2階に、穴が開けられたフロアを備え、
前記移動機構は、前記本体を、前記第2階の前記穴を通じて前記第2階まで移動させる、請求項1に記載の製造設備。
【請求項3】
前記移動機構は、前記本体を載せて、前記第2階の前記穴を通じて上向きに移動するコンベアを有する、請求項2に記載の製造設備。
【請求項4】
前記フロアには、前記本体に前記1つ以上の部品を取り付ける作業員のための水平移動可能な足場が設けられ、
前記移動機構は、前記本体を前記第2階まで移動させると、前記足場を前記第2階の前記穴の周縁よりも前記本体の近くまで移動させる、請求項2に記載の製造設備。
【請求項5】
前記第3階に、穴が開けられた別のフロアを備え、
前記移動機構は、前記1つ以上の部品が取り付けられた前記本体を、前記第3階の前記穴を通じて前記第3階まで移動させる、請求項2に記載の製造設備。
【請求項6】
前記第2階の前記穴は、前記本体の形状に応じた形状であり、
前記第3階の前記穴は、前記第2階の前記穴よりも大きく、前記1つ以上の部品が取り付けられた前記本体の形状に応じた形状である、請求項5に記載の製造設備。
【請求項7】
前記本体が置かれる垂直移動可能なフロアを更に備え、
前記移動機構は、前記フロアを前記第1階から前記第2階まで移動させることで、前記本体を前記第2階まで移動させる、請求項1に記載の製造設備。
【請求項8】
前記移動機構は、前記フロアを突き上げて移動させる棒を有する、請求項7に記載の製造設備。
【請求項9】
前記移動機構は、前記フロアを摺動自在に支持するレールを有する、請求項7に記載の製造設備。
【請求項10】
前記移動機構は、
前記フロアを前記第2階まで移動させると、前記本体に前記1つ以上の部品を取り付ける作業が終わるまで前記フロアをロックし、
前記フロアのロックを解除すると、前記フロアを前記第3階まで移動させる、請求項7に記載の製造設備。
(【請求項11】以降は省略されています)
発明の詳細な説明
【技術分野】
【0001】
本開示は、製造設備及び方法に関する。
続きを表示(約 1,600 文字)
【背景技術】
【0002】
特許文献1には、飛行体の工場の組立てラインが開示されている。
【先行技術文献】
【特許文献】
【0003】
特開2022-081433号公報
【発明の概要】
【発明が解決しようとする課題】
【0004】
従来の工場は、飛行体の組立てに広いスペースを必要とするため、立地が課題の1つになっている。
【0005】
本開示の目的は、飛行体の組立てエリアの省スペース化である。
【課題を解決するための手段】
【0006】
本開示に係る製造設備は、
複数階建ての製造設備であって、
第1階で組み立てられた飛行体の本体を前記第1階よりも上の第2階まで移動させ、
前記第2階で前記本体に1つ以上の部品が取り付けられた後、前記1つ以上の部品が取り付けられた前記本体を前記第2階よりも上の第3階まで移動させる
移動機構を備える。
【0007】
本開示に係る方法は、
第1階で前記飛行体の本体を組み立てることと、
前記本体を前記第1階よりも上の第2階まで移動させることと、
前記第2階で前記本体に1つ以上の部品を取り付けることと、
前記1つ以上の部品が取り付けられた前記本体を前記第2階よりも上の第3階まで移動させることと
を含む。
【発明の効果】
【0008】
本開示によれば、土地を広くとらなくても飛行体の組立てを行うことができる。
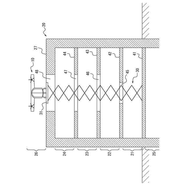
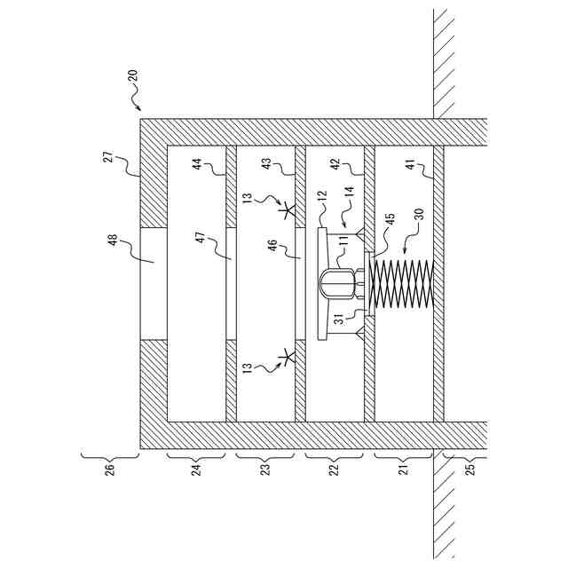
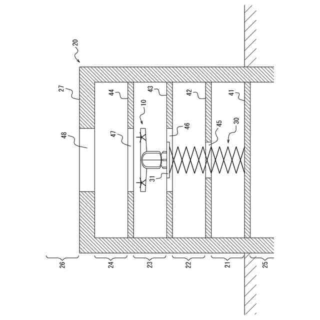
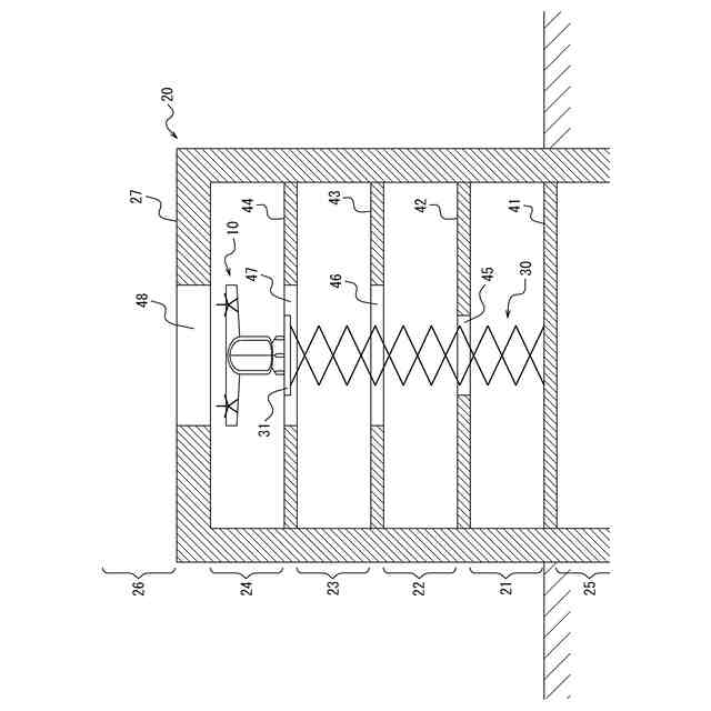
【図面の簡単な説明】
【0009】
本開示の実施形態に係る飛行体の概略平面図である。
本開示の実施形態に係る製造方法を示すフローチャートである。
図2のS101に対応する、製造設備の概略断面図である。
図2のS102に対応する、製造設備の概略断面図である。
図2のS103に対応する、製造設備の概略断面図である。
図2のS104に対応する、製造設備の概略断面図である。
図2のS105に対応する、製造設備の概略断面図である。
図2のS106に対応する、製造設備の概略断面図である。
図2のS108に対応する、製造設備の概略断面図である。
図2のS109に対応する、製造設備の概略断面図である。
変形例のS102に対応する、製造設備の概略断面図である。
変形例のS102に対応する、製造設備の概略断面図である。
本開示の実施形態の変形例に係る製造方法を示すフローチャートである。
図13のS201に対応する、製造設備の概略断面図である。
図13のS202に対応する、製造設備の概略断面図である。
図13のS203に対応する、製造設備の概略断面図である。
図13のS204に対応する、製造設備の概略断面図である。
図13のS204に対応する、製造設備の概略断面図である。
図13のS205に対応する、製造設備の概略断面図である。
図13のS206からS210に対応する、製造設備の概略断面図である。
図13のS206からS210に対応する、製造設備の概略断面図である。
図13のS206からS210に対応する、製造設備の概略断面図である。
図13のS206からS210に対応する、製造設備の概略断面図である。
変形例のS202に対応する、製造設備の概略断面図である。
【発明を実施するための形態】
【0010】
以下、本開示の一実施形態について、図を参照して説明する。
(【0011】以降は省略されています)
この特許をJ-PlatPat(特許庁公式サイト)で参照する
関連特許
トヨタ自動車株式会社
車両
6日前
トヨタ自動車株式会社
車両
2日前
トヨタ自動車株式会社
車両
2日前
トヨタ自動車株式会社
電池
6日前
トヨタ自動車株式会社
ロータ
4日前
トヨタ自動車株式会社
電動車
2日前
トヨタ自動車株式会社
電動車
4日前
トヨタ自動車株式会社
電動車
2日前
トヨタ自動車株式会社
電解液
2日前
トヨタ自動車株式会社
電動車
2日前
トヨタ自動車株式会社
回転子
2日前
トヨタ自動車株式会社
蓄電装置
2日前
トヨタ自動車株式会社
蓄電セル
4日前
トヨタ自動車株式会社
蓄電装置
6日前
トヨタ自動車株式会社
制御装置
2日前
トヨタ自動車株式会社
電動車両
2日前
トヨタ自動車株式会社
蓄電装置
6日前
トヨタ自動車株式会社
二次電池
6日前
トヨタ自動車株式会社
駆動装置
2日前
トヨタ自動車株式会社
蓄電セル
4日前
トヨタ自動車株式会社
蓄電装置
6日前
トヨタ自動車株式会社
蓄電装置
4日前
トヨタ自動車株式会社
塗布装置
4日前
トヨタ自動車株式会社
蓄電装置
6日前
トヨタ自動車株式会社
蓄電装置
3日前
トヨタ自動車株式会社
蓄電装置
3日前
トヨタ自動車株式会社
制御装置
6日前
トヨタ自動車株式会社
育苗装置
3日前
トヨタ自動車株式会社
電源装置
2日前
トヨタ自動車株式会社
制御装置
6日前
トヨタ自動車株式会社
検査装置
6日前
トヨタ自動車株式会社
蓄電装置
6日前
トヨタ自動車株式会社
制御装置
6日前
トヨタ自動車株式会社
蓄電セル
2日前
トヨタ自動車株式会社
切断装置
2日前
トヨタ自動車株式会社
電極積層体
3日前
続きを見る
他の特許を見る