TOP
|
特許
|
意匠
|
商標
特許ウォッチ
Twitter
他の特許を見る
公開番号
2025142681
公報種別
公開特許公報(A)
公開日
2025-10-01
出願番号
2024042185
出願日
2024-03-18
発明の名称
アンモニア混焼エンジン
出願人
ヤンマーホールディングス株式会社
代理人
個人
,
個人
主分類
F02M
25/00 20060101AFI20250924BHJP(燃焼機関;熱ガスまたは燃焼生成物を利用する機関設備)
要約
【課題】アンモニアと炭化水素系の液体燃料とを適切に混合させて燃焼させ、排気ガス性状を向上することができるアンモニア混焼エンジンを提供する。
【解決手段】
アンモニアと炭化水素系の液体燃料とを燃焼させて稼働するアンモニア混焼エンジン1は、主燃焼室20と、主燃焼室20に連通する副燃焼室21と、副燃焼室21にアンモニア及び液体燃料を供給する燃料供給装置14と、を備える。例えば、燃料供給装置14は、アンモニアを供給するアンモニアインジェクタ27と、炭化水素系の液体燃料を供給する液体燃料インジェクタ28とを別体で備える。
【選択図】図1
特許請求の範囲
【請求項1】
アンモニアと炭化水素系の液体燃料とを燃焼させて稼働するアンモニア混焼エンジンにおいて、
主燃焼室と、
前記主燃焼室に連通する副燃焼室と、
前記副燃焼室に前記アンモニア及び前記液体燃料を供給する燃料供給装置と、
を備えることを特徴とするアンモニア混焼エンジン。
続きを表示(約 730 文字)
【請求項2】
前記燃料供給装置は、前記アンモニアを供給するアンモニアインジェクタと、前記液体燃料を供給する液体燃料インジェクタとを備えることを特徴とする請求項1に記載のアンモニア混焼エンジン。
【請求項3】
前記燃料供給装置は、前記アンモニアと前記液体燃料とを供給する2種燃料インジェクタとを備えることを特徴とする請求項1に記載のアンモニア混焼エンジン。
【請求項4】
前記副燃焼室で前記アンモニア及び/又は前記液体燃料を燃焼させることで前記副燃焼室に改質燃料を生成することを特徴とする請求項1に記載のアンモニア混焼エンジン。
【請求項5】
前記アンモニアを供給された前記副燃焼室にて0.4~0.7の空気過剰率で燃焼を行うことを特徴とする請求項1に記載のアンモニア混焼エンジン。
【請求項6】
前記副燃焼室で生成された前記改質燃料を前記主燃焼室に供給し、前記改質燃料を供給された前記主燃焼室にて1を超えるリーン状態の空気過剰率で燃焼を行うことを特徴とする請求項4に記載のアンモニア混焼エンジン。
【請求項7】
前記主燃焼室での空気過剰率は、1.8以上であることを特徴とする請求項6に記載のアンモニア混焼エンジン。
【請求項8】
燃焼サイクルにおいて、前記副燃焼室に前記アンモニアを供給した後、前記副燃焼室に前記液体燃料を供給することを特徴とする請求項1に記載のアンモニア混焼エンジン。
【請求項9】
燃焼サイクルにおいて、前記副燃焼室に前記液体燃料を供給することで燃焼を発生させることを特徴とする請求項8に記載のアンモニア混焼エンジン。
発明の詳細な説明
【技術分野】
【0001】
本発明は、アンモニアと炭化水素系の液体燃料とを燃焼させて稼働するアンモニア混焼エンジンに関する。
続きを表示(約 1,700 文字)
【背景技術】
【0002】
従来、エンジンには、アンモニアと軽油等の炭化水素系の液体燃料とを燃焼させて稼働するアンモニア混焼エンジンがある。
【0003】
例えば、特許文献1には、アンモニア等の第1燃料と、第1燃料の点火用の燃料油とで機関を運転するオットーサイクルモードと、燃料油のみで機関を運転するディーゼルサイクルモードとを有する、大型ターボ過給式2ストロークユニフロークロスヘッド二元燃料内燃機関が開示されている。この機関は、シリンダカバー内に配され、ピストンの下死点から上死点へのストローク中に第1燃料を導入するための燃料導入弁と、シリンダカバー内又はシリンダライナ内に配され、ピストンが上死点又はその近傍にあるときに燃料油を噴射するための燃料噴射弁と、シリンダカバー又はシリンダライナに配され、燃焼室に開口する副室ポートを有するパイロット点火副室であって、該副室内に導入された燃料油で燃焼室内の第1燃料及び掃気ガスの混合気に点火するためのパイロット点火副室とを備えている。
【先行技術文献】
【特許文献】
【0004】
特許第7329713号
【発明の概要】
【発明が解決しようとする課題】
【0005】
特許文献1に開示されるような従来のエンジンでは、アンモニア用の燃料導入弁と、燃料油用の燃料噴射弁と、パイロット点火副室を備えて、機関のオットーサイクルモード動作中に、燃料噴射弁によって燃料油をパイロット点火副室に導入し、燃料導入弁によってアンモニア等の第1燃料を燃焼室に供給するように構成されている。しかしながら、燃焼室への第1燃料の供給と、パイロット点火副室への燃料油の供給とが別々に行われるため、第1燃料と燃料油とが均一に混合された予混合気を形成することができず、燃焼室で燃料が局所的に激しく燃焼し、粒子状物質(PM)や窒素酸化物(NOx)などを多量に排出し、排気ガス性状を悪化させるおそれがある。
【0006】
本発明は、アンモニアと炭化水素系の液体燃料とを適切に混合させて燃焼させ、排気ガス性状を向上することができるアンモニア混焼エンジンを提供することを目的とする。
【課題を解決するための手段】
【0007】
上記課題を解決するために、本発明のアンモニア混焼エンジンは、アンモニアと炭化水素系の液体燃料とを燃焼させて稼働するアンモニア混焼エンジンにおいて、主燃焼室と、前記主燃焼室に連通する副燃焼室と、前記副燃焼室に前記アンモニア及び前記液体燃料を供給する燃料供給装置と、を備えることを特徴とする。
【発明の効果】
【0008】
本発明によれば、アンモニアと炭化水素系の液体燃料とを適切に混合させて燃焼させ、排気ガス性状を向上することができるアンモニア混焼エンジンを提供する。
【図面の簡単な説明】
【0009】
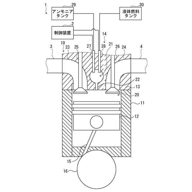
本発明の実施形態に係るアンモニア混焼エンジンを示す模式図である。
アンモニア混焼エンジンで燃焼される水素の空気過剰率と排出ガスに生じる窒素酸化物との関係例を示すグラフである。
アンモニア混焼エンジンにおける副燃焼室に供給される混合気のアンモニアの当量比とアンモニアの燃焼温度との関係において、燃焼により発生するNO+NO2の生成領域、及び未燃NH3の発生領域のマップ、更に混合気を燃焼させた際のアンモニアの燃焼温度を示すグラフである。
【発明を実施するための形態】
【0010】
本発明の実施形態に係るアンモニア混焼エンジン1について図面を参照して説明する。アンモニア混焼エンジン1(エンジン)は、アンモニアと軽油等の炭化水素系の液体燃料とを燃焼させて稼働するものである。アンモニア混焼エンジン1は、シリンダブロック(図示せず)に複数の気筒10を備えて構成されるが、図1では、1つの気筒10のみを図示している。各気筒10は、図1に示すように、シリンダ11と、ピストン12と、シリンダヘッド13と、燃料供給装置14とを備える。
(【0011】以降は省略されています)
この特許をJ-PlatPat(特許庁公式サイト)で参照する
関連特許
トヨタ自動車株式会社
車両
24日前
ダイハツ工業株式会社
車両
22日前
トヨタ自動車株式会社
車両
27日前
トヨタ自動車株式会社
車両
29日前
ダイハツ工業株式会社
制御装置
21日前
ダイハツ工業株式会社
制御装置
21日前
スズキ株式会社
車両の制御装置
15日前
ダイハツ工業株式会社
制御装置
21日前
スズキ株式会社
内燃機関の制御装置
24日前
トヨタ自動車株式会社
車両の制御装置
13日前
トヨタ自動車株式会社
内燃機関
13日前
株式会社SUBARU
エンジン制御装置
21日前
株式会社SUBARU
エンジン制御装置
15日前
トヨタ自動車株式会社
内燃機関の制御装置
24日前
朝日電装株式会社
スロットルグリップ装置
3日前
個人
流体式推力方向制御装置
3日前
株式会社IHI原動機
脈動減衰装置
13日前
トヨタ自動車株式会社
閾値の設定装置
3日前
トヨタ自動車株式会社
車両の制御装置
29日前
トヨタ自動車株式会社
内燃機関の制御装置
1か月前
株式会社豊田自動織機
車両
23日前
トヨタ自動車株式会社
内燃機関の制御装置
24日前
本田技研工業株式会社
内燃機関の制御装置
13日前
本田技研工業株式会社
EGRバルブ制御装置
3日前
トヨタ自動車株式会社
エンジンシステムの診断装置
15日前
トヨタ自動車株式会社
エンジン制御装置
3日前
トヨタ自動車株式会社
インジェクタの制御装置
1日前
トヨタ自動車株式会社
内燃機関の燃料供給装置
3日前
Astemo株式会社
内燃機関制御装置
1か月前
ヤンマーホールディングス株式会社
エンジン装置
1日前
ヤンマーホールディングス株式会社
エンジン装置
1日前
ヤンマーホールディングス株式会社
エンジン装置
1日前
大阪瓦斯株式会社
発電設備、及び発電方法
1日前
ヤンマーホールディングス株式会社
エンジン装置
1日前
愛三工業株式会社
吸気弁装置
15日前
ヤンマーホールディングス株式会社
エンジン装置
1日前
続きを見る
他の特許を見る