TOP
|
特許
|
意匠
|
商標
特許ウォッチ
Twitter
他の特許を見る
公開番号
2025142687
公報種別
公開特許公報(A)
公開日
2025-10-01
出願番号
2024042194
出願日
2024-03-18
発明の名称
エンジン装置
出願人
ヤンマーホールディングス株式会社
代理人
個人
,
個人
主分類
F02M
69/00 20060101AFI20250924BHJP(燃焼機関;熱ガスまたは燃焼生成物を利用する機関設備)
要約
【課題】アンモニアやメタノール等の温室効果ガス排出量の少ない低GHG燃料を、比較的シンプルな構造で、出力及び排気特性の悪化を抑制しつつ、安定的に燃焼させることができるエンジン装置を提供する。
【解決手段】
エンジン装置1は、燃料を供給してエンジン2を駆動するエンジン装置1であって、エンジン2への吸気が流れる吸気経路35と、吸気経路35の内部に設けられる吸気系部品と、液体状態又は液体及び気体の混合状態である燃料を、吸気経路35の内部で吸気経路35の壁面又は吸気系部品に向けて噴射する燃料噴射部32と、を備える。エンジン装置1は、燃料として、アンモニア又はメタノール等の温室効果ガス排出量の少ない低GHG燃料を利用する。
【選択図】図1
特許請求の範囲
【請求項1】
燃料を供給してエンジンを駆動するエンジン装置であって、
前記エンジンへの吸気が流れる吸気経路と、
前記吸気経路の内部に設けられる吸気系部品と、
液体状態又は液体及び気体の混合状態である前記燃料を、前記吸気経路の内部で前記吸気経路の壁面又は前記吸気系部品に向けて噴射する燃料噴射部と、
を備えることを特徴とするエンジン装置。
続きを表示(約 490 文字)
【請求項2】
前記燃料噴射部は、前記吸気経路における吸気方向に沿って前記燃料を噴射することで、前記燃料を前記吸気経路の壁面又は前記吸気系部品に衝突させることを特徴とする請求項1に記載のエンジン装置。
【請求項3】
前記吸気経路の壁面又は前記吸気系部品は、吸気温度以上に加熱されていることを特徴とする請求項1に記載のエンジン装置。
【請求項4】
前記吸気経路の壁面は、吸気マニホールド又は吸気ポートの壁面であり、前記吸気系部品は、吸気バルブであることを特徴とする請求項1に記載のエンジン装置。
【請求項5】
前記吸気経路の壁面は、前記エンジンからの排熱を利用して加熱されていることを特徴とする請求項3に記載のエンジン装置。
【請求項6】
前記エンジンからの排熱は、前記エンジンの排気ガスの熱及び/又は前記エンジンを冷却する冷却水の熱であることを特徴とする請求項5に記載のエンジン装置。
【請求項7】
前記燃料は、アンモニア又はメタノールであることを特徴とする請求項1に記載のエンジン装置。
発明の詳細な説明
【技術分野】
【0001】
本発明は、アンモニアやメタノール等の温室効果ガス排出量の少ない低GHG(Green House Gas)燃料をエンジンに供給して駆動するエンジン装置に関する。
続きを表示(約 1,700 文字)
【背景技術】
【0002】
従来、エンジン装置には、アンモニアやメタノール等の温室効果ガス排出量の少ない低GHG燃料をエンジンに供給して駆動するものがある。エンジン装置は、液体状態の低GHG燃料を貯蔵していて、エンジンに通じる吸気経路やエンジンの燃焼室に対して低GHG燃料を噴射することで、燃焼室に低GHG燃料を供給する。
【0003】
例えば、特許文献1に開示されるアンモニアの燃焼システムは、アンモニアを液体の状態で石油系燃料と混合して噴射するものであって、特に、液体アンモニア又はアンモニア水を、流体混合気において微粒化すると共に、燃料と混合し、アンモニア混合燃料又はアンモニア水混合燃料として、ディーゼルエンジン又はボイラーに供給する。ディーゼルエンジンの燃焼室又はボイラーの燃焼室に石油系燃料と噴射されたアンモニアは、大気圧下における沸点が約マイナス33℃であり、燃焼室内ですぐに気化して可燃性ガスとなる。そのとき、石油系燃料は、着火・燃焼過程にあり、雰囲気温度が1000℃を超えているため、容易に着火して、アンモニアと共に燃焼する。
【先行技術文献】
【特許文献】
【0004】
特許第7264386号
【発明の概要】
【発明が解決しようとする課題】
【0005】
しかしながら、特許文献1のような従来のエンジン装置では、アンモニアを液体の状態で石油系燃料と混合して噴射するため、燃焼室内では、噴射直後のアンモニアが液滴として存在する。そのため、燃焼室内において、アンモニア液滴が多く存在する箇所は、局所的に当量比が大きく、空気不足の状態になり、一方、アンモニア液滴があまり存在しない箇所は、当量比が小さく、空気過剰の状態になる。その結果、当量比が過剰な箇所でアンモニアが激しく燃焼することで、排気ガスの性状が悪化するおそれがある。また、アンモニアを液体の状態で石油系燃料と混合して噴射するためには、流体混合気において微粒化する必要があるため、エンジン装置の構造が複雑化するという問題がある。
【0006】
本発明は、アンモニアやメタノール等の温室効果ガス排出量の少ない低GHG燃料を、比較的シンプルな構造で、出力及び排気特性の悪化を抑制しつつ、安定的に燃焼させることができるエンジン装置を提供することを目的とする。
【課題を解決するための手段】
【0007】
上記課題を解決するために、本発明のエンジン装置は、燃料を供給してエンジンを駆動するエンジン装置であって、前記エンジンへの吸気が流れる吸気経路と、前記吸気経路の内部に設けられる吸気系部品と、液体状態又は液体及び気体の混合状態である前記燃料を、前記吸気経路の内部で前記吸気経路の壁面又は前記吸気系部品に向けて噴射する燃料噴射部と、を備えることを特徴とする。
【発明の効果】
【0008】
本発明によれば、アンモニアやメタノール等の温室効果ガス排出量の少ない低GHG燃料を、比較的シンプルな構造で、出力及び排気特性の悪化を抑制しつつ、安定的に燃焼させることができるエンジン装置を提供する。
【図面の簡単な説明】
【0009】
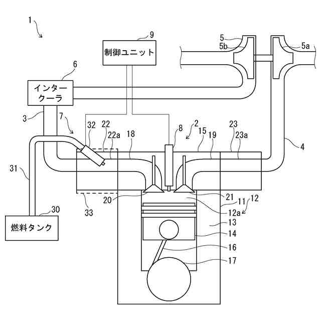
本発明の実施形態に係るエンジン装置の一例を示す概要図である。
本発明の実施形態に係るエンジン装置の他の例を示す概要図である。
本発明の実施形態に係るエンジン装置の他の例を示す概要図である。
本発明の実施形態に係るエンジン装置の変形例を示す概要図である。
【発明を実施するための形態】
【0010】
本発明の実施形態であるエンジン装置1について図面を参照して説明する。図1~図3に示すように、エンジン装置1は、エンジン2と、吸気通路3と、排気通路4と、過給機5と、インタークーラ6と、燃料供給機構7と、点火装置8と、制御ユニット9とを備える。
(【0011】以降は省略されています)
この特許をJ-PlatPat(特許庁公式サイト)で参照する
関連特許
スズキ株式会社
車両の制御装置
23日前
トヨタ自動車株式会社
車両の制御装置
21日前
本田技研工業株式会社
内燃機関
1日前
トヨタ自動車株式会社
内燃機関
21日前
株式会社クボタ
作業車両
1日前
株式会社SUBARU
エンジン制御装置
23日前
個人
流体式推力方向制御装置
11日前
朝日電装株式会社
スロットルグリップ装置
11日前
株式会社IHI原動機
脈動減衰装置
21日前
トヨタ自動車株式会社
閾値の設定装置
11日前
トヨタ自動車株式会社
エンジン制御装置
7日前
日産自動車株式会社
内燃機関
7日前
本田技研工業株式会社
内燃機関の吸気構造
1日前
本田技研工業株式会社
内燃機関の制御装置
21日前
日産自動車株式会社
内燃機関
7日前
株式会社デンソートリム
エンジン制御装置
7日前
本田技研工業株式会社
EGRバルブ制御装置
11日前
トヨタ自動車株式会社
エンジンシステムの診断装置
23日前
マツダ株式会社
エンジン
1日前
トヨタ自動車株式会社
インジェクタの制御装置
9日前
トヨタ自動車株式会社
内燃機関の燃料供給装置
7日前
トヨタ自動車株式会社
エンジン制御装置
11日前
トヨタ自動車株式会社
内燃機関の燃料供給装置
11日前
ヤンマーホールディングス株式会社
エンジン装置
9日前
ヤンマーホールディングス株式会社
エンジン装置
9日前
ヤンマーホールディングス株式会社
エンジン装置
9日前
ヤンマーホールディングス株式会社
エンジン装置
9日前
本田技研工業株式会社
内燃機関の制御装置
1日前
ヤンマーホールディングス株式会社
エンジン装置
9日前
ヤンマーホールディングス株式会社
エンジン装置
9日前
ヤンマーホールディングス株式会社
エンジン装置
9日前
本田技研工業株式会社
内燃機関の制御装置
1日前
愛三工業株式会社
吸気弁装置
23日前
大阪瓦斯株式会社
発電設備、及び発電方法
9日前
トヨタ自動車株式会社
内燃機関の燃料噴射制御装置
9日前
マツダ株式会社
エンジンの制御装置
1日前
続きを見る
他の特許を見る