TOP
|
特許
|
意匠
|
商標
特許ウォッチ
Twitter
他の特許を見る
公開番号
2025148033
公報種別
公開特許公報(A)
公開日
2025-10-07
出願番号
2024048603
出願日
2024-03-25
発明の名称
燃料タンク処理装置
出願人
株式会社SUBARU
代理人
個人
,
個人
,
個人
,
個人
主分類
F02M
25/08 20060101AFI20250930BHJP(燃焼機関;熱ガスまたは燃焼生成物を利用する機関設備)
要約
【課題】バルブのロックを抑止しつつ、燃料タンクを早期に減圧できる燃料タンク処理装置を提供する。
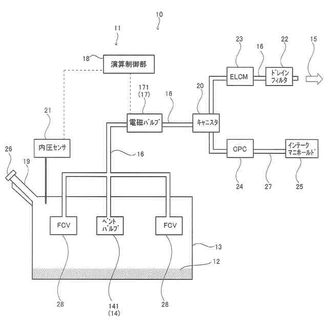
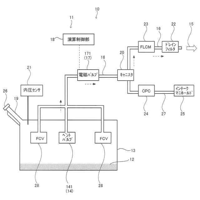
【解決手段】燃料タンク処理装置11は、燃料タンク13と、第1バルブ14と、放出経路16と、第2バルブ17と、演算制御部18と、を主要に具備する。第1バルブ14は、燃料12が貯留される燃料タンク13の内部に配設される。放出経路16は、第1バルブ14と外部とを連通し、燃料タンク13から放出される気体15が流通するように構成される。第2バルブ17は、放出経路16に介装される。演算制御部18は、第2バルブ17を開状態とした際の、燃料タンク13の状態変化に基づき、第2バルブ17の開度を調整する。
【選択図】図1
特許請求の範囲
【請求項1】
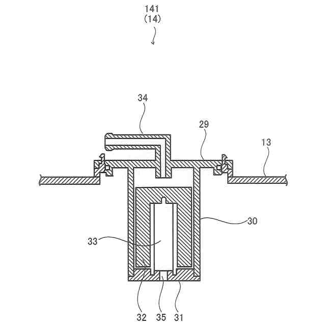
燃料が貯留される燃料タンクの内部に配設された第1バルブと、
前記第1バルブと外部とを連通し、前記燃料タンクから放出される気体が流通する放出経路と、
前記放出経路に介装された第2バルブと、
前記第2バルブの開度を調整する演算制御部と、を具備し、
前記演算制御部は、
前記第2バルブを開状態とした際の、前記燃料タンクの状態変化に基づき、前記第2バルブの開度を調整することを特徴とする燃料タンク処理装置。
続きを表示(約 500 文字)
【請求項2】
前記第1バルブはベントバルブであることを特徴とする請求項1に記載の燃料タンク処理装置。
【請求項3】
前記演算制御部は、前記第2バルブを前記開状態とした際の、前記燃料タンクの内部に存在する前記燃料の量、および、前記燃料タンクの内部圧力の減少度合いに基づき、前記第2バルブの開度を調整することを特徴とする請求項1に記載の燃料タンク処理装置。
【請求項4】
前記演算制御部は、
給油のための操作が行われたら、
前記燃料タンクの内部圧力、および、前記燃料タンクの内部に存在する前記燃料の量を示す情報を取得し、
前記第2バルブの開度を所定量とした状態で、前記燃料タンクの内部圧力の減少度合いを算出し、
前記燃料タンクの内部圧力、前記燃料タンクの内部に存在する前記燃料の量、および、前記燃料タンクの内部圧力の減少度合いに基づき、前記第2バルブの開度を調整することを特徴とする請求項1に記載の燃料タンク処理装置。
【請求項5】
前記第2バルブは、電磁バルブであることを特徴とする請求項1に記載の燃料タンク処理装置。
発明の詳細な説明
【技術分野】
【0001】
本発明は、給油時において燃料タンクの内圧を低減する燃料タンク処理装置に関する。
続きを表示(約 1,200 文字)
【背景技術】
【0002】
エンジンを駆動源とする車両においては、エンジンに給油される燃料は燃料タンクに貯留される。通常、燃料タンクの内部は、気化した燃料である蒸発ガスにより高圧状態となっている。よって、給油を行う際には、燃料タンクの内部から外部に気体を放出させることで、燃料タンクの内部を減圧する。このようにすることで、燃料タンクの給油口を開状態とした際に、燃料または蒸発ガスが、給油口から外部に噴出することを防止できる。給油時において燃料タンクを減圧する発明の一例が、特許文献1に記載されている。
【先行技術文献】
【特許文献】
【0003】
特開2014-77422号公報
【発明の概要】
【発明が解決しようとする課題】
【0004】
しかしながら、前述した発明では、給油時において効果的に燃料タンクを減圧する観点から改善の余地があった。
【0005】
具体的には、減圧のために蒸発ガスが流通する開放経路の構造上、給油時において燃料タンクの減圧に一定の待機時間が発生する課題があった。
【0006】
また、待機時間を短くするために、蒸発ガスの流量を大きく設定すると、開放経路に介装されているベントバルブが、圧力差によりロックしてしまい、蒸発ガスの開放動作が阻害される課題もあった。
【0007】
更に、開放経路の途中に段階的に開度を調整できる可変バルブを設置しても、可変バルブでは開度を精密に制御することが難しい。よって、ベントバルブのロックを抑制しつつ、燃料タンクを素早く減圧することは簡単ではなかった。
【0008】
本発明は、このような問題点を鑑みてなされたものであり、本発明の目的は、バルブのロックを抑止しつつ、燃料タンクを早期に減圧できる燃料タンク処理装置を提供することにある。
【課題を解決するための手段】
【0009】
本発明の燃料タンク処理装置は、燃料が貯留される燃料タンクの内部に配設された第1バルブと、前記第1バルブと外部とを連通し、前記燃料タンクから放出される気体が流通する放出経路と、前記放出経路に介装された第2バルブと、前記第2バルブの開度を調整する演算制御部と、を具備し、前記演算制御部は、前記第2バルブを開状態とした際の、前記燃料タンクの状態変化に基づき、前記第2バルブの開度を調整することを特徴とする。
【発明の効果】
【0010】
本発明の燃料タンク処理装置によれば、燃料タンクの状態変化に基づき、第2バルブの開度を適切に調整することにより、放出経路の圧力損失を所定の大きさにすることができ、第1バルブがロックしてしまうことを抑制できる。
【図面の簡単な説明】
(【0011】以降は省略されています)
この特許をJ-PlatPat(特許庁公式サイト)で参照する
関連特許
株式会社SUBARU
車両
8日前
株式会社SUBARU
車体構造
13日前
株式会社SUBARU
乗員保護装置
18日前
株式会社SUBARU
運転支援装置
18日前
株式会社SUBARU
乗員保護装置
13日前
株式会社SUBARU
車載制御装置
6日前
株式会社SUBARU
運転支援装置
6日前
株式会社SUBARU
硫黄除去方法
8日前
株式会社SUBARU
車両用表示装置
19日前
株式会社SUBARU
車両用制御装置
4日前
株式会社SUBARU
燃料電池システム
11日前
株式会社SUBARU
ピストン冷却構造
18日前
株式会社SUBARU
ドアロック制御装置
12日前
株式会社SUBARU
燃料タンク処理装置
今日
株式会社SUBARU
燃料タンク処理装置
今日
株式会社SUBARU
車両用空調制御装置
4日前
株式会社SUBARU
ゴム組成物および防振ゴム
8日前
株式会社SUBARU
提案装置および情報処理装置
今日
日本発條株式会社
ヒータ装置
8日前
日本発條株式会社
車両用支持装置
8日前
株式会社SUBARU
ドライビングシミュレータの制御装置
11日前
株式会社SUBARU
精神状態判定装置および精神状態判定方法
12日前
株式会社SUBARU
水素供給システム及び当該水素供給システムの制御装置
4日前
株式会社SUBARU
水素供給システム及び当該水素供給システムの制御装置
4日前
トヨタ自動車株式会社
車両
1か月前
トヨタ自動車株式会社
車両
1か月前
トヨタ自動車株式会社
車両
29日前
ダイハツ工業株式会社
車両
27日前
ダイハツ工業株式会社
制御装置
26日前
ダイハツ工業株式会社
制御装置
26日前
ダイハツ工業株式会社
制御装置
26日前
スズキ株式会社
車両の制御装置
20日前
スズキ株式会社
内燃機関の制御装置
29日前
トヨタ自動車株式会社
スロットル装置
1か月前
トヨタ自動車株式会社
内燃機関
18日前
個人
疑似可変サイクルジェットエンジン機構
1か月前
続きを見る
他の特許を見る