TOP
|
特許
|
意匠
|
商標
特許ウォッチ
Twitter
他の特許を見る
10個以上の画像は省略されています。
公開番号
2025139037
公報種別
公開特許公報(A)
公開日
2025-09-26
出願番号
2024037754
出願日
2024-03-12
発明の名称
ドライビングシミュレータの制御装置
出願人
株式会社SUBARU
代理人
弁理士法人太田特許事務所
主分類
G09B
9/05 20060101AFI20250918BHJP(教育;暗号方法;表示;広告;シール)
要約
【課題】ドライビングシミュレータにより再現する運転感覚を実車両の運転感覚に近づける。
【解決手段】ドライビングシミュレータを制御するための制御装置は、運転操作機器の動作条件及び出力機器の出力条件を設定するための制御条件の情報をドライビングシミュレータの所定の設定環境の情報に関連付けて記憶した制御条件記憶部を備え、ドライビングシミュレータの所定の設定環境の情報を取得する処理と、所定の設定環境の情報及び制御条件の情報に基づいて運転操作機器の動作条件及び出力機器の出力条件のうちの少なくとも一方を設定する処理と、ユーザによる運転操作機器の操作に応じて運転操作機器の動作及び出力機器の出力を制御する処理とを実行する。
【選択図】図1
特許請求の範囲
【請求項1】
ユーザにより操作される運転操作機器と前記ユーザにより体感可能な出力を行う出力機器とを備えたドライビングシミュレータであって、前記ユーザによる前記運転操作機器の操作に応じた車両の運転感覚を前記ユーザに体感させる前記ドライビングシミュレータを制御するための制御装置において、
前記制御装置は、
一つ又は複数のプロセッサと、
前記一つ又は複数のプロセッサと通信可能に接続された一つ又は複数のメモリと、
前記運転操作機器の動作条件及び前記出力機器の出力条件を設定するための制御条件の情報を前記ドライビングシミュレータの所定の設定環境の情報に関連付けて記憶した制御条件記憶部と、を備え、
前記一つ又は複数のプロセッサは、
前記ドライビングシミュレータの前記所定の設定環境の情報を取得する処理と、
前記所定の設定環境の情報及び前記制御条件の情報に基づいて前記運転操作機器の動作条件及び前記出力機器の出力条件のうちの少なくとも一方を設定する処理と、
前記ユーザによる前記運転操作機器の操作に応じて前記運転操作機器の動作及び前記出力機器の出力を制御する処理と、
を実行する、ドライビングシミュレータの制御装置。
続きを表示(約 630 文字)
【請求項2】
前記ドライビングシミュレータの前記所定の設定環境の情報が、前記運転操作機器及び前記出力機器の仕様、機能、性能及び設置環境のうちの少なくとも一つに関する情報である、請求項1に記載のドライビングシミュレータの制御装置。
【請求項3】
前記ドライビングシミュレータの前記所定の設定環境の情報が、前記運転感覚を再現する対象車両又は前記対象車両に設定される部品に関する情報である、請求項1に記載のドライビングシミュレータの制御装置。
【請求項4】
前記制御条件の情報は、前記対象車両の諸元に応じて前記動作条件及び前記出力条件を設定するための情報を含み、
前記一つ又は複数のプロセッサは、
前記対象車両又は前記対象車両に設定される部品の情報に基づいて前記対象車両の諸元を設定し、前記制御条件記憶部に記憶された前記制御条件の情報のなかから前記諸元に応じた前記制御条件の情報を選択する、請求項3に記載のドライビングシミュレータの制御装置。
【請求項5】
前記制御装置は、
前記運転操作機器及び前記出力機器の情報と、
前記対象車両及び前記対象車両に設定される部品の情報と、
前記ユーザが前記動作条件又は前記出力条件の少なくとも一方を調節したときの前記制御条件の情報と、を取得し、
前記制御条件の情報を補正するための補正情報を記憶する、請求項1に記載の制御装置。
発明の詳細な説明
【技術分野】
【0001】
本開示は、ドライビングシミュレータの制御装置に関する。
続きを表示(約 2,400 文字)
【背景技術】
【0002】
ユーザによる模擬運転操作に応じてモニタによる風景画像の表示、スピーカによる走行音の演出、及び、揺動装置によるシートの揺動等をコンピュータが制御することで車両の機能や性能を再現するドライビングシミュレータが知られている。ドライビングシミュレータは、ステアリングホイールやペダル、シート等が設けられて車両の運転席を模擬的に構成したユニットと、風景画像を表示するモニタと、走行音を出力するスピーカと、シートを揺動させて加速感や振動をユーザに体感させる揺動装置と、コンピュータ等を備えて構築される。ドライビングシミュレータは、研究用途やアミューズメント用途をはじめとして様々な場面で利用されている。
【先行技術文献】
【特許文献】
【0003】
特開2013-44649号公報
特開2021-165048号公報
特開2003-186387号公報
【発明の概要】
【発明が解決しようとする課題】
【0004】
しかしながら、ドライビングシミュレータにより実車両と同じ挙動を再現してもユーザが感じる運転感覚が実車両と異なる場合がある。例えばモニタサイズや揺動装置の有無などドライビングシミュレータの設定環境は様々であり、ユーザが感じる運転感覚が設定環境によって異なり得る。また、機能や性能を再現しようとする車両の設定や部品の設定の変更を行なった際の性能変化の感じ方は、性能を表す値が同じであっても実車両とドライビングシミュレータ間、あるいは、設定環境の異なるドライビングシミュレータ間で異なり得る。
【0005】
本開示は、上記問題に鑑みてなされたものであり、本開示の目的とするところは、ドライビングシミュレータの設定環境に合わせてドライビングシミュレータの運転操作機器及び出力機器の制御条件を調整し、ドライビングシミュレータにより再現する運転感覚を実車両の運転感覚に近づけるドライビングシミュレータの制御装置を提供することにある。
【課題を解決するための手段】
【0006】
上記課題を解決するために、本開示のある観点によれば、ユーザにより操作される運転操作機器と上記ユーザにより体感可能な出力を行う出力機器とを備えたドライビングシミュレータであって、上記ユーザによる上記運転操作機器の操作に応じた車両の運転感覚を上記ユーザに体感させる上記ドライビングシミュレータを制御するための制御装置において、上記制御装置は、一つ又は複数のプロセッサと、上記一つ又は複数のプロセッサと通信可能に接続された一つ又は複数のメモリと、上記運転操作機器の動作条件及び上記出力機器の出力条件を設定するための制御条件の情報を上記ドライビングシミュレータの所定の設定環境の情報(C3,C4を含む)に関連付けて記憶した制御条件記憶部と、を備え、上記一つ又は複数のプロセッサは、上記ドライビングシミュレータの上記所定の設定環境の情報を取得する処理と、上記所定の設定環境の情報及び上記制御条件の情報に基づいて上記運転操作機器の動作条件及び上記出力機器の出力条件のうちの少なくとも一方を設定する処理と、上記ユーザによる上記運転操作機器の操作に応じて上記運転操作機器の動作及び上記出力機器の出力を制御する処理と、を実行するドライビングシミュレータの制御装置が提供される。
【発明の効果】
【0007】
以上説明したように本開示によれば、ドライビングシミュレータにより再現する運転感覚を実車両の運転感覚に近づけることができる。
【図面の簡単な説明】
【0008】
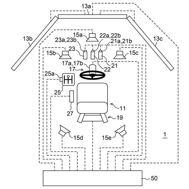
本開示の第1の実施の形態に係るドライビングシミュレータの構成例を示す模式図である。
同実施形態に係るドライビングシミュレータの制御装置の構成例を示すブロック図である。
運転操作機器の情報に応じて設定された設定値(制御条件)の情報の例を示す説明図である。
出力機器の情報に応じて設定された設定値(制御条件)の情報の例を示す説明図である。
対象車両に応じて設定された補正係数(制御条件)の情報の例を示す説明図である。
設定部品に応じて設定された補正係数(制御条件)の情報の例を示す説明図である。
同実施形態に係る制御装置が取得した運転操作機器及び出力機器の設定環境の情報の例を示す説明図である。
同実施形態に係る制御装置が取得した対象車両及び設定部品の設定環境の情報の例を示す説明図である。
同実施形態に係る制御装置により設定された運転操作機器の動作条件及び出力機器の出力条件の例を示す説明図である。
同実施形態に係る制御装置により実行される処理動作のメインルーチンを示すフローチャートである。
本開示の第2の実施の形態に係るドライビングシミュレータの制御装置の機能を説明するための図である。
本開示の第3の実施の形態に係るドライビングシミュレータの制御装置の構成例を示すブロック図である。
本開示の第4の実施の形態に係るドライビングシミュレータの制御装置の構成例を示すブロック図である。
【発明を実施するための形態】
【0009】
以下、添付図面を参照しながら、本開示の好適な実施の形態について詳細に説明する。なお、本明細書及び図面において、実質的に同一の機能構成を有する構成要素については、同一の符号を付することにより重複説明を省略する。
【0010】
<<1.第1の実施の形態>>
<1-1.ドライビングシミュレータの全体構成>
まず、本開示の第1の実施の形態に係るドライビングシミュレータの制御装置を適用可能なドライビングシミュレータ構成の一例を説明する。
(【0011】以降は省略されています)
この特許をJ-PlatPat(特許庁公式サイト)で参照する
関連特許
個人
回転式カード学習具
1か月前
個人
時刻表示機能つき手帳
1か月前
日本精機株式会社
表示装置
1か月前
日本精機株式会社
表示装置
8日前
日本精機株式会社
表示装置
3か月前
個人
計算用教具
4日前
中国電力株式会社
標示旗
14日前
日本精機株式会社
車両用表示装置
1か月前
日本精機株式会社
車両用表示装置
1か月前
日本精機株式会社
車両用表示装置
1か月前
日本精機株式会社
車両用センサ装置
4日前
個人
モデルで薔薇の花嫁様を描く為
25日前
トヨタ自動車株式会社
評価方法
2か月前
シャープ株式会社
表示装置
2か月前
株式会社一弘社
情報表示板
1か月前
シャープ株式会社
表示装置
15日前
個人
音楽教材
1か月前
パイオニア株式会社
表示装置
2か月前
個人
口唇閉鎖の訓練具
2か月前
株式会社ウメラボ
学習支援システム
今日
ニチレイマグネット株式会社
磁着式電飾装置
14日前
株式会社半導体エネルギー研究所
半導体装置
1か月前
株式会社リコー
画像投射システム
15日前
株式会社ノジマ
応対体験システム
2か月前
BEST株式会社
吊り下げ表示部材
1か月前
個人
サインポスト
2か月前
学校法人関西医科大学
腹腔鏡手術訓練装置
14日前
株式会社バンダイ
情報処理装置およびプログラム
2か月前
シチズンファインデバイス株式会社
液晶表示装置
23日前
シチズンファインデバイス株式会社
液晶表示装置
1か月前
株式会社サンゲツ
見本帳
1か月前
シャープ株式会社
表示装置
1か月前
個人
ピアノの指トレーニング器具及び練習方法
2か月前
シャープ株式会社
表示装置
1か月前
株式会社リコー
システムおよび方法
2か月前
ニデックインスツルメンツ株式会社
情報処理装置
2か月前
続きを見る
他の特許を見る