TOP
|
特許
|
意匠
|
商標
特許ウォッチ
Twitter
他の特許を見る
公開番号
2025145712
公報種別
公開特許公報(A)
公開日
2025-10-03
出願番号
2024046034
出願日
2024-03-22
発明の名称
水素供給システム及び当該水素供給システムの制御装置
出願人
株式会社SUBARU
代理人
弁理士法人太田特許事務所
主分類
F17C
5/06 20060101AFI20250926BHJP(ガスまたは液体の貯蔵または分配)
要約
【課題】燃料電池車の外部にある水素タンクに貯蔵された水素を有効活用する技術を提供する。
【解決手段】水素供給システムは、燃料電池車及び定置型燃料電池に選択的に水素を供給可能な水素供給源と、水素供給源から、連結された燃料電池車へ水素を供給するための第1水素供給機構と、水素供給源に連結可能な外部水素タンクであって、且つ、燃料電池車に水素を供給可能な外部水素タンクから燃料電池車へ水素を供給するための第2水素供給機構と、水素供給源から、連結された定置型燃料電池へ水素を供給するための第3水素供給機構と、水素供給源又は外部水素タンクから燃料電池車又は定置型燃料電池への水素の供給を制御する制御装置と、を備える。
【選択図】図1
特許請求の範囲
【請求項1】
燃料電池車及び定置型燃料電池に選択的に水素を供給可能な水素供給源と、
前記水素供給源から、連結された前記燃料電池車へ水素を供給するための第1水素供給機構と、
前記水素供給源に連結可能な外部水素タンクであって、且つ、前記燃料電池車に水素を供給可能な前記外部水素タンクから前記燃料電池車へ水素を供給するための第2水素供給機構と、
前記水素供給源から、連結された前記定置型燃料電池へ水素を供給するための第3水素供給機構と、
前記水素供給源又は前記外部水素タンクから前記燃料電池車又は前記定置型燃料電池への水素の供給を制御する制御装置と、
を備える、水素供給システム。
続きを表示(約 1,100 文字)
【請求項2】
第1燃料電池車及び定置型燃料電池に選択的に水素を供給可能な水素供給源と、前記水素供給源から、連結された前記第1燃料電池車へ水素を供給するための第1水素供給機構と、前記水素供給源に連結可能な外部水素タンクであって、且つ、前記第1燃料電池車に水素を供給可能な前記外部水素タンクから前記第1燃料電池車へ水素を供給するための第2水素供給機構と、前記水素供給源から、連結された前記定置型燃料電池へ水素を供給するための第3水素供給機構と、を備える水素供給システムに適用可能な水素供給システムの制御装置であって、
一つ又は複数のプロセッサと、前記一つ又は複数のプロセッサと通信可能に接続された一つ又は複数のメモリと、を備え、
前記プロセッサは、
前記外部水素タンクの水素残量値及び内圧値を取得し、
取得した前記水素残量値及び前記内圧値のうちの一つ又は複数の値に基づいて、前記第1燃料電池車又は前記定置型燃料電池への水素の供給を、前記水素供給源又は前記外部水素タンクの何れから優先的に行うかを決定する、
処理を実行する、水素供給システムの制御装置。
【請求項3】
前記プロセッサは、さらに、
水素の供給を要求する第2燃料電池車の供給要求情報に基づいて、前記供給要求情報に含まれる前記第2燃料電池車の水素要求量、内圧値及び位置情報を取得し、
取得した前記外部水素タンクの前記水素残量値、前記外部水素タンクの前記内圧値、前記第2燃料電池車の前記水素要求量及び前記第2燃料電池車の前記内圧値のうちの一つ又は複数の値に基づいて、前記外部水素タンクから前記第2燃料電池車への水素の供給が可能か否かを決定し、
前記決定の結果を、前記外部水素タンクの位置情報と共に、前記第2燃料電池車に提供する、
処理を実行する、請求項2に記載の水素供給システムの制御装置。
【請求項4】
前記プロセッサは、
取得した前記外部水素タンクの前記水素残量値及び前記内圧値のうちの一つ又は複数の値が閾値以上の場合、前記外部水素タンクから水素を供給すると決定する、
処理を実行する、請求項2又は3に記載の水素供給システムの制御装置。
【請求項5】
前記プロセッサは、
前記外部水素タンクにおける水素の使用予定時期情報を取得し、
取得した前記使用予定時期情報に基づいて、第1燃料電池車又は第2燃料電池車への水素の供給を制限すると決定する、
処理を実行する、請求項2又は3に記載の水素供給システムの制御装置。
発明の詳細な説明
【技術分野】
【0001】
本開示は、水素供給システム及び水素供給システムの制御装置に関する。
続きを表示(約 1,900 文字)
【背景技術】
【0002】
現代社会において移動手段として例えば自動車は不可欠であり、日常において様々な車両が路上を移動している。近年では、鉛蓄電池又はリチウムイオン電池に対して代替可能な新たな電池として、環境に対する負荷が小さい燃料電池が注目されている。
【0003】
燃料電池が搭載された燃料電池車においては、高圧に圧縮された水素が貯蔵された水素タンクが車両に搭載されるが、その搭載量は必ずしも十分な量とならない場合があり、航続距離の向上が望まれている。例えば特許文献1には、燃料電池車によって牽引される被牽引車に搭載された水素タンクから燃料電池車へ水素を供給することによって、航続距離を向上させる技術が開示されている。
【先行技術文献】
【特許文献】
【0004】
特開2021-115958号公報
【発明の概要】
【発明が解決しようとする課題】
【0005】
特許文献1に開示されたような従来の技術によれば、燃料電池車の航続距離を向上させることができる。しかしながら、被牽引車に搭載された水素タンク等の燃料電池車の外部に存在する外部水素タンクが使用される場合、被牽引車の使用頻度が少ないと外部水素タンクの回転率も低くなる。したがって、外部水素タンクに貯蔵された水素を有効活用するには改善の余地がある。
【0006】
かかる事情に鑑みてなされた本開示の目的は、外部水素タンクに貯蔵された水素を有効活用する技術を提供することにある。
【課題を解決するための手段】
【0007】
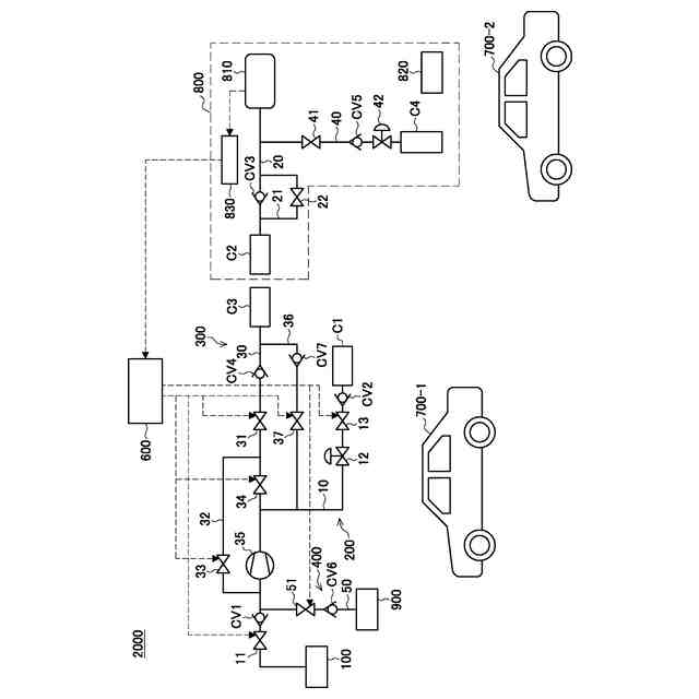
本開示の一実施形態に係る水素供給システムは、燃料電池車及び定置型燃料電池に選択的に水素を供給可能な水素供給源と、水素供給源から、連結された燃料電池車へ水素を供給するための第1水素供給機構と、水素供給源に連結可能な外部水素タンクであって、且つ、燃料電池車に水素を供給可能な外部水素タンクから燃料電池車へ水素を供給するための第2水素供給機構と、水素供給源から、連結された定置型燃料電池へ水素を供給するための第3水素供給機構と、水素供給源又は外部水素タンクから燃料電池車又は定置型燃料電池への水素の供給を制御する制御装置と、を備える。
【0008】
本開示の一実施形態に係る水素供給システムの制御装置は、第1燃料電池車及び定置型燃料電池に選択的に水素を供給可能な水素供給源と、水素供給源から、連結された第1燃料電池車へ水素を供給するための第1水素供給機構と、水素供給源に連結可能な外部水素タンクであって、且つ、第1燃料電池車に水素を供給可能な外部水素タンクから第1燃料電池車へ水素を供給するための第2水素供給機構と、水素供給源から、連結された定置型燃料電池へ水素を供給するための第3水素供給機構と、を備える水素供給システムに適用可能な水素供給システムの制御装置であって、一つ又は複数のプロセッサと、一つ又は複数のプロセッサと通信可能に接続された一つ又は複数のメモリと、を備え、プロセッサは、外部水素タンクの水素残量値及び内圧値を取得し、取得した水素残量値及び内圧値のうちの一つ又は複数の値に基づいて、第1燃料電池車又は定置型燃料電池への水素の供給を、水素供給源又は外部水素タンクの何れから優先的に行うかを決定する、処理を実行する。
【発明の効果】
【0009】
本開示の一実施形態によれば、外部水素タンクに貯蔵された水素を有効活用する技術を提供することができる。
【図面の簡単な説明】
【0010】
本開示の第1実施形態に係る水素供給システムの概略構成を示す模式図である。
本開示の第1実施形態に係る水素供給システムに連結可能な燃料電池車の概略構成を示す模式図である。
本開示の第1実施形態に係る水素供給システムが備える制御装置の構成例を示すブロック図である。
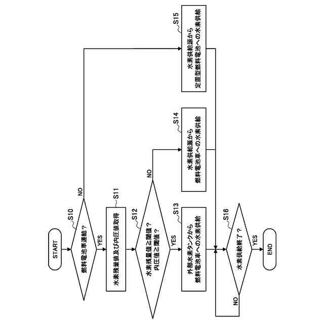
本開示の第1実施形態に係る水素供給システムが備える制御装置の動作例を示すフローチャートである。
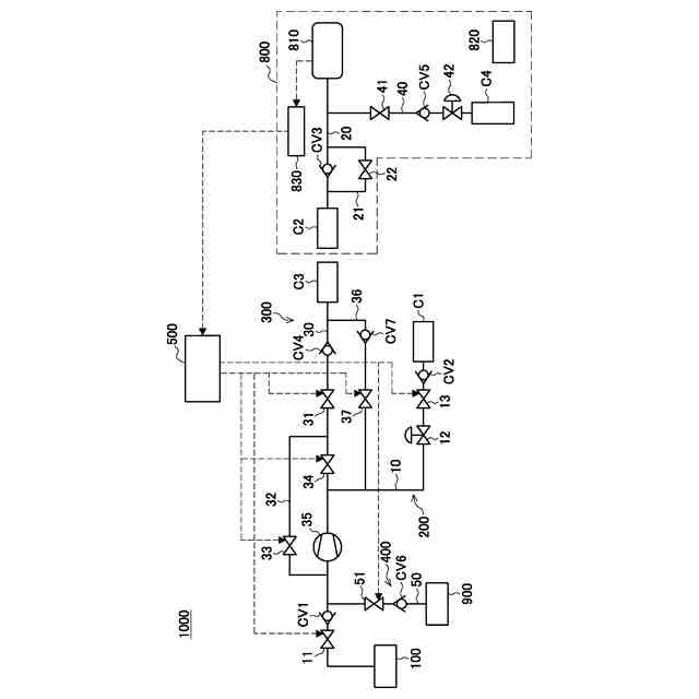
本開示の第2実施形態に係る水素供給システムの概略構成を示す模式図である。
本開示の第2実施形態に係る水素供給システムが備える制御装置の構成例を示すブロック図である。
本開示の第2実施形態に係る水素供給システムが備える制御装置の動作例を示すフローチャートである。
【発明を実施するための形態】
(【0011】以降は省略されています)
この特許をJ-PlatPat(特許庁公式サイト)で参照する
関連特許
株式会社SUBARU
車両
7日前
株式会社SUBARU
車載制御装置
5日前
株式会社SUBARU
運転支援装置
5日前
株式会社SUBARU
硫黄除去方法
7日前
株式会社SUBARU
車両用制御装置
3日前
株式会社SUBARU
燃料電池システム
10日前
株式会社SUBARU
車両用空調制御装置
3日前
株式会社SUBARU
ドアロック制御装置
11日前
株式会社SUBARU
ゴム組成物および防振ゴム
7日前
日本発條株式会社
ヒータ装置
7日前
日本発條株式会社
車両用支持装置
7日前
株式会社SUBARU
ドライビングシミュレータの制御装置
10日前
株式会社SUBARU
精神状態判定装置および精神状態判定方法
11日前
株式会社SUBARU
水素供給システム及び当該水素供給システムの制御装置
3日前
株式会社SUBARU
水素供給システム及び当該水素供給システムの制御装置
3日前
株式会社石井鐵工所
低温タンクの揚液装置
3か月前
株式会社石井鐵工所
低温タンクの揚液装置
5か月前
川崎重工業株式会社
竪型タンク
4か月前
川崎重工業株式会社
三重殻タンク
6か月前
川崎重工業株式会社
三重殻タンク
6か月前
株式会社神戸製鋼所
ガス供給システム
9か月前
大日本印刷株式会社
ガス充填容器
8か月前
トヨタ自動車株式会社
水素タンク
3か月前
川崎重工業株式会社
液化水素貯蔵タンク
8か月前
川崎重工業株式会社
液化水素貯蔵タンク
8か月前
川崎重工業株式会社
液化ガス貯蔵タンク
8か月前
那須電機鉄工株式会社
水素吸蔵合金タンク
8か月前
株式会社タツノ
充填ノズル
1か月前
帝人株式会社
繊維補強圧力容器及びその製造方法
1か月前
トヨタ自動車株式会社
水素充填装置
4か月前
岩谷産業株式会社
燃料ガス充填設備
7日前
株式会社タツノ
充填ノズル
17日前
豊田合成株式会社
圧力容器
6か月前
川崎重工業株式会社
低温流体の移送システム
4か月前
株式会社神戸製鋼所
水素吸蔵合金容器
2か月前
トヨタ自動車株式会社
水素消費システム
3か月前
続きを見る
他の特許を見る