TOP
|
特許
|
意匠
|
商標
特許ウォッチ
Twitter
他の特許を見る
10個以上の画像は省略されています。
公開番号
2025142497
公報種別
公開特許公報(A)
公開日
2025-10-01
出願番号
2024041886
出願日
2024-03-18
発明の名称
車載制御装置
出願人
株式会社SUBARU
代理人
弁理士法人太田特許事務所
主分類
B60R
16/02 20060101AFI20250924BHJP(車両一般)
要約
【課題】車両に後付けされる後付け装置に関するDIYの自由度を担保しつつ、車両内装の意匠性を確保すると共に後付け装置への供給電力を管理する技術を提供する。
【解決手段】車両に対して後付けされる後付け装置と接続可能な車載制御装置が備える一つ又は複数のプロセッサは、後付け装置を駆動させるための電力に関する出力条件をユーザが設定する操作を受け付け、設定された出力条件に基づいて、接続された後付け装置に供給する電力を制御する。
【選択図】図2
特許請求の範囲
【請求項1】
車両に対して後付けされる後付け装置と接続可能な車載制御装置であって、
一つ又は複数のプロセッサと、前記一つ又は複数のプロセッサと通信可能に接続された一つ又は複数のメモリと、を備え、
前記一つ又は複数のプロセッサは、
前記後付け装置を駆動させるための電力に関する出力条件をユーザが設定する操作を受け付け、
設定された前記出力条件に基づいて、接続された前記後付け装置に供給する電力を制御する、
車載制御装置。
続きを表示(約 470 文字)
【請求項2】
前記一つ又は複数のプロセッサは、
前記出力条件を、予め登録された一つ又は複数の出力条件のなかから前記ユーザにより選択可能に提示する、
請求項1に記載の車載制御装置。
【請求項3】
前記一つ又は複数のプロセッサは、
前記後付け装置の消費電力を取得し、
取得した前記消費電力に基づいて、前記ユーザにより設定された前記出力条件を変更することを前記ユーザに提案する、
請求項1に記載の車載制御装置。
【請求項4】
前記一つ又は複数のプロセッサは、
前記後付け装置の消費電流を取得し、
取得した前記消費電流の挙動変化に基づいて、前記電力の供給を制御するか否か、又は、警告を出力するか否か、を判定する、
請求項1に記載の車載制御装置。
【請求項5】
前記車載制御装置は、前記車両のパワートレイン、シャシ及びボディに関する制御ユニットから電力系統的に又は物理的に孤立している、
請求項1に記載の車載制御装置。
発明の詳細な説明
【技術分野】
【0001】
本開示は、車載制御装置に関する。
続きを表示(約 1,700 文字)
【背景技術】
【0002】
近年、車両に対して後付けされる後付け用車載装置が充実している。
【0003】
例えば特許文献1には、車載機器と、車載機器を制御するための通常操作が行われる操作部とを備えた車両に対して、後付けされる後付け用車載装置であって、操作部に対して通常操作と異なる特殊操作が行われたとき、車両に関する設定を変更可能とする制御部を備えたことを特徴とする後付け用車載装置が開示されている。
【先行技術文献】
【特許文献】
【0004】
特開2017-007552号公報
【発明の概要】
【発明が解決しようとする課題】
【0005】
車両のユーザのなかには、DIY(Do It Yourself)により様々な後付け装置を車両に後付けして楽しむといった者も存在する。ここで、近年の車両内装の設計においては、運転席等の周辺に配置された物理的な装置としてのスイッチ(以下、「物理スイッチ」とも称する)を極力減らす傾向にあるところ、後付け装置を設置するに伴って物理スイッチが増えてしまうと見栄え等が煩雑になるといった問題がある。また、車両のインストルメントパネル等の全体に統一感のある意匠性が付与されることが多く、物理スイッチの設置にあたってインストルメントパネル等に穴開け等を行うことは意匠性の観点からも望ましくない。さらに、後付け装置の動作に用いられる電力の量が車両に搭載されたバッテリに蓄積された電力を上回ってしまうと車両のバッテリが上がるといった恐れもある。
【0006】
かかる事情に鑑みてなされた本開示の目的は、車両に後付けされる後付け装置に関するDIYの自由度を担保しつつ、車両内装の意匠性を確保すると共に後付け装置への供給電力を管理する技術を提供することにある。
【課題を解決するための手段】
【0007】
本開示の一実施形態に係る車載制御装置は、車両に対して後付けされる後付け装置と接続可能な車載制御装置であって、一つ又は複数のプロセッサと、一つ又は複数のプロセッサに通信可能に接続された一つ又は複数のメモリと、を備え、一つ又は複数のプロセッサは、後付け装置を駆動させるための電力に関する出力条件をユーザが設定する操作を受け付け、設定された出力条件に基づいて、接続された後付け装置に供給する電力を制御する。
【発明の効果】
【0008】
本開示の一実施形態によれば、車両に後付けされる後付け装置に関するDIYの自由度を担保しつつ、車両内装の意匠性を確保すると共に後付け装置への供給電力を管理する技術を提供することができる。
【図面の簡単な説明】
【0009】
本開示の一実施形態に係る車載制御装置を備えた車両の構成例を示す模式図である。
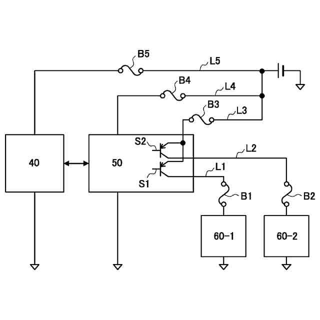
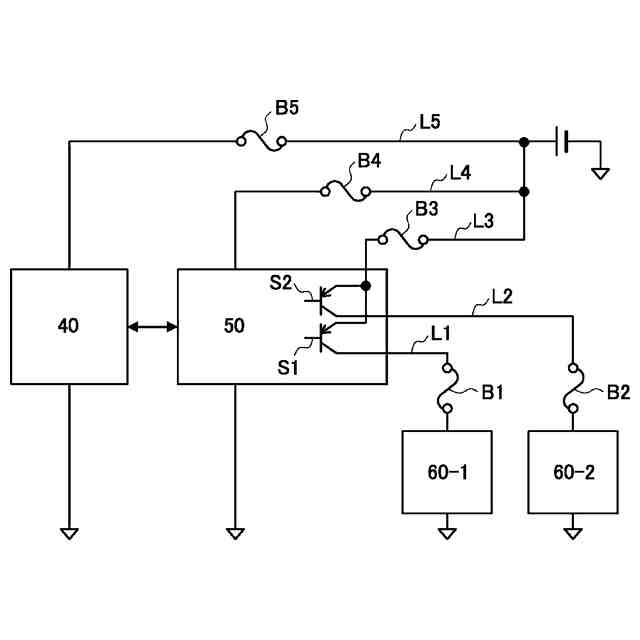
本開示の一実施形態に係る車載制御装置及び後付け装置の構成例を示す回路図である。
本開示の第1の実施の形態に係る車載制御装置の構成例を示すブロック図である。
本開示の第1の実施の形態に係る車載制御装置の動作例を説明するフローチャートである。
本開示の第2の実施の形態に係る車載制御装置の動作例を説明するフローチャートである。
本開示の第3の実施の形態に係る車載制御装置の動作例を説明するフローチャートである。
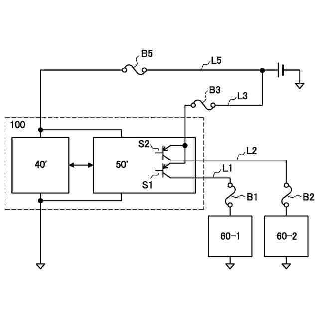
本開示の第1の変形例に係る車載制御装置及び後付け装置の構成例を示す回路図である。
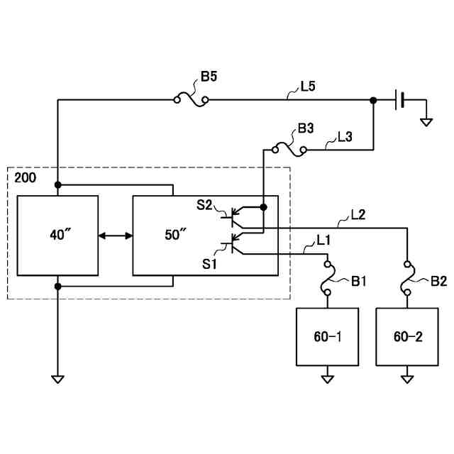
本開示の第2の変形例に係る車載制御装置及び後付け装置の構成例を示す回路図である。
本開示の第3の変形例に係る車載制御装置及び後付け装置の構成例を示す回路図である。
【発明を実施するための形態】
【0010】
以下、添付図面を参照しながら、本開示の好適な実施の形態について詳細に説明する。なお、本明細書及び図面において、実質的に同一の機能構成を有する構成要素については、同一の符号を付することにより重複説明を省略する。
(【0011】以降は省略されています)
この特許をJ-PlatPat(特許庁公式サイト)で参照する
関連特許
個人
カーテント
4か月前
個人
タイヤレバー
2か月前
個人
警告装置
5か月前
個人
車窓用防虫網戸
4か月前
個人
前輪キャスター
1か月前
個人
小型EVシステム
5か月前
個人
ホイルのボルト締結
3か月前
個人
タイヤ脱落防止構造
1か月前
個人
ルーフ付きトライク
1か月前
個人
車輪清掃装置
4か月前
個人
車両通過構造物
2か月前
井関農機株式会社
作業車両
3か月前
井関農機株式会社
作業車両
3か月前
個人
キャンピングトライク
3か月前
個人
マスタシリンダ
7日前
日本精機株式会社
表示装置
2か月前
日本精機株式会社
表示装置
2か月前
日本精機株式会社
表示装置
1か月前
日本精機株式会社
表示装置
2か月前
個人
車両用スリップ防止装置
3か月前
個人
ワイパーゴム性能保持具
4か月前
個人
アクセルのソフトウェア
3か月前
個人
キャンピングトレーラー
3か月前
個人
乗合路線バスの客室装置
2か月前
株式会社豊田自動織機
産業車両
2か月前
個人
自動車ドア開度規制ベルト
5か月前
日本精機株式会社
車室演出装置
1か月前
株式会社ニフコ
保持装置
3か月前
個人
音声ガイド、音声サービス
2か月前
日本精機株式会社
車載表示装置
3か月前
株式会社ニフコ
収納装置
24日前
日本精機株式会社
車載表示装置
15日前
株式会社クラベ
ヒータユニット
4か月前
個人
円湾曲ホイール及び球体輪
2か月前
井関農機株式会社
収穫作業車両
4か月前
個人
車載小物入れ兼雨傘収納具
3か月前
続きを見る
他の特許を見る