TOP
|
特許
|
意匠
|
商標
特許ウォッチ
Twitter
他の特許を見る
公開番号
2025138160
公報種別
公開特許公報(A)
公開日
2025-09-25
出願番号
2024037078
出願日
2024-03-11
発明の名称
ドアロック制御装置
出願人
株式会社SUBARU
代理人
弁理士法人エビス国際特許事務所
主分類
E05B
77/54 20140101AFI20250917BHJP(錠;鍵;窓または戸の付属品;金庫)
要約
【課題】不要な解錠を防止して車両及び乗員の安全を確保しながら、緊急時には確実かつ速やかに解錠を行う。
【解決手段】自車両のドアに設けられるドアロック機構の施錠又は解錠を制御するドアロック制御装置であって、自車両内の乗員を検知する乗員検知部と、自車両の周辺で生じた車外音に関する車外音情報と緊急車両のサイレン音に関するサイレン音情報とに基づいて、自車両の所定距離範囲内の緊急車両を検知する緊急車両検知部と、乗員検知部と緊急車両検知部の検知結果に基づいてドアロック機構の解錠の可否を判定する解錠可否判定部と、ドアロック機構の駆動を制御する駆動制御部と、を備え、解錠可否判定部は、自車両内の乗員が検知され、且つ、自車両の所定距離範囲内の緊急車両が検知された場合にドアロック機構の解錠を許可する、ドアロック制御装置を提供する。
【選択図】図2
特許請求の範囲
【請求項1】
自車両のドアに設けられるドアロック機構の施錠又は解錠を制御するドアロック制御装置であって、
自車両内の乗員を検知する乗員検知部と、
自車両の周辺で生じた車外音に関する車外音情報と緊急車両のサイレン音に関するサイレン音情報とに基づいて、自車両の所定距離範囲内の前記緊急車両を検知する緊急車両検知部と、
前記乗員検知部と前記緊急車両検知部の検知結果に基づいて前記ドアロック機構の解錠の可否を判定する解錠可否判定部と、
前記ドアロック機構の駆動を制御する駆動制御部と、を備え、
前記解錠可否判定部は、
自車両内の乗員が検知され、且つ、自車両の所定距離範囲内の緊急車両が検知された場合に前記ドアロック機構の解錠を許可する、ドアロック制御装置。
続きを表示(約 260 文字)
【請求項2】
前記駆動制御部は、
前記ドアに対する開放操作が入力され、且つ、前記ドアロック機構の解錠が許可されている場合に、前記ドアロック機構を駆動させて解錠する、請求項1記載のドアロック制御装置。
【請求項3】
前記緊急車両検知部は、
前記車外音情報に、前記サイレン音が含まれる場合であって、
前記車外音情報のサイレン音の大きさが、所定の大きさ以上である場合に、自車両内の所定距離範囲内に前記緊急車両が存在すると判定する、請求項1又は請求項2記載のドアロック制御装置。
発明の詳細な説明
【技術分野】
【0001】
本発明は、車両のドアの施錠又は解錠を制御するドアロック制御装置に関する。
続きを表示(約 1,800 文字)
【背景技術】
【0002】
車両のドアは、乗員による手動操作によって施錠することができる他、走行開始に係る操作が行われた場合や、所定車速以上となった場合等所定の条件を満たす場合にドアロック制御装置によって自動的に施錠されるように構成されている。車両では、ドアを施錠して乗員を車内に留めることで乗員を保護し、安全を担保している。
【0003】
例えば、特許文献1には、ドアロック指示があった場合又は走行中であることを検知した場合にドアをロック(施錠)し、ロック解除指示があった場合又は車両の停止維持動作が行われた場合にドアをアンロック(解錠)する車両が開示されている。また、特許文献1の車両では、走行継続条件が成立しなかったことで自動的に停止した場合に、当該車両の停止態様と周辺の他車両の有無に基づいて、ドアのロックとアンロックとを制御している。
【先行技術文献】
【特許文献】
【0004】
特開2019-217924号公報
【発明の概要】
【発明が解決しようとする課題】
【0005】
ところで、ドアが施錠された状態又は解錠された状態のいずれが好ましいかは、車両の停止又は走行状況、外部環境の他、車両や乗員の状況によって異なる。例えば、怪我や急病等の乗員の救護を要するような緊急時には、ドアが施錠されていると、迅速かつ円滑な救護活動の妨げとなる。特に、乗員に意識がない場合や、怪我等によって乗員の動きが妨げられている場合には、乗員による解錠操作がなされないため、救護活動を円滑に行うことができない場合がある。一方で、車両が停止した際にドアが解錠された状態が長時間継続した場合には、車両及び乗員の安全を担保できない場合がある。
【0006】
このため、ドアロック制御装置において、不要な解錠を防止しながら、緊急時であるか否かを正確に判断し、緊急時においては確実かつ速やかに解錠して救護活動を迅速かつ円滑に行うことができる環境を提供することが望まれる。
【0007】
本発明は、このような状況に対処することを課題としている。すなわち、不要な解錠を防止して車両及び乗員の安全を確保しながら、緊急時には確実かつ速やかに解錠を行うこと、等を課題としている。
【課題を解決するための手段】
【0008】
このような課題を解決するために、本発明に係るドアロック制御装置は、以下の構成を具備する。
すなわち、本発明の一態様は、自車両のドアに設けられるドアロック機構の施錠又は解錠を制御するドアロック制御装置であって、自車両内の乗員を検知する乗員検知部と、自車両の周辺で生じた車外音に関する車外音情報と緊急車両のサイレン音に関するサイレン音情報とに基づいて、自車両の所定距離範囲内の前記緊急車両を検知する緊急車両検知部と、前記乗員検知部と前記緊急車両検知部の検知結果に基づいて前記ドアロック機構の解錠の可否を判定する解錠可否判定部と、前記ドアロック機構の駆動を制御する駆動制御部と、を備え、前記解錠可否判定部は、自車両内の乗員が検知され、且つ、自車両の所定距離範囲内の緊急車両が検知された場合に前記ドアロック機構の解錠を許可する、ドアロック制御装置を提供する。
【発明の効果】
【0009】
このような特徴を有するドアロック制御装置によれば、不要な解錠を防止して車両及び乗員の安全を確保しながら、緊急時には確実かつ速やかに解錠を行うことができる。
【図面の簡単な説明】
【0010】
本発明の実施形態に係るドアロック制御装置を含む車両用制御システムの概略構成を示す説明図である。
本発明の実施形態に係るドアロック制御ECUの概略構成を示す説明図である。
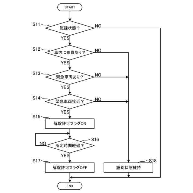
本発明の実施形態に係るドアロック制御ECUによる処理であって、ドアロック機構の解錠許可フラグの設定処理を示すフローチャートである。
本発明の実施形態に係るドアロック制御ECUによる処理であって、ドアへの操作が入力された場合のドアロック機構の解錠処理を示すフローチャートである。
【発明を実施するための形態】
(【0011】以降は省略されています)
この特許をJ-PlatPat(特許庁公式サイト)で参照する
関連特許
個人
物品保管箱
1か月前
個人
防犯用ドア装置
1か月前
個人
ピンシリンダー錠。
2か月前
個人
ポスト機能付き手提げ金庫
1か月前
個人
二重ロック機能付小物入れ
1か月前
個人
顔認証による入室システム
2か月前
株式会社ニシムラ
ラッチ錠
3か月前
ミサワホーム株式会社
錠受具
2か月前
三協立山株式会社
開口部装置
1か月前
リョービ株式会社
ドアクローザ
2か月前
リョービ株式会社
ドアクローザ
2か月前
個人
無人貸金庫システム
7日前
株式会社アルファ
電気錠
2か月前
積水ハウス株式会社
引き戸
4日前
積水ハウス株式会社
引き戸
16日前
有限会社シティング
引き戸
14日前
株式会社ベスト
扉及び個室
4日前
美和ロック株式会社
ハンドル装置
3か月前
株式会社ベスト
開き扉の開閉装置
1か月前
タキゲン製造株式会社
抜差し蝶番
3か月前
株式会社榮伸
カバン蓋の係止装置
1か月前
マツ六株式会社
引戸用鎌錠
4か月前
ミネベアショウワ株式会社
ドア装置
1か月前
スズキ株式会社
車両用乗員保護装置
1か月前
美和ロック株式会社
IDキー
2か月前
ミネベアショウワ株式会社
ドア装置
1か月前
神田工業株式会社
解錠システム
2か月前
株式会社LIXIL
建具
1か月前
ミネベアミツミ株式会社
電気錠
4か月前
株式会社LIXIL
建具
4日前
株式会社WEST inx
引戸用引手
3か月前
株式会社ユニオン
ドアハンドル
8日前
株式会社LIXIL
建具
2か月前
株式会社アイシン
車両用ドア装置
1日前
日本プラスト株式会社
ロック装置
1か月前
株式会社ベスト
グレビティヒンジ
2か月前
続きを見る
他の特許を見る