TOP
|
特許
|
意匠
|
商標
特許ウォッチ
Twitter
他の特許を見る
公開番号
2025139031
公報種別
公開特許公報(A)
公開日
2025-09-26
出願番号
2024037739
出願日
2024-03-12
発明の名称
燃料電池システム
出願人
株式会社SUBARU
代理人
弁理士法人太田特許事務所
主分類
H01M
8/04111 20160101AFI20250918BHJP(基本的電気素子)
要約
【課題】過給機の劣化を抑制してアイドリング時や低温環境下での始動時などに燃料電池を低ストイキ制御で低電圧駆動することが可能な燃料電池システムを提供する。
【解決手段】本開示の一形態における燃料電池システムは、コンプレッサーと燃料電池とを接続して酸化剤ガスが流通するガス供給流路と、燃料電池とタービンとを接続して排ガスが流通するガス排気流路と、ガス排気流路から分岐すると共にガス供給流路へ合流する排ガス還流路と、排ガス還流路に設けられて排ガスを送風する還流用ブロワと、排ガス還流路に設けられて排ガス還流路の開閉を行う還流用バルブと、還流用ブロワの駆動制御および還流用バルブの開閉制御を行う制御装置と、を含み、制御装置は、コンプレッサーの駆動が停止している期間に還流用バルブを開弁すると共に還流用ブロワを介して排ガスを燃料電池に供給する制御を実行する。
【選択図】 図1
特許請求の範囲
【請求項1】
過給機のコンプレッサーから供給された酸化剤ガスを燃料電池に供給し、前記燃料電池の駆動によって生じた排ガスを前記過給機のタービンへ排気する燃料電池システムであって、
前記コンプレッサーと前記燃料電池とを接続して前記酸化剤ガスが流通するガス供給流路と、
前記燃料電池と前記タービンとを接続して前記排ガスが流通するガス排気流路と、
前記ガス排気流路から分岐すると共に、前記ガス供給流路へ合流する排ガス還流路と、
前記排ガス還流路に設けられて前記排ガスを送風する還流用ブロワと、
前記排ガス還流路に設けられて前記排ガス還流路の開閉を行う還流用バルブと、
前記還流用ブロワの駆動制御および前記還流用バルブの開閉制御を行う制御装置と、を含み、
前記制御装置は、前記コンプレッサーの駆動が停止している期間に前記還流用バルブを開弁すると共に、前記還流用ブロワを介して前記排ガスを前記燃料電池に供給する制御を実行する、燃料電池システム。
続きを表示(約 740 文字)
【請求項2】
前記ガス供給流路に設けられて前記燃料電池への酸化剤ガスの供給量を調整する入口弁と、
前記ガス排気流路に設けられて前記燃料電池から排出される排ガスの排出量を調整する背圧弁と、をさらに含み、
前記排ガス還流路は前記入口弁よりも上流側に設けられた合流部を介して前記ガス供給流路と接続され、前記排ガス還流路は前記背圧弁よりも下流側に設けられた分岐部を介して前記ガス排気流路から分岐されてなる、
請求項1に記載の燃料電池システム。
【請求項3】
前記ガス排気流路に設けられて前記排ガスに対して気液分離を行う気液分離器をさらに含み、
前記気液分離器は、前記ガス排気流路のうち前記分岐部と前記背圧弁との間に設置されてなる、
請求項2に記載の燃料電池システム。
【請求項4】
前記ガス供給流路に設けられて前記酸化剤ガスの冷却を行うインタークーラをさらに含み、
前記合流部は、前記ガス供給流路のうち前記インタークーラよりも上流側に設置されてなる、
請求項2又は3に記載の燃料電池システム。
【請求項5】
前記過給機に接続されてエアフィルタを通過した前記酸化剤ガスを前記コンプレッサーに供給する気体吸引流路と、
前記過給機に接続されて前記タービンから車外へ前記排ガスを排気する気体排出流路と、
前記気体吸引流路と前記気体排出流路との少なくとも一方に設けられた逆流防止バルブと、を含み、
前記制御装置は、前記コンプレッサーの駆動が停止し且つ前記還流用ブロワが駆動している期間に前記逆流防止バルブを閉塞する制御を行う、
請求項4に記載の燃料電池システム。
発明の詳細な説明
【技術分野】
【0001】
本開示は、例えば燃料電池車などに適用される燃料電池システムに関する。
続きを表示(約 1,900 文字)
【背景技術】
【0002】
一般に燃料電池システムは、一方の電極(燃料極)に対して水素ガスを供給するとともに、他方の電極(空気極)に対して酸素ガスを供給し、これらが反応することで電気エネルギーを得ている。
【0003】
近年では電動ターボチャージャなどの過給機を介して燃料電池に空気(酸素ガス)を供給することも行われている。特許文献1に示されるように、燃料電池へ酸素ガスを供給するカソードガス吸気系は、空気を取り入れる公知のエアフィルタと、このエアフィルタで取り込んだ空気を圧縮する公知の電動ターボチャージャと、この電動ターボチャージャで圧縮されて温度上昇した圧縮空気を冷却する公知のインタークーラなどを含んで構成されている。
【先行技術文献】
【特許文献】
【0004】
特開2023-140874号公報
【発明の概要】
【発明が解決しようとする課題】
【0005】
しかしながら上述した各特許文献に限らず現在の技術では以下に述べる課題が存在する。すなわち車載される燃料電池は、例えばアイドリング時や低温環境下での始動時などにストイキオメトリックを下げた状態での制御(以下、このような低酸素状態での燃料電池の運転制御を「低ストイキ制御」とも称する)を実現するため間欠的に駆動されることがある。このとき燃料電池へ酸素ガスを供給するために過給機が間欠駆動される場合には、例えばコンプレッサーの劣化が進むため可能な限り起動停止の回数は削減したい。特に軽量化などを目的としてコンプレッサーにエアベアリングが採用される場合には、上記した起動停止に伴うエアベアリングの摩擦による劣化が顕著となり得る。
【0006】
本開示は、上記した課題を一例に鑑みて為されたものであり、過給機を介して燃料電池に酸素ガスが供給される燃料電池システムにおいて過給機の劣化を抑制してアイドリング時や低温環境下での始動時などに燃料電池を低ストイキ制御で低電圧駆動することが可能な燃料電池システムを提供することを目的とする。
【課題を解決するための手段】
【0007】
上記課題を解決するため、本開示の一実施形態における燃料電池システムは、過給機のコンプレッサーから供給された酸化剤ガスを燃料電池に供給し、前記燃料電池の駆動によって生じた排ガスを前記過給機のタービンへ排気する燃料電池システムであって、前記コンプレッサーと前記燃料電池とを接続して前記酸化剤ガスが流通するガス供給流路と、前記燃料電池と前記タービンとを接続して前記排ガスが流通するガス排気流路と、前記ガス排気流路から分岐すると共に、前記ガス供給流路へ合流する排ガス還流路と、前記排ガス還流路に設けられて前記排ガスを送風する還流用ブロワと、前記排ガス還流路に設けられて前記排ガス還流路の開閉を行う還流用バルブと、前記還流用ブロワの駆動制御および前記還流用バルブの開閉制御を行う制御装置と、を含み、前記制御装置は、前記コンプレッサーの駆動が停止している期間に前記還流用バルブを開弁すると共に、前記還流用ブロワを介して前記排ガスを前記燃料電池に供給する制御を実行する。
【発明の効果】
【0008】
本開示の燃料電池システムによれば、過給機の劣化を抑制してアイドリング時や低温環境下での始動時などに燃料電池を低ストイキ制御で低電圧駆動することが可能となる。
【図面の簡単な説明】
【0009】
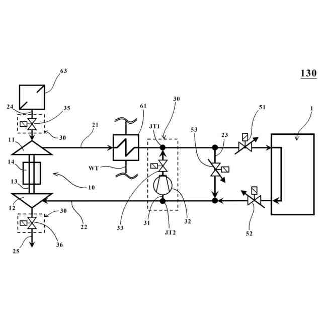
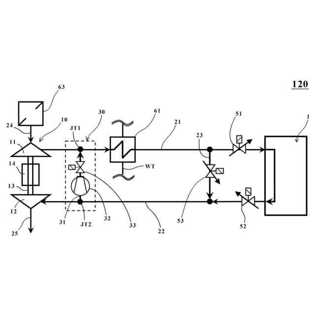
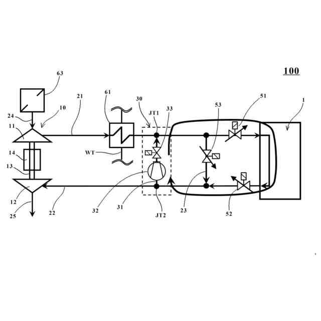
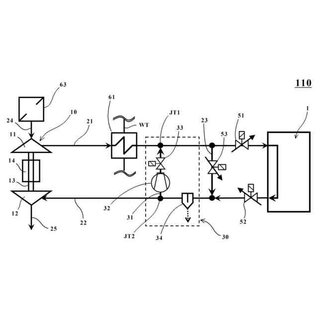
第1実施形態に係る燃料電池システムが搭載された燃料電池車の機能ブロックを示す模式図である。
第1実施形態に係る制御装置(FCCU)とその周辺装置を含む機能ブロック図である。
第1実施形態に係る燃料電池システムの低ストイキ状態での低電圧駆動方法を示すフローチャートである。
低ストイキ状態での燃料電池システムのカソード系における気体の循環状態を示す模式図である。
第2実施形態に係る燃料電池システムのカソード系の構成を示す模式図である。
第3実施形態に係る燃料電池システムのカソード系の構成を示す模式図である。
第4実施形態に係る燃料電池システムのカソード系の構成を示す模式図である。
【発明を実施するための形態】
【0010】
≪第1実施形態≫
次に本開示を実施するための好適な実施形態について説明する。また、以下で詳述する以外の構成については、上記した特許文献を含む公知の燃料電池システムに関する要素技術や構成を適宜補完して実施することができる。
(【0011】以降は省略されています)
この特許をJ-PlatPat(特許庁公式サイト)で参照する
関連特許
個人
フレキシブル電気化学素子
1日前
ローム株式会社
半導体装置
3日前
ローム株式会社
半導体装置
8日前
株式会社ユーシン
操作装置
1日前
株式会社GSユアサ
蓄電装置
8日前
オムロン株式会社
電磁継電器
2日前
株式会社GSユアサ
蓄電設備
1日前
株式会社ホロン
冷陰極電子源
8日前
太陽誘電株式会社
全固体電池
8日前
太陽誘電株式会社
コイル部品
1日前
株式会社GSユアサ
蓄電設備
1日前
日本特殊陶業株式会社
保持装置
8日前
日本特殊陶業株式会社
保持装置
8日前
日東電工株式会社
積層体
2日前
TDK株式会社
電子部品
8日前
トヨタ自動車株式会社
蓄電装置
1日前
トヨタ自動車株式会社
バッテリ
2日前
サクサ株式会社
電池の固定構造
1日前
ノリタケ株式会社
熱伝導シート
1日前
日本特殊陶業株式会社
電極
8日前
TDK株式会社
コイル部品
8日前
日本特殊陶業株式会社
電極
8日前
日本特殊陶業株式会社
電極
8日前
ローム株式会社
半導体装置
3日前
日本特殊陶業株式会社
電極
8日前
日本製紙株式会社
導電性フィルム
2日前
株式会社ダイヘン
搬送装置
1日前
古河電気工業株式会社
端子
1日前
ローム株式会社
半導体装置
3日前
ローム株式会社
半導体装置
2日前
SMK株式会社
キートップ及びスイッチ
3日前
日本製紙株式会社
導電性フィルム
2日前
日東電工株式会社
電子装置
4日前
ベストテック株式会社
装置支持具
1日前
東レエンジニアリング株式会社
実装装置
8日前
東レエンジニアリング株式会社
実装装置
2日前
続きを見る
他の特許を見る