TOP
|
特許
|
意匠
|
商標
特許ウォッチ
Twitter
他の特許を見る
公開番号
2025135765
公報種別
公開特許公報(A)
公開日
2025-09-19
出願番号
2024033710
出願日
2024-03-06
発明の名称
乗員保護装置
出願人
株式会社SUBARU
代理人
個人
主分類
B60R
21/05 20060101AFI20250911BHJP(車両一般)
要約
【課題】車両に衝突が発生したときにステアリング部が乗員に与える負担を軽減させる。
【解決手段】車両Vに衝突が発生したときに乗員Pに向かって膨張展開するエアバッグABが収納されているステアリング部100と、ステアリング部100における操舵操作を伝達させるコラムシャフト部200と、ステアリング部100とコラムシャフト部200とを固定および分離可能に連結しているステアリング連結部300と、を含み、ステアリング連結部300は、コラムシャフト部200の車両後側に固定されている磁石吸着可能な連結固定部310と、ステアリング部100の車両前側に設けられ、励磁電流を供給されることによって磁力を発生させる電磁石部320と、電磁石部320を励磁させることによってステアリング部100とコラムシャフト部200とを固定あるいは分離させる駆動部330と、を含んで構成されている。
【選択図】図2
特許請求の範囲
【請求項1】
車両に衝突が発生したときに乗員に向かって膨張展開するエアバッグが収納されているステアリング部と、
前記車両の前輪に前記ステアリング部における操舵操作を伝達させるコラムシャフト部と、
前記ステアリング部と前記コラムシャフト部とを固定および分離可能に連結しているステアリング連結部と、
を含み、
前記ステアリング連結部は、
前記コラムシャフト部の車両後側に固定されている磁石吸着可能な連結固定部と、
前記ステアリング部の車両前側に設けられ、励磁電流を供給されることによって磁力を発生させる電磁石部と、
前記電磁石部を励磁させることによって前記ステアリング部と前記コラムシャフト部とを固定あるいは分離させる駆動部と、
を含んで構成されていることを特徴とする乗員保護装置。
続きを表示(約 460 文字)
【請求項2】
前記コラムシャフト部の車両前側において、前記コラムシャフト部の外側を覆うように設けられている中空円柱形状を有しているロアコラムシャフトカバー部と、
前記ステアリング部の車両前側に固定され、前記ロアコラムシャフトカバー部の部材とは異なる部材によって中空円錐形状に形成され、車両前側において円錐形状の頂点側が前記ロアコラムシャフトカバー部の内側に係合しているアッパーコラムシャフトカバー部と、
を含んで構成されていることを特徴とする請求項1に記載の乗員保護装置。
【請求項3】
前記アッパーコラムシャフトカバー部には、前記車両に衝突が発生したときに前記中空円錐形状を変形させる脆弱部を備えていることを特徴とする請求項2に記載の乗員保護装置。
【請求項4】
前記コラムシャフト部には、前記コラムシャフト部の径方向における断面積が車両後側端の断面積および車両前側端の断面積よりも小さい括れ部が設けられていることを特徴とする請求項3に記載の乗員保護装置。
発明の詳細な説明
【技術分野】
【0001】
本発明は、乗員保護装置に関する。
続きを表示(約 2,000 文字)
【背景技術】
【0002】
従来から、車両の前面側から衝突が発生したときに、運転席に着座している乗員を保護するために車両のステアリングホイールからエアバッグが膨張展開する乗員保護装置が実用化され広く普及している。
【0003】
上記に示す乗員保護装置として、車両前方に移動可能な衝撃吸収機構を有するステアリングコラムと、該ステアリングコラムの下方に配設されたニーエアバッグ装置と、通常使用時にステアリングコラムが車両前方に移動しないように該ステアリングコラムを固定するとともに、ニーエアバッグ装置の作動時にステアリングコラムの固定状態を解除するコラムストッパ(固定手段)と、を有している。コラムストッパによるステアリングコラムの固定状態を解除するために、ニーエアバッグ袋体の膨張力を利用しており、乗員側からステアリングコラムへの荷重入力は不要であるため、衝撃吸収性能をより向上させる技術が開示されている(例えば、特許文献1参照)。
【先行技術文献】
【特許文献】
【0004】
特開2007-196734号公報
【発明の概要】
【発明が解決しようとする課題】
【0005】
特許文献1に示す技術は、車両に衝突が発生したときに、ステアリングコラムの固定状態が解除されステアリングホイール(ステアリング部)が車両前側に移動することによって、乗員とステアリング部との間の衝撃を吸収する技術である。
【0006】
しかしながら、特許文献1に示す技術においては、ステアリング部の角度は変化しないため、ステアリング部が成す角度と乗員の胸部等が成す角度とが異なる状態になる虞がある。そのため、ステアリング部の一部が乗員の胸部等と干渉し、乗員に負担を与える虞があるという課題があった。
【0007】
そこで、本発明は上述の課題に鑑みてなされたものであり、車両に衝突が発生したときにステアリング部が乗員に与える負担を軽減させる乗員保護装置を提供することを目的とする。
【課題を解決するための手段】
【0008】
本発明の1またはそれ以上の実施形態は、車両に衝突が発生したときに乗員に向かって膨張展開するエアバッグが収納されているステアリング部と、前記車両の前輪に前記ステアリング部における操舵操作を伝達させるコラムシャフト部と、前記コラムシャフト部と前記ステアリング部とを分離可能に連結しているステアリング連結部と、を含み、前記ステアリング連結部は、前記コラムシャフト部に設けられている磁石吸着可能な連結固定部と、前記ステアリング部の車両前側に設けられている電磁石部と、前記車両に衝突が発生したときに、前記電磁石部を励磁させることによって前記ステアリング部と前記コラムシャフト部とを分離させる駆動部と、を含んで構成されている乗員保護装置を提案している。
【発明の効果】
【0009】
本発明の1またはそれ以上の実施形態によれば、車両に衝突が発生したときにステアリング部が乗員に与える負担を軽減させることができる。
【図面の簡単な説明】
【0010】
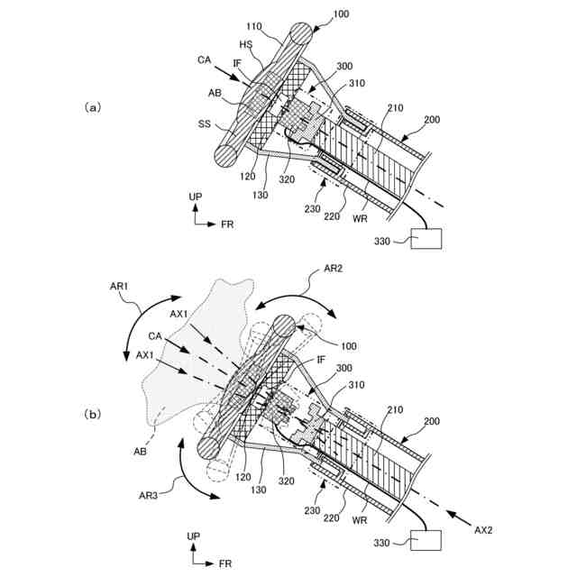
本発明の第1の実施形態に係る乗員保護装置の構成を示す図である。
本発明の第1の実施形態に係る乗員保護装置を図1に示す矢印方向から見たA-A線に沿う断面図である。
本発明の第1の実施形態に係る乗員保護装置におけるステアリング部およびステリングボス部の状態を示した図であり、(a)は車両に衝突が発生していないときの状態を示した断面図であり、(b)は車両に衝突が発生したときの状態を示した断面図である。
本発明の第1の実施形態に係る乗員保護装置において、車両に衝突が発生し運転席に着座している乗員がステアリング部に干渉したときの状態を(a)~(c)の順に時系列で示した断面図である。
本発明の第2の実施形態に係る乗員保護装置の構成を示す図である。
本発明の第2の実施形態に係る乗員保護装置を図5に示す矢印方向から見たAA-AA線に沿う断面図である。
本発明の第2の実施形態に係る乗員保護装置におけるステアリング部およびステリングボス部の状態を示した図であり、(a)は車両に衝突が発生していないときの状態を示した断面図であり、(b)は車両に衝突が発生したときの状態を示した断面図である。
本発明の第2の実施形態に係る乗員保護装置において、車両に衝突が発生し運転席に着座している乗員がステアリング部に干渉したときの状態を(a)~(b)の順に時系列で示した断面図である。
【発明を実施するための形態】
(【0011】以降は省略されています)
この特許をJ-PlatPat(特許庁公式サイト)で参照する
関連特許
個人
タイヤレバー
2か月前
個人
前輪キャスター
1か月前
個人
上部一体型自動車
20日前
個人
ルーフ付きトライク
2か月前
個人
ホイルのボルト締結
3か月前
個人
タイヤ脱落防止構造
1か月前
日本精機株式会社
表示装置
2か月前
井関農機株式会社
作業車両
4か月前
個人
マスタシリンダ
27日前
日本精機株式会社
表示装置
2か月前
日本精機株式会社
表示装置
2か月前
井関農機株式会社
作業車両
4か月前
個人
車両通過構造物
2か月前
日本精機株式会社
表示装置
2か月前
個人
キャンピングトライク
4か月前
個人
車両用スリップ防止装置
4か月前
個人
アクセルのソフトウェア
3か月前
個人
乗合路線バスの客室装置
3か月前
個人
キャンピングトレーラー
4か月前
個人
音声ガイド、音声サービス
3か月前
株式会社ニフコ
収納装置
1か月前
株式会社ニフコ
照明装置
2か月前
株式会社豊田自動織機
産業車両
2か月前
日本精機株式会社
車載表示装置
3か月前
個人
車載小物入れ兼雨傘収納具
3か月前
個人
円湾曲ホイール及び球体輪
3か月前
日本精機株式会社
車載表示装置
1日前
株式会社ニフコ
保持装置
3か月前
日本精機株式会社
車室演出装置
1か月前
日本精機株式会社
画像投映装置
16日前
日本精機株式会社
車載表示装置
1か月前
日本精機株式会社
車両用投射装置
21日前
日本無線株式会社
取付金具
3か月前
日本精機株式会社
車両用表示装置
16日前
株式会社SUBARU
車両
14日前
トヨタ自動車株式会社
車両
4か月前
続きを見る
他の特許を見る