TOP
|
特許
|
意匠
|
商標
特許ウォッチ
Twitter
他の特許を見る
公開番号
2025150365
公報種別
公開特許公報(A)
公開日
2025-10-09
出願番号
2024051204
出願日
2024-03-27
発明の名称
内燃機関システム
出願人
三菱自動車工業株式会社
代理人
弁理士法人相原国際知財事務所
主分類
F02B
19/12 20060101AFI20251002BHJP(燃焼機関;熱ガスまたは燃焼生成物を利用する機関設備)
要約
【課題】副燃焼室に配置された点火装置を用いて、未燃燃料が堆積したデポジットの生成をより適切に抑制することが可能な内燃機関システムを提供する。
【解決手段】内燃機関システムは、空気と燃料との混合気が充填される主燃焼室40と、複数の連通孔を介して主燃焼室40と連通する副燃焼室42と、副燃焼室42に配置され、副燃焼室42内の混合気に点火する第2点火プラグ62と、を含む本体10と、本体10を制御する制御装置と、を備える。制御装置は、本体10の運転停止処理において、燃料供給の停止後、所定期間にわたって第2点火プラグ62による点火を実行する。
【選択図】図2
特許請求の範囲
【請求項1】
空気と燃料との混合気が充填される主燃焼室と、
複数の連通孔を介して前記主燃焼室と連通する副燃焼室と、
前記副燃焼室に配置され、前記副燃焼室内の前記混合気に点火する副室点火装置と、
を含む内燃機関本体と、
前記内燃機関本体を制御する制御装置と、
を備え、
前記制御装置は、前記内燃機関本体の運転停止処理において、燃料供給を停止してから所定期間にわたって前記副室点火装置による点火を少なくとも1回以上実行する内燃機関システム。
続きを表示(約 790 文字)
【請求項2】
前記内燃機関本体に接続される電動機を備え、
前記内燃機関本体の運転停止は、燃料供給を停止して前記内燃機関本体の回転数を低下させるニュートラルストップと、燃料供給を停止すると共に前記電動機を作動させて前記内燃機関本体の回転数を低下させるモータリングストップとを含み、
前記制御装置は、
前記ニュートラルストップでは、燃料供給を停止してから前記所定期間として前記内燃機関本体の回転数が所定回転数以下となるまでの間、前記副室点火装置による点火を少なくとも1回以上実行し、
前記モータリングストップでは、燃料供給を停止してから前記所定期間にわたって前記電動機により前記内燃機関本体の回転数低下を抑制しながら前記副室点火装置による点火を少なくとも1回以上実行し、前記所定期間が経過すると前記電動機により前記内燃機関本体の回転数を低下させる
請求項1に記載の内燃機関システム。
【請求項3】
前記主燃焼室に配置され、前記主燃焼室内の前記混合気に点火する主室点火装置をさらに備え、
前記制御装置は、前記運転停止処理の開始前に前記副室点火装置による点火を含む点火方式を実行していた場合、前記主室点火装置のみを用いて点火を実行していた場合に比べて、前記所定期間を短く設定する請求項1または2に記載の内燃機関システム。
【請求項4】
前記制御装置は、前記運転停止処理の開始時における前記内燃機関本体の温度が高いほど、前記所定期間を短く設定する請求項1または2に記載の内燃機関システム。
【請求項5】
前記制御装置は、前記運転停止処理の開始前にアイドリング運転を実行していた場合、前記アイドリング運転の時間が長いほど、前記所定期間を長く設定する請求項1または2に記載の内燃機関システム。
発明の詳細な説明
【技術分野】
【0001】
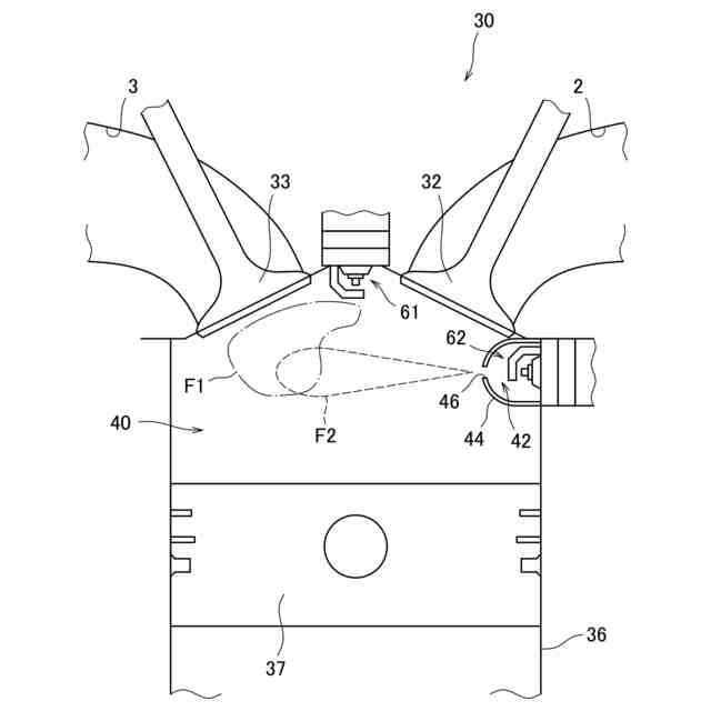
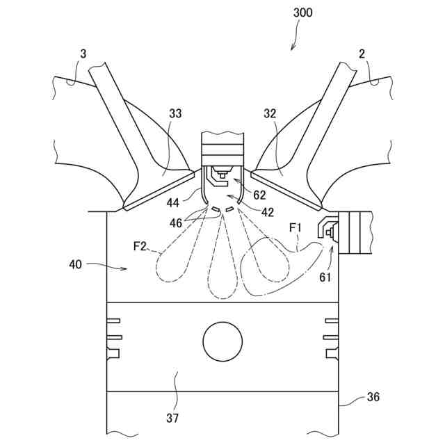
本発明は、副燃焼室に配置された点火装置を備えた内燃機関システムに関する。
続きを表示(約 1,600 文字)
【背景技術】
【0002】
従来、副燃焼室に配置された点火装置を備えた内燃機関システムに関する技術が知られている。例えば、特許文献1には、制御切替えラインより負荷が低い領域では、主燃焼室内にタンブル渦流が形成されやすいように吸気しつつ主燃焼室内の点火プラグ(点火装置)を点火し、制御切替えラインより負荷が高い領域では、副燃焼室に濃い混合気が充填されるように高流量の混合気を主燃焼室へと吸気しつつ副燃焼室内の点火プラグ(点火装置)を点火する内燃機関システムが記載されている。
【先行技術文献】
【特許文献】
【0003】
特開2021-119297号公報
【発明の概要】
【発明が解決しようとする課題】
【0004】
上記特許文献1に記載の点火制御では、内燃機関本体の負荷に応じて点火装置のいずれ一方を用いることが記載されているものの、内燃機関本体の停止に際する点火制御については具体的に記載されていない。しかしながら、内燃機関本体の停止時には、特に主燃焼室に比べて掃気性が低い副燃焼室において未燃燃料が残留する恐れがあり、残留燃料が熱的作用によって生じるデポジットを抑制するために未燃燃料の適切な排除が求められる。
【0005】
本発明はこのような課題に鑑みてなされたものであり、その目的とするところは、副燃焼室に配置された点火装置を用いて、未燃燃料が堆積したデポジットの生成をより適切に抑制することが可能な内燃機関システムを提供することにある。
【課題を解決するための手段】
【0006】
上記目的を達成するため、本発明の内燃機関システムは、空気と燃料との混合気が充填される主燃焼室と、複数の連通孔を介して前記主燃焼室と連通する副燃焼室と、前記副燃焼室に配置され、前記副燃焼室内の前記混合気に点火する副室点火装置と、を含む内燃機関本体と、前記内燃機関本体を制御する制御装置と、を備え、前記制御装置は、前記内燃機関本体の運転停止処理において、燃料供給を停止してから所定期間にわたって前記副室点火装置による点火を少なくとも1回以上実行する。
【発明の効果】
【0007】
本発明の内燃機関システムによれば、副燃焼室に配置された点火装置を用いて、未燃燃料が堆積したデポジットの生成をより適切に抑制することが可能となる。
【図面の簡単な説明】
【0008】
実施形態にかかる内燃機関システムの概略構成図である。
気筒を模式的に示す説明図である。
ニュートラルストップを行う場合の各種制御量の時間変化の様子を示す説明図である。
モータリングストップを行う場合の各種制御量の時間変化の様子を示す説明図である。
実施形態の内燃機関システムをハイブリッド車両に適用した場合の点火方式の一例を示す説明図である。
第1点火プラグおよび第2点火プラグの配置位置の他例を模式的に示す説明図である。
【発明を実施するための形態】
【0009】
以下、図面に基づき本発明の一実施形態について説明する。
【0010】
(内燃機関)
図1は、実施形態にかかる内燃機関システムの概略構成図である。内燃機関システム1は、例えば車両に搭載される。内燃機関システム1は、例えばガソリンエンジンである内燃機関本体10(以下、「本体10」と称する)と、制御装置50とを備えている。本体10の吸気通路5には、吸気の流れに沿ってエアクリーナー6、インタークーラー7、スロットルバルブ8が各気筒30の吸気ポート2の上流に設けられている。一方、本体10の排気通路11には、各気筒30の排気ポート3から排気の流れに沿って上流側排気浄化触媒12および下流側排気浄化触媒13が設けられている。
(【0011】以降は省略されています)
この特許をJ-PlatPat(特許庁公式サイト)で参照する
関連特許
ダイハツ工業株式会社
制御装置
1か月前
スズキ株式会社
車両の制御装置
27日前
ダイハツ工業株式会社
制御装置
1か月前
ダイハツ工業株式会社
制御装置
1か月前
本田技研工業株式会社
車両
4日前
本田技研工業株式会社
車両
4日前
本田技研工業株式会社
内燃機関
5日前
株式会社クボタ
作業車両
5日前
トヨタ自動車株式会社
車両の制御装置
25日前
トヨタ自動車株式会社
内燃機関
25日前
本田技研工業株式会社
内燃機関
4日前
株式会社SUBARU
エンジン制御装置
27日前
朝日電装株式会社
スロットルグリップ装置
15日前
個人
流体式推力方向制御装置
15日前
本田技研工業株式会社
始動制御装置
4日前
株式会社IHI原動機
脈動減衰装置
25日前
本田技研工業株式会社
始動制御装置
4日前
トヨタ自動車株式会社
閾値の設定装置
15日前
トヨタ自動車株式会社
エンジン制御装置
11日前
株式会社デンソートリム
エンジン制御装置
11日前
本田技研工業株式会社
内燃機関の吸気構造
5日前
本田技研工業株式会社
内燃機関の制御装置
25日前
大阪瓦斯株式会社
エンジンシステム
4日前
日産自動車株式会社
内燃機関
11日前
日産自動車株式会社
内燃機関
11日前
本田技研工業株式会社
可変ファンネル装置
4日前
本田技研工業株式会社
EGRバルブ制御装置
15日前
マツダ株式会社
エンジン
5日前
トヨタ自動車株式会社
エンジンシステムの診断装置
27日前
トヨタ自動車株式会社
エンジン制御装置
15日前
トヨタ自動車株式会社
内燃機関の燃料供給装置
15日前
トヨタ自動車株式会社
内燃機関の燃料供給装置
11日前
トヨタ自動車株式会社
インジェクタの制御装置
13日前
ヤンマーホールディングス株式会社
エンジン装置
13日前
ヤンマーホールディングス株式会社
エンジン装置
13日前
本田技研工業株式会社
内燃機関の制御装置
5日前
続きを見る
他の特許を見る