TOP
|
特許
|
意匠
|
商標
特許ウォッチ
Twitter
他の特許を見る
公開番号
2025150368
公報種別
公開特許公報(A)
公開日
2025-10-09
出願番号
2024051207
出願日
2024-03-27
発明の名称
内燃機関
出願人
三菱自動車工業株式会社
代理人
弁理士法人相原国際知財事務所
主分類
F02D
43/00 20060101AFI20251002BHJP(燃焼機関;熱ガスまたは燃焼生成物を利用する機関設備)
要約
【課題】可変動弁機構を備えた内燃機関において、燃焼効率や燃焼安定性を向上させる内燃機関を提供する。
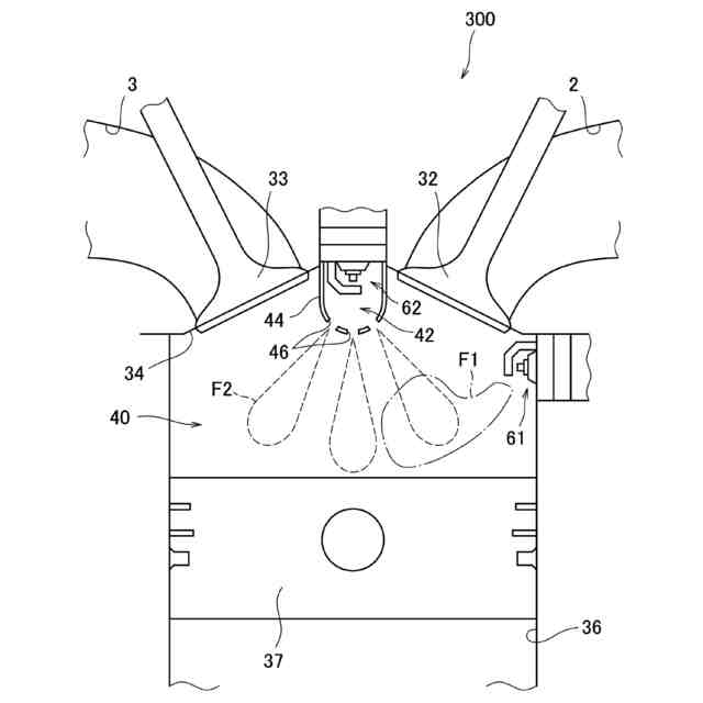
【解決手段】内燃機関1は、吸気弁の開閉時期を変更する可変動弁機構を備えるとともに、主燃焼室40と、副燃焼室42と、主燃焼室40に配置された第1点火プラグ61と、副燃焼室42に配置された第2点火プラグ62と、第1点火プラグ61及び第2点火プラグ62を制御する制御装置50とを備える。制御装置50は、可変動弁機構による吸気弁の開閉時期の変更に伴って、第1点火プラグ61によるSI点火、第2点火プラグ62によるJET点火、第1点火プラグ61及び第2点火プラグ62によるSI+JET点火のいずれかに一時的に点火方式を切り替える。
【選択図】図2
特許請求の範囲
【請求項1】
空気と燃料との混合気が充填される主燃焼室と、
複数の連通孔を介して前記主燃焼室と連通する副燃焼室と、
前記主燃焼室に配置され、前記主燃焼室内の前記混合気に点火する第1点火プラグと、
前記副燃焼室に配置され、前記副燃焼室内の前記混合気に点火する第2点火プラグと、
吸気弁の開閉時期を変更する可変動弁機構と、を備えた内燃機関であって、
前記内燃機関の運転状態に基づいて、前記可変動弁機構、前記第1点火プラグ及び前記第2点火プラグを作動制御する制御装置を備え、
前記制御装置は、前記可変動弁機構による前記開閉時期の変更に伴って、前記第1点火プラグ及び前記第2点火プラグの点火を所定期間切り換える内燃機関。
続きを表示(約 820 文字)
【請求項2】
前記制御装置は、
前記可変動弁機構により前記吸気弁の閉弁時期を進角側に変更するとともに当該吸気弁の開弁期間を短く変更した場合には、前記第1点火プラグ及び前記第2点火プラグのうち前記第1点火プラグのみ点火させる請求項1に記載の内燃機関。
【請求項3】
前記制御装置は、
前記可変動弁機構により前記吸気弁の閉弁時期を遅角側に変更するとともに当該吸気弁の開弁期間を短く変更した場合には、前記第1点火プラグ及び前記第2点火プラグのうち前記第1点火プラグのみ点火させる請求項1に記載の内燃機関。
【請求項4】
前記制御装置は、
前記可変動弁機構により前記吸気弁の閉弁時期を進角側に変更し開弁時期を遅角側に変更して当該吸気弁の開弁期間を短く変更した場合には、前記第1点火プラグ及び前記第2点火プラグの両方を点火させる請求項1に記載の内燃機関。
【請求項5】
前記制御装置は、
前記可変動弁機構により前記吸気弁の開閉時期を進角側に変更するとともに当該吸気弁の開弁期間を長く変更した場合には、前記第1点火プラグ及び前記第2点火プラグのうち前記第2点火プラグのみ点火させる請求項1に記載の内燃機関。
【請求項6】
前記制御装置は、
前記可変動弁機構により前記吸気弁の開閉時期を遅角側に変更するとともに当該吸気弁の開弁期間を長く変更した場合には、前記第1点火プラグ及び前記第2点火プラグのうち前記第2点火プラグのみ点火させる請求項1に記載の内燃機関。
【請求項7】
前記制御装置は、
前記可変動弁機構により前記吸気弁の閉弁時期を遅角側に変更するとともに開弁時期を進角側に変更して当該吸気弁の開弁期間を長く変更した場合には、前記第1点火プラグ及び前記第2点火プラグの両方を点火させる請求項1に記載の内燃機関。
発明の詳細な説明
【技術分野】
【0001】
本発明は、主燃焼室に配置された点火プラグと副燃焼室に配置された点火プラグとを備えた内燃機関に関する。
続きを表示(約 2,000 文字)
【背景技術】
【0002】
従来、主燃焼室に配置された点火プラグと副燃焼室に配置された点火プラグとを備えた内燃機関に関する技術が知られている。例えば、特許文献1には、制御切替えラインより負荷が低い領域では、主燃焼室内にタンブル渦流が形成されやすいように吸気しつつ主燃焼室内の点火プラグを点火し、制御切替えラインより負荷が高い領域では、副燃焼室に濃い混合気が充填されるように高流量の混合気を主燃焼室へと吸気しつつ副燃焼室内の点火プラグを点火する内燃機関が記載されている。
【0003】
また、特許文献2には、主燃焼室に配置された点火プラグと、副燃焼室に配置された点火プラグとを有し、暖気状態では副燃焼室内で点火し、冷機状態では主燃焼室内で点火するとともに始動後に点火時期の遅角制御を行うよう制御する内燃機関が記載されている。
【先行技術文献】
【特許文献】
【0004】
特開2021-119297号公報
特開2023‐030452号公報
【発明の概要】
【発明が解決しようとする課題】
【0005】
上記特許文献1に記載の点火制御では、内燃機関の負荷に応じて点火プラグのいずれ一方を用いることで、各燃焼室でのリーン燃焼を狙っている。
また、特許文献2では、内燃機関の温度に基づいて点火プラグを切り換えることで、始動直後から排気温度を迅速に上昇させて、排気通路に備えられた排気浄化触媒における早期活性化を図っている。
【0006】
ところで近年では、吸気弁の開閉時期を可変制御する可変動弁機構を備えた内燃機関が増えてきている。このように可変動弁機構を備えるとともに、更に上記特許文献1、2のように点火プラグを複数有する内燃機関において、燃焼の安定化や燃焼効率を更に向上させることが要求されている。
本発明はこのような課題に鑑みてなされたものであり、その目的とするところは、吸気弁に可変動弁機構を備えた内燃機関において、燃焼安定性や燃焼効率を向上させることが可能になる内燃機関を提供することにある。
【課題を解決するための手段】
【0007】
上記目的を達成するため、本発明の内燃機関は、空気と燃料との混合気が充填される主燃焼室と、複数の連通孔を介して前記主燃焼室と連通する副燃焼室と、前記主燃焼室に配置され、前記主燃焼室内の前記混合気に点火する第1点火プラグと、前記副燃焼室に配置され、前記副燃焼室内の前記混合気に点火する第2点火プラグと、吸気弁の開閉時期を変更する可変動弁機構を備えた内燃機関であって、前記内燃機関の運転状態に基づいて、前記可変動弁機構、前記第1点火プラグ及び前記第2点火プラグを作動制御する制御装置を備え、前記制御装置は、前記可変動弁機構による前記開閉時期の変更に伴って、前記第1点火プラグ及び前記第2点火プラグの点火を所定期間切り換えることを特徴とする。
【発明の効果】
【0008】
本発明の内燃機関によれば、可変動弁機構による吸気弁の開閉時期の変更に伴って、主燃焼室に配置された第1点火プラグと副燃焼室に配置された第2点火プラグのうち使用する点火プラグを一時的に変更することで、吸気弁の開閉時期の変更に伴う筒内での吸気流動の変化に対応して適切な点火を可能にし、燃焼安定性や燃焼効率を向上させることができる。
【図面の簡単な説明】
【0009】
実施形態にかかる内燃機関の概略構成図である。
気筒を模式的に示す説明図である。
内燃機関の吸気弁の開閉時期の各推移例に対する点火方式、筒内状況を示す表である。
可変動弁機構による内燃機関の吸気弁のリフト量の各推移例を示すタイミングチャートである。
第1点火プラグおよび第2点火プラグの配置位置の他例を模式的に示す。
【発明を実施するための形態】
【0010】
以下、図面に基づき本発明の一実施形態について説明する。
(内燃機関)
図1は、実施形態にかかる内燃機関の概略構成図である。内燃機関1は、例えば車両に搭載されるガソリンエンジンである。内燃機関1は、内燃機関本体10(以下、「本体10」と称する)と、制御装置50とを備えている。本体10の吸気通路5には、吸気の流れに沿ってエアクリーナー6、インタークーラー7、スロットルバルブ8が各気筒30の吸気ポート2の上流に設けられている。一方、本体10の排気通路11には、各気筒30の排気ポート3から排気の流れに沿って上流側排気浄化触媒12および下流側排気浄化触媒13が設けられている。
(【0011】以降は省略されています)
この特許をJ-PlatPat(特許庁公式サイト)で参照する
関連特許
三菱自動車工業株式会社
内燃機関
3日前
三菱自動車工業株式会社
車両の前部構造
3日前
三菱自動車工業株式会社
副室式内燃機関
3日前
三菱自動車工業株式会社
副室式内燃機関
3日前
三菱自動車工業株式会社
車両用バンパー
2日前
三菱自動車工業株式会社
損失可変制御装置
3日前
三菱自動車工業株式会社
車載部品の保護構造
3日前
三菱自動車工業株式会社
内燃機関の制御装置
2日前
三菱自動車工業株式会社
エンジンの潤滑装置
3日前
三菱自動車工業株式会社
車両の前輪懸架構造
2日前
三菱自動車工業株式会社
インバータの冷却装置
2日前
三菱自動車工業株式会社
インバータの冷却装置
2日前
三菱自動車工業株式会社
内燃機関の吸気通路構造
2日前
三菱自動車工業株式会社
サスペンションクロスメンバ
3日前
三菱自動車工業株式会社
バッテリパックの取り付け構造
2日前
三菱自動車工業株式会社
運転診断結果フィードバック装置
2日前
三菱自動車工業株式会社
運転診断結果フィードバック装置
2日前
トヨタ自動車株式会社
車両
1か月前
ダイハツ工業株式会社
車両
1か月前
スズキ株式会社
車両の制御装置
25日前
ダイハツ工業株式会社
制御装置
1か月前
ダイハツ工業株式会社
制御装置
1か月前
ダイハツ工業株式会社
制御装置
1か月前
本田技研工業株式会社
車両
2日前
本田技研工業株式会社
車両
2日前
スズキ株式会社
内燃機関の制御装置
1か月前
本田技研工業株式会社
内燃機関
2日前
トヨタ自動車株式会社
車両の制御装置
23日前
株式会社クボタ
作業車両
3日前
本田技研工業株式会社
内燃機関
3日前
トヨタ自動車株式会社
内燃機関
23日前
株式会社SUBARU
エンジン制御装置
25日前
株式会社SUBARU
エンジン制御装置
1か月前
株式会社IHI原動機
脈動減衰装置
23日前
本田技研工業株式会社
始動制御装置
2日前
朝日電装株式会社
スロットルグリップ装置
13日前
続きを見る
他の特許を見る