TOP
|
特許
|
意匠
|
商標
特許ウォッチ
Twitter
他の特許を見る
公開番号
2025151775
公報種別
公開特許公報(A)
公開日
2025-10-09
出願番号
2024053364
出願日
2024-03-28
発明の名称
車載部品の保護構造
出願人
三菱自動車工業株式会社
代理人
個人
主分類
B60K
15/035 20060101AFI20251002BHJP(車両一般)
要約
【課題】車両衝突時における車載部品の保護を図る上で有利な車載部品の保護構造を提供する。
【解決手段】車両衝突時にエンジン14が当接部36に当接した際に、エンジン14から当接部36に加わる荷重によってプロテクタ12が第2取り付け部34を支点にして車両後方に揺動変位することにより第1取り付け部32がダッシュパネル16を車両後方に押し込んでダッシュパネル16を車両後方に変形させるので、キャニスタ10とエンジン14との間に空間が確保され、キャニスタ10をエンジン14から加わる衝突荷重から保護する上で有利となる。
【選択図】図8
特許請求の範囲
【請求項1】
車両の駆動源が配されるパワーユニットルームの後部に配置される車載部品の保護構造であって、
前記車載部品は、当該車載部品の周囲を壁部で囲むプロテクタに保持されて、前記パワーユニットルームと車室とを仕切るダッシュパネルと前記パワーユニットルームの車幅方向外側に設けられたサスペンションタワーの後面との間に配置され、
前記プロテクタは、
車幅方向内側斜め前方を向き、前記駆動源と対向するよう延在される対向壁部と、
前記対向壁部の延在方向の一端から車幅方向外側に前記ダッシュパネルに沿って直線的に延在し前記ダッシュパネルに取り付けられる第1支持壁部と、
前記対向壁部の他端から車幅方向外側に前記サスペンションタワーの後面に沿って直線的に延在し、前記サスペンションタワーの前記後面に取り付けられる第2取り付け部を有する第2支持壁部と、を備え、
前記第2取り付け部は、前記第2支持壁部の車幅方向外側の端部に設けられ、車両衝突時に前記駆動源が前記当接部に当接した際に、前記プロテクタが前記第2取り付け部を支点にして車両後方に揺動変位可能とされた
ことを特徴とする車載部品の保護構造。
続きを表示(約 680 文字)
【請求項2】
前記第2取り付け部は前記第2支持壁部の車幅方向外側端部に接続する屈曲部を含んで構成され、前記プロテクタは、駆動源と当接した際に前記屈曲部を支点として揺動変位される
ことを特徴とする請求項1記載の車載部品の保護構造。
【請求項3】
前記第2取り付け部は、前記第2支持壁部の車幅方向外側の端部から前記屈曲部を介して前記第2支持壁部に対向するように折り返されて前記サスペンションタワーに取り付けられる、
ことを特徴とする請求項2記載の車載部品の保護構造。
【請求項4】
前記車載部品はキャニスタであり、
前記プロテクタは、前記キャニスタの下部を覆う底壁を有し、
前記底壁は、車幅方向外方に向かうに連れて次第に下方に変位するよう傾斜して設けられている、
ことを特徴とする請求項1記載の車載部品の保護構造。
【請求項5】
前記第1取り付け部は、車両衝突時に前記駆動源から前記プロテクタに荷重が加わることで前記ダッシュパネルから離脱する離脱部を備えている、
ことを特徴とする請求項1記載の車載部品の保護構造。
【請求項6】
前記対向壁部は、平面視で車幅方向内側に凸の湾曲形状とされている、
ことを特徴とする請求項1記載の車載部品の保護構造。
【請求項7】
前記サスペンションタワーの前記後面は、車両幅方向外側に向かうに従い車両後方に延びる傾斜面で形成されている
ことを特徴とする請求項1記載の車載部品の保護構造。
発明の詳細な説明
【技術分野】
【0001】
本発明は車載部品の保護構造に関する。
続きを表示(約 5,400 文字)
【背景技術】
【0002】
エンジン(駆動源)を備える車両には燃料タンクの燃料から蒸発する燃料蒸発ガスを吸着して大気中への燃料蒸発ガスの蒸散を防止するキャニスタ(車載部品)が設けられている(特許文献1参照)。
このようなキャニスタが、車両の駆動源が配されるパワーユニットルームの後部に配置され、車両前後方向においてエンジンと車室を仕切るダッシュパネルなどのパネル部材との間で、かつ、車幅方向の一側に配置されたサスペンションタワーなどの車体構成部材の近傍に配置される場合がある。
このような車両において、例えば、車両の車幅方向の他側にオフセット前面衝突が発生した場合、衝突荷重によってエンジンが後退してキャニスタに干渉することでキャニスタが損傷するおそれがあるため、キャニスタをプロテクタに収容してキャニスタの保護を図ることが考えられる。
【先行技術文献】
【特許文献】
【0003】
特許第7327689号
【発明の概要】
【発明が解決しようとする課題】
【0004】
しかしながら、上記構成では、後退するエンジンとダッシュパネルとの間にプロテクタが挟まれることからプロテクタに過大な荷重が加わることが懸念され、キャニスタの保護を図る上で改善の余地がある。また、このような課題は、キャニスタに限らず、車両の衝突時に入力する衝突荷重から保護すべき車載部品に対しても同様に生じる。
本発明は前記事情に鑑み案出されたもので、本発明の目的は、車両衝突時における車載部品の保護を図る上で有利な車載部品の保護構造を提供することにある。
【課題を解決するための手段】
【0005】
上記目的を達成するために、本発明の一実施の形態は、車両の駆動源が配されるパワーユニットルームの後部に配置される車載部品の保護構造であって、前記車載部品は、当該車載部品の周囲を壁部で囲むプロテクタに保持されて、前記パワーユニットルームと車室とを仕切るダッシュパネルと前記パワーユニットルームの車幅方向外側に設けられたサスペンションタワーの後面との間に配置され、前記プロテクタは、車幅方向内側斜め前方を向き、前記駆動源と対向するよう延在される対向壁部と、前記対向壁部の延在方向の一端から車幅方向外側に前記ダッシュパネルに沿って直線的に延在し前記ダッシュパネルに取り付けられる第1支持壁部と、前記対向壁部の他端から車幅方向外側に前記サスペンションタワーの後面に沿って直線的に延在し、前記サスペンションタワーの前記後面に取り付けられる第2取り付け部を有する第2支持壁部と、を備え、前記第2取り付け部は、前記第2支持壁部の車幅方向外側の端部に設けられ、車両衝突時に前記駆動源が前記当接部に当接した際に、前記プロテクタが前記第2取り付け部を支点にして車両後方に揺動変位可能とされたことを特徴とする。
また、本発明の一実施の形態は、前記第2取り付け部は前記第2支持壁部の車幅方向外側端部に接続する屈曲部を含んで構成され、前記プロテクタは、駆動源と当接した際に前記屈曲部を支点として揺動変位されることを特徴とする。
また、本発明の一実施の形態は、前記第2取り付け部は、前記第2支持壁部の車幅方向外側の端部から前記屈曲部を介して前記第2支持壁部に対向するように折り返されて前記サスペンションタワーに取り付けられることを特徴とする。
また、本発明の一実施の形態は、前記車載部品はキャニスタであり、前記プロテクタは、前記キャニスタの下部を覆う底壁を有し、前記底壁は、車幅方向外方に向かうに連れて次第に下方に変位するよう傾斜して設けられていることを特徴とする。
また、本発明の一実施の形態は、前記第1取り付け部は、車両衝突時に前記駆動源から前記プロテクタに荷重が加わることで前記ダッシュパネルから離脱する離脱部を備えていることを特徴とする。
また、本発明の一実施の形態は、前記対向壁部は、平面視で車幅方向内側に凸の湾曲形状とされていることを特徴とする。
また、本発明の一実施の形態は、前記サスペンションタワーの前記後面は、車両幅方向外側に向かうに従い車両後方に延びる傾斜面で形成されていることを特徴とする。
【発明の効果】
【0006】
本発明の一実施の形態によれば、車両衝突時に駆動源が当接部に当接した際に、駆動源から当接部に加わる荷重によってプロテクタが第2取り付け部を支点にして車両後方に揺動変位することにより第1取り付け部がダッシュパネルを車両後方に押し込んでダッシュパネルを車両後方に変形させるので、車載部品と駆動源との間に空間が確保され、車載部品を駆動源から加わる衝突荷重から保護する上で有利となる。
また、第2取り付け部は第2支持壁部の車幅方向外側端部に接続する屈曲部を含んで構成され、プロテクタは、駆動源と当接した際に屈曲部を支点として車両後方に揺動変位されると、プロテクタの揺動変位を効率的に行なう上で有利となり、車載部品と駆動源との間に空間を確保し、車載部品を駆動源から加わる衝突荷重から保護する上でより有利となる。
また、第2取り付け部は、第2支持壁部の車幅方向外側の端部から屈曲部を介して第2支持壁部に対向するように折り返されてサスペンションタワーに取り付けられていると、プロテクタをサスペンションタワーに近づけて取り付けることができ、狭いスペースを有効利用する上で有利となる。
また、車載部品はキャニスタであり、プロテクタは、キャニスタの下部を覆う底壁を有し、底壁は、車幅方向外方に向かうに連れて次第に下方に変位するよう傾斜して設けられていると、損傷したキャニスタから燃料吸着剤が底壁に落下しても、高温となる駆動源の部分から離間する方向に底壁の傾斜に沿って燃料吸着剤を移動させる上で有利となる。
また、第1取り付け部は、車両衝突時に駆動源からプロテクタに荷重が加わることでダッシュパネルから離脱する離脱部を備えていると、車両衝突時に駆動源からプロテクタに荷重が加わることで、プロテクタの第1取り付け部が離脱部を介してダッシュパネルから離脱するため、プロテクタの揺動変位を効率的に行なう上で有利となり、車載部品を駆動源から加わる衝突荷重から保護する上でより有利となる。
また、当接部を構成する対向壁部が平面視で車幅方向内側に凸の湾曲形状とされていると、当接部の強度を確保できることから、駆動源から加わる衝突荷重を効率よくプロテクタに伝達することができ、したがって、プロテクタの揺動変位を効率的に行なう上で有利となる。
また、サスペンションタワーの後面は、車両幅方向外側に向かうに従い車両後方に延びる傾斜面で形成されていると、駆動源がプロテクタに当接した際に、駆動源からプロテクタに加わる荷重を効率的に利用してプロテクタの第2取り付け部を支点とした車両後方への揺動変位を効率的に行なう上で有利となる。
【図面の簡単な説明】
【0007】
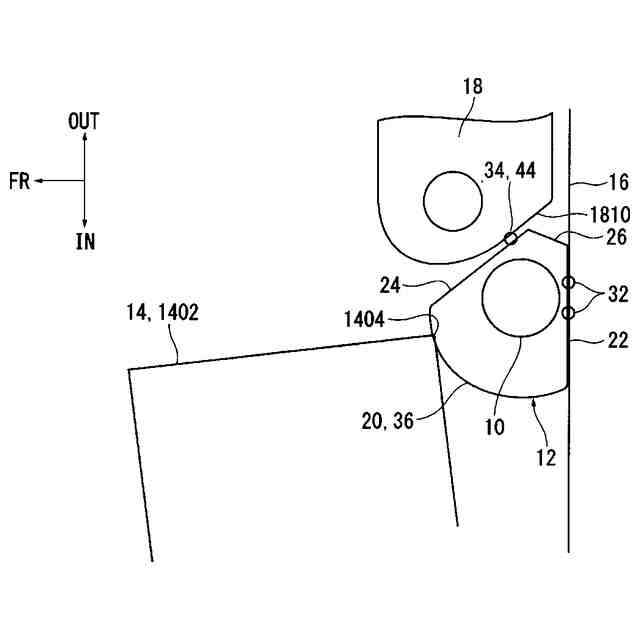
実施の形態の車載部品の保護構造の平面図である。
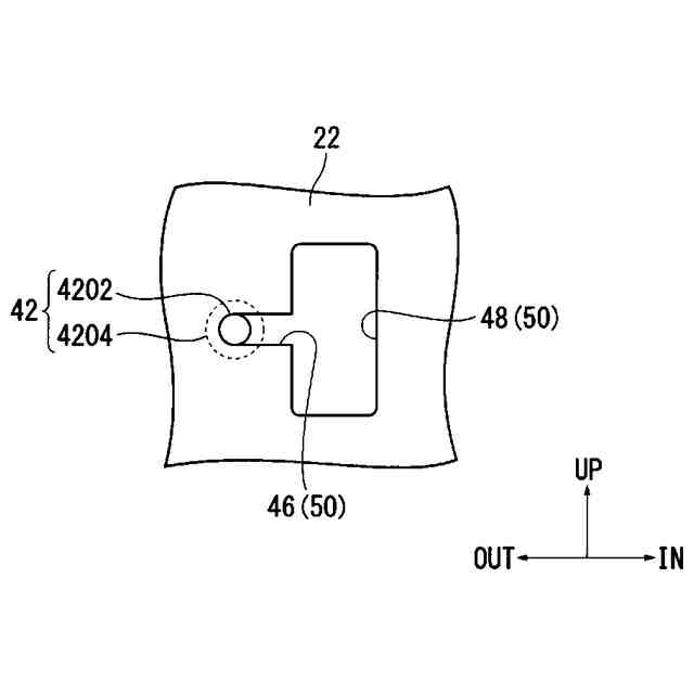
(A)はキャニスタの斜視図、(B)はキャニスタが取り付けられる係合部の斜視図である。
変形例におけるプロテクタをダッシュパネルに取り付ける第1取り付け部の説明図である。
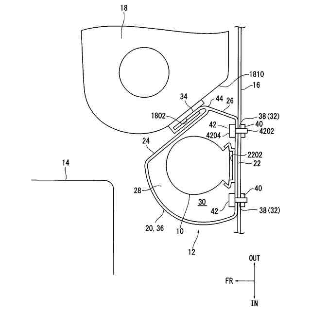
プロテクタおよびキャニスタの下部の縦断面図であり、図8のA-A線断面に対応している。
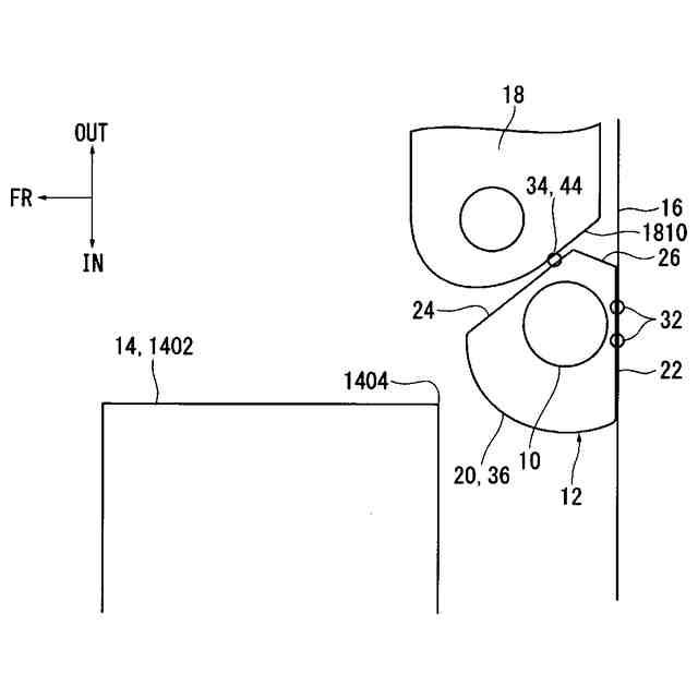
オフセット前面衝突発生前の説明図である。
オフセット前面衝突発生直後の説明図である。
後退するエンジンがプロテクタに干渉した状態を示す説明図である。
後退するエンジンによりプロテクタがダッシュパネルを後方に押し込んだ状態を示す説明図である。
【発明を実施するための形態】
【0008】
以下、本発明の実施の形態について図面を参照して説明する。
以下の図面において符号UPは車両上方を示し、符号FRは車両前方を示し、符号INは車幅方向内方を示し、符号OUTは車幅方向外方を示す。
図1に示すように、本実施の形態では、保護すべき車載部品がキャニスタ10である場合について説明する。
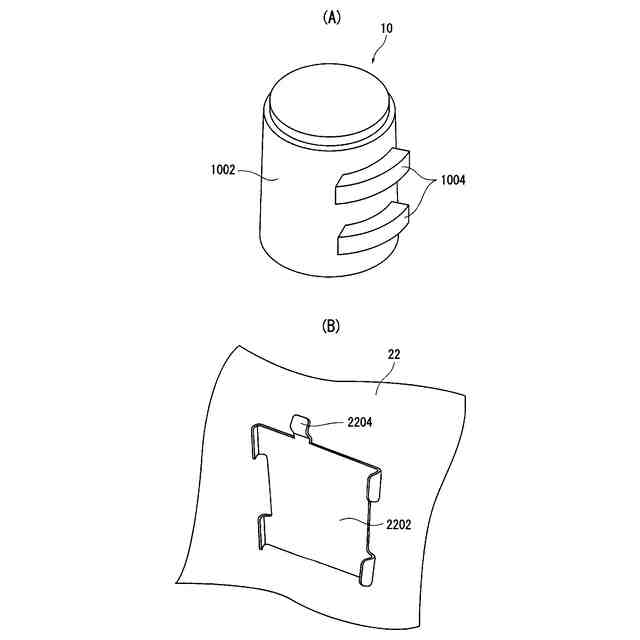
図2(A)に示すように、キャニスタ10は、合成樹脂製のキャニスタケース1002と、キャニスタケース1002の内部に収容され燃料タンクから蒸発する燃料蒸発ガスを吸着する不図示の燃料吸着材(活性炭など)とを備えている。
本実施の形態では、キャニスタケース1002は、上下方向に延在する円柱状を呈し、キャニスタケース1002の上部には燃料タンクに連通するベーパー配管と、エンジンの吸気通路に連通するパージ配管と、大気に開放された大気配管とが接続されているが、図面の簡略化を図るためそれら配管の図示は省略している。
図1に示すように、キャニスタ10はプロテクタ12に収容され、図2(A)に示すように、キャニスタケース1002の外周面には、キャニスタケース1002をプロテクタ12に取り付けるための係合爪1004が設けられている。
【0009】
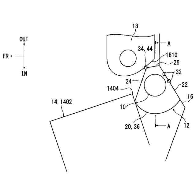
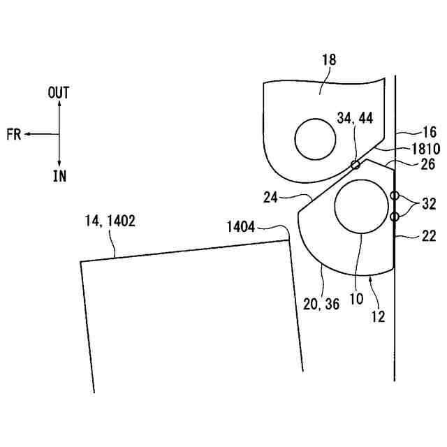
図1に示すようにキャニスタ10は、車両の駆動源であるエンジン14が配されるパワーユニットルームの後部に配置されており、詳細には、車両前後方向において、車両前部空間に配置されたエンジン14と、車室を仕切るパネル部材であるダッシュパネル16との間で、かつ、車幅方向の一側に配置された車体構成部材であるサスペンションタワー18の近傍に、プロテクタ12に収容されて配置されている。
言い換えると、キャニスタ10は、キャニスタ10の周囲を壁部で囲むプロテクタ12に保持されて、パワーユニットルームと車室とを仕切るダッシュパネル16とパワーユニットルームの車幅方向外側に設けられたサスペンションタワー18の後面1810との間に配置され、サスペンションタワー18の後面1810は、車両幅方向外側に向かうに従い車両後方に延びる傾斜面で形成されている。
サスペンションタワー18は、前輪を懸架する不図示のフロントサスペンション装置のショックアブソーバおよびサスペンションスプリングを収容して支持する部材であり、不図示のフロントサイドメンバなどの車両骨格部材に接合されている。
プロテクタ12に対向するサスペンションタワー18の箇所に挿入溝1802が設けられている。
【0010】
プロテクタ12は、キャニスタ10を収容し保持してキャニスタ10を保護するものであり、プロテクタ12は、ダッシュパネル16よりも板厚が厚く、したがって、ダッシュパネル16よりも高い強度剛性が確保された金属材料あるいは合成樹脂材料で構成されている。
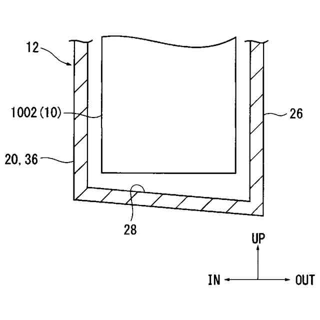
本実施の形態では、プロテクタ12は、平面視エンジン14側に凸の対向壁部20と、対向壁部20の周方向の一端から車幅方向外側にダッシュパネル16に沿って直線的に延在する板状の第1支持壁部22と、対向壁部20の周方向の他端からサスペンションタワー18側に直線的に延在する板状の第2支持壁部24と、第1支持壁部22と第2支持壁部24とが車両幅方向内側から外側に向かって成す先細形状空間の先の近傍位置である第1支持壁部22の端部と第2支持壁部24の端部とを接続する接続壁26と、キャニスタ10の下部を覆う底壁28を有し、それら壁部の内部がキャニスタ10を収容する収容部30となっており、収容部30の上部は開放されている。
言い換えると、対向壁部20は、車幅方向内側斜め前方を向き、エンジン14と対向するよう延在して設けられ、また、対向壁部20は、平面視で車幅方向内側に凸の湾曲形状とされている。
また、第1支持壁部22は、対向壁部20の延在方向の一端から車幅方向外側にダッシュパネル16に沿って直線的に延在しダッシュパネル16に取り付けられている。
また、第2支持壁部24は、対向壁部20の他端から車幅方向外側にサスペンションタワー18の後面1810に沿って直線的に延在し、サスペンションタワー18の後面1810に取り付けられる後述する第2取り付け部34を有している。
図2(B)に示すように、第1支持壁部22の内面に、キャニスタ10を上方からプロテクタ12の収容部30に挿入した際に、キャニスタケース1002の係合爪1004に係合可能な係合部2202が設けられ、また、係合爪1004と係合部2202が係合した状態でキャニスタケース1002の上面を下方に押し付ける押さえ片2204が設けられ、キャニスタ10はこのような係合部2202、押さえ片2204を介してプロテクタ12の収容部30に収容されている。
なお、図4に示すように、底壁28は、車幅方向外方に向かうに連れて次第に下方に変位するよう傾斜して設けられている。
(【0011】以降は省略されています)
この特許をJ-PlatPat(特許庁公式サイト)で参照する
関連特許
三菱自動車工業株式会社
車両の前部構造
4日前
三菱自動車工業株式会社
車両用バンパー
3日前
三菱自動車工業株式会社
車両の前輪懸架構造
3日前
三菱自動車工業株式会社
内燃機関の制御装置
3日前
三菱自動車工業株式会社
インバータの冷却装置
3日前
三菱自動車工業株式会社
インバータの冷却装置
3日前
三菱自動車工業株式会社
内燃機関の吸気通路構造
3日前
三菱自動車工業株式会社
サスペンションクロスメンバ
4日前
三菱自動車工業株式会社
バッテリパックの取り付け構造
3日前
三菱自動車工業株式会社
運転診断結果フィードバック装置
3日前
三菱自動車工業株式会社
運転診断結果フィードバック装置
3日前
個人
カーテント
4か月前
個人
タイヤレバー
2か月前
個人
前輪キャスター
1か月前
個人
上部一体型自動車
10日前
個人
ルーフ付きトライク
2か月前
個人
ホイルのボルト締結
3か月前
個人
タイヤ脱落防止構造
1か月前
個人
車輪清掃装置
4か月前
日本精機株式会社
表示装置
1か月前
井関農機株式会社
作業車両
4か月前
井関農機株式会社
作業車両
4か月前
個人
マスタシリンダ
17日前
個人
キャンピングトライク
3か月前
日本精機株式会社
表示装置
2か月前
日本精機株式会社
表示装置
2か月前
個人
車両通過構造物
2か月前
日本精機株式会社
表示装置
2か月前
個人
キャンピングトレーラー
3か月前
個人
アクセルのソフトウェア
3か月前
個人
ワイパーゴム性能保持具
4か月前
個人
乗合路線バスの客室装置
2か月前
個人
車両用スリップ防止装置
3か月前
株式会社豊田自動織機
産業車両
2か月前
日本精機株式会社
車載表示装置
25日前
日本精機株式会社
車載表示装置
3か月前
続きを見る
他の特許を見る