TOP
|
特許
|
意匠
|
商標
特許ウォッチ
Twitter
他の特許を見る
公開番号
2025153846
公報種別
公開特許公報(A)
公開日
2025-10-10
出願番号
2024056505
出願日
2024-03-29
発明の名称
運転診断結果フィードバック装置
出願人
三菱自動車工業株式会社
代理人
個人
,
個人
,
個人
,
個人
,
個人
,
個人
主分類
G08G
1/00 20060101AFI20251002BHJP(信号)
要約
【課題】運転手が積極的に運転技量を向上させようとする意識を反映させることができ、なおかつ向上させようとする意識への直接的な助けとなるような運転技量向上システムを提供する。
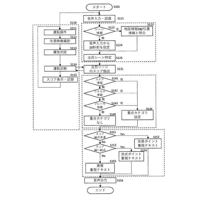
【解決手段】車両の前方の光景を撮影するカメラ25から走行コースの光景映像を記録する走行コース記録手段41と、光景映像を画像解析して、走行コースの属性を判定する走行コース属性判定手段42と、車両の内部に設置されたマイク26からの音声入力内容を認識する音声認識手段45と、音声入力内容から、現時点の前又は後における注目シーンを特定して記録する注目シーン特定手段47と、を有する運転診断結果フィードバック装置を用いる。
【選択図】図1
特許請求の範囲
【請求項1】
車両の前方の光景を撮影するカメラから走行コースの光景映像を記録する走行コース記録手段と、
前記光景映像を画像解析して、走行コースの属性を判定する走行コース属性判定手段と、
前記車両の内部に設置されたマイクからの音声入力内容を認識する音声認識手段と、
前記音声入力内容から、現時点の前又は後における注目シーンを特定して記録する注目シーン特定手段と、を有し、
前記走行コースのうち、特定された注目シーンの走行コース属性に基づく情報をフィードバックする、
ことを特徴とする運転診断結果フィードバック装置。
続きを表示(約 560 文字)
【請求項2】
車両の運転における評価項目についてスコアを取得するスコア評価手段と、
前記音声入力内容により指定される現時点より所定時間以内前にある前記注目シーンにおけるスコアを呼び出すスコア指定手段と、
呼び出されたスコアに対応した第1アドバイスを生成する第1アドバイス生成手段と、
前記第1アドバイスを車両の内部にあるスピーカーから音声出力させる音声第1アドバイス手段と、
を有する、請求項1に記載の運転診断結果フィードバック装置。
【請求項3】
車両の走行位置を取得する位置情報取得手段と、
地図情報を取得する地図情報取得手段と、
前記走行位置と前記地図情報から、その後の走行コースを推定する走行コース推定手段と、
推定された走行コースのうちの所定区間が、記録された前記注目シーンに該当又は類似するか否かを判定する注目シーン判定手段と、
前記注目シーンに該当又は類似する場合、前記注目シーンに対応した第2アドバイスを生成する第2アドバイス生成手段と、
前記第2アドバイスを車両の内部にあるスピーカーから音声出力させる音声第2アドバイス手段と、
を有する、請求項1又は2に記載の運転診断結果フィードバック装置。
発明の詳細な説明
【技術分野】
【0001】
この発明は、過去の運転を踏まえたアドバイスを、同様のシーンの運転を前に運転手にフィードバックする機能に関する。
続きを表示(約 1,600 文字)
【背景技術】
【0002】
近年の自動車では、各車両メーカーが自社の車の特性を踏まえて、運転手に対して正しく運転できるようにし、走行性能、安全性能、環境性能といった様々な性能を十分に引き出せるようにサポートする運転技量向上システムが搭載され、そのシステム自体の機能向上が進められている。
【0003】
こういったシステムが行う技量評価は、運転操作により生じた車速、加速度変化、舵角などの車両挙動をスコア化する方式が一般的である。これをさらに多面的に評価したり、精度を上げたりすることが検討されている。
【0004】
例えば特許文献1には、運転手が事故を起こす可能性を、運転手の運転状況を考慮しながら推定するシステムが記載されている。そのために多数の車両の走行データと、事故を起こした車両の走行データとに基づき、機械学習により特徴量を求めて事故リスクを診断している。事故リスクについて診断された結果を運転手に伝えて、自動運転に切り替えるか否かを運転手に問い合わせて意思表示を受け付ける実施形態が提案されている(請求項10等)。
【0005】
特許文献2には、運転手の運転特性の評価算出手段が提案されている。図17に例示されるような休日前後であったり急ブレーキ後であったりといった運転の状況を分類して、運転評価を行う着目シーンが示されている。この着目シーンを運転手がボタン選択で特定する手法が開示されている(段落0074)。
【先行技術文献】
【特許文献】
【0006】
特開2021-012604号公報
特許第6268944号公報
【発明の概要】
【発明が解決しようとする課題】
【0007】
しかしながら、現行の運転技量向上システムの多くでは、運転手をサポートするために表示する内容を簡略化したり、何分後かに後追いでスコアを示すといったことが多い。これは、運転手に多くの情報を与えすぎると運転時に混乱してしまい、かえって危険性が増してしまうとの懸念があるからである。
【0008】
ただしそういったシステムでは、簡略化されたり後追いであったりするために、運転手にとって特に有益になると考えられる操作直前直後のタイミングで情報を提供することができない。たとえば、難所の多い峠を降りきった後にそれまでの運転についてのアドバイスを出されても、幾つもあった難所のうちのどこについてのアドバイスであるのかがわからなくなる。また、こうすればよかったというアドバイスを聞いても、その内容を後々まで覚えておくことは難しく、後日でそのアドバイスに該当するコースにこれから入ろうとするときにそのアドバイスを活かすといったことができない。そういった運転手が受け身の姿勢になるようにスコアやアドバイスを流すだけでは、興味関心が低下する可能性があり、ドライバの技量向上をかえって阻害することにもなりかねない恐れがある。
【0009】
また、運転手が積極的にアドバイスを受けようとしても、そういったアドバイスを実践可能となるシーンを一般的な運転手が的確に判断することは難しい。仮に、何らかの難所に遭遇して次こそはアドバイスを反映させた運転をしたいと思っても、次に同様の難所に遭遇したときまでにそれを覚えておくのは困難であり、せっかくの運転技量向上システムを十分に活用されきっていないという問題があった。
【0010】
特許文献1のような技術では多数の車両からのビッグデータを反映させたものであり、個々の運転手の積極的な運転技量について評価するものではなく、一般化された危険なケースを警告できるようにしたものであるため、運転手の積極的意識を育てようとするものではなかった。
(【0011】以降は省略されています)
この特許をJ-PlatPat(特許庁公式サイト)で参照する
関連特許
日本精機株式会社
警報システム
1か月前
株式会社SUBARU
車両
4日前
個人
自動電動車椅子
25日前
スズキ株式会社
運転支援装置
1か月前
エムケー精工株式会社
車両誘導装置
1か月前
個人
磁気路上での車両の路線離脱防御
14日前
ニッタン株式会社
検知器
1か月前
ニッタン株式会社
発信機
2か月前
株式会社国際電気
防災システム
1か月前
ニッタン株式会社
発信機
2か月前
ニッタン株式会社
検知器
1か月前
ニッタン株式会社
検知器
1か月前
ニッタン株式会社
検知器
11日前
トヨタ自動車株式会社
車両
2か月前
トヨタ自動車株式会社
サーバ
18日前
大阪瓦斯株式会社
音声出力システム
10日前
日本信号株式会社
異常走行検出装置
18日前
株式会社SUBARU
運転支援装置
12日前
株式会社小糸製作所
移動体検出装置
1か月前
株式会社デンソー
運航管理装置
3日前
三菱自動車工業株式会社
制御システム
10日前
株式会社小糸製作所
車両検出システム
1か月前
日本精機株式会社
報知装置及び報知システム
24日前
株式会社CCT
通信装置及び表示方法
11日前
株式会社SUBARU
事故情報収集装置
4日前
能美防災株式会社
火災感知器
1か月前
ホーチキ株式会社
火災検出システム
6日前
能美防災株式会社
非常伝達装置
1か月前
本田技研工業株式会社
情報提供装置
2か月前
本田技研工業株式会社
情報提供装置
2か月前
ヨシモトポール株式会社
接近報知システム
1か月前
本田技研工業株式会社
物体検出装置
1か月前
本田技研工業株式会社
運転評価装置
2か月前
株式会社SUBARU
車室内異常検知装置
4日前
株式会社豊田中央研究所
注意喚起装置
26日前
シャープ株式会社
駐車制御装置
17日前
続きを見る
他の特許を見る