TOP
|
特許
|
意匠
|
商標
特許ウォッチ
Twitter
他の特許を見る
公開番号
2025152179
公報種別
公開特許公報(A)
公開日
2025-10-09
出願番号
2024053957
出願日
2024-03-28
発明の名称
サスペンションクロスメンバ
出願人
三菱自動車工業株式会社
代理人
個人
主分類
B62D
21/00 20060101AFI20251002BHJP(鉄道以外の路面車両)
要約
【課題】後面衝突時におけるパワートレインの保護を図る上で有利なサスペンションクロスメンバを提供する。
【解決手段】側面視、一対のサイドメンバ14の後端寄りの箇所に、パワートレイン12の後端よりも後方かつリアクロスメンバ18よりも下方に位置する一対の第1パワートレイン用マウントブラケット22が設けられている。後面衝突時に入力する衝突荷重を一対の第1パワートレイン用マウントブラケット22で確実に受け止めると共に、入力した衝突荷重を一対のサイドメンバ14を介して効率的にサスペンションクロスメンバ10全体に伝達させることができる。
【選択図】図5
特許請求の範囲
【請求項1】
車幅方向に間隔をおいて車両前後方向に延在する一対のサイドメンバと、車両前後方向に間隔をおいて車幅方向に延在し前記一対のサイドメンバの前端部及び後端部に連結するフロントクロスメンバおよびリアクロスメンバとを備え、前記一対のサイドメンバとフロントクロスメンバによりパワートレインを支持すると共に、車輪を支持するサスペンションアームを支持するサスペンションクロスメンバであって、
側面視において、前記一対のサイドメンバの後端部近傍の箇所に、前記パワートレインの後端よりも後方かつ前記リアクロスメンバよりも下方に位置する一対のパワートレイン用マウントブラケットが設けられている、
ことを特徴とするサスペンションクロスメンバ。
続きを表示(約 610 文字)
【請求項2】
車幅方向両側に設けられた前記サスペンションアームを連結するスタビライザーが設けられ、
前記スタビライザーの車幅方向の中間部が、前記一対のパワートレイン用マウントブラケットの後方に配置されている、
ことを特徴とする請求項1記載のサスペンションクロスメンバ。
【請求項3】
前記一対のサイドメンバの車両前後方向中間部に一対のロアアーム用ブラケットが接合され、
前記一対のパワートレイン用マウントブラケットの前端が前記一対のロアアーム用ブラケットの後端に接合されている、
ことを特徴とする請求項1記載のサスペンションクロスメンバ。
【請求項4】
前記一対のロアアーム用ブラケットは、車両前後方向において対向する前支持片と後支持片を有し、
前記一対のパワートレイン用マウントブラケットの前端は前記後支持片に接合され、
前記前支持片と前記後支持片とが車両前後方向に延在する第1リンフォースによって連結されている、
ことを特徴とする請求項3記載のサスペンションクロスメンバ。
【請求項5】
前記一対のロアアーム用ブラケットの前支持片と前記フロントクロスメンバの両端とが車両前後方向に延在する第2リンフォースによってそれぞれ連結されている、
ことを特徴とする請求項4記載のサスペンションクロスメンバ。
発明の詳細な説明
【技術分野】
【0001】
本発明は、サスペンションクロスメンバに関する。
続きを表示(約 4,400 文字)
【背景技術】
【0002】
サスペンションアームを介して前輪を揺動可能に支持するサスペンションクロスメンバを用いてエンジンを含むパワートレインを支持する構造が提案されている(特許文献1参照)。
そして、このようなサスペンションクロスメンバを、モータを駆動源とする電動車の後輪に適用し、サスペンションクロスメンバによってサスペンションアームを介して後輪を揺動可能に支持すると共に、サスペンションクロスメンバによって電動車のパワートレインを支持することが考えられる。
一般的に、電動車のパワートレインは、上記モータに加えて減速機やコンバータなどの電装部品を含むことから、パワートレインが大型化し、パワートレインの上下方向の寸法が大きなものとなる。
そのため、パワートレインは、その下部がサスペンションクロスメンバの下面よりも下方に突出して配置される場合がある。
【先行技術文献】
【特許文献】
【0003】
特開2016-172481号公報
【発明の概要】
【発明が解決しようとする課題】
【0004】
このようなパワートレインを支持するサスペンションクロスメンバを備えた車両に対して後面衝突が発生した場合、後面衝突する対象物(バリア)のうち上部はサスペンションクロスメンバの後部に衝突して衝突荷重が受け止められ、対象物の上部がパワートレインの後部に干渉することが抑制される。
一方、後面衝突する対象物のうち下部はサスペンションクロスメンバの後部の下方にもぐりこみ、もぐりこんだ対象物がサスペンションクロスメンバの下面から下方に突出したパワートレインの下部に干渉するおそれがある。
本発明は、上記事情に鑑みなされたものであり、後面衝突時におけるパワートレインの保護を図る上で有利なサスペンションクロスメンバを提供することを目的とする。
【課題を解決するための手段】
【0005】
上記目的を達成するために、本発明の一実施の形態は、車幅方向に間隔をおいて車両前後方向に延在する一対のサイドメンバと、車両前後方向に間隔をおいて車幅方向に延在し前記一対のサイドメンバの前端部及び後端部に連結するフロントクロスメンバおよびリアクロスメンバとを備え、前記一対のサイドメンバとフロントクロスメンバによりパワートレインを支持すると共に、車輪を支持するサスペンションアームを支持するサスペンションクロスメンバであって、側面視において、前記一対のサイドメンバの後端部近傍の箇所に、前記パワートレインの後端よりも後方かつ前記リアクロスメンバよりも下方に位置する一対のパワートレイン用マウントブラケットが設けられていることを特徴とする。
また、本発明の一実施の形態は、車幅方向両側に設けられた前記サスペンションアームを連結するスタビライザーが設けられ、前記スタビライザーの車幅方向の中間部が、前記一対のパワートレイン用マウントブラケットの後方に配置されていることを特徴とする。
また、本発明の一実施の形態は、前記一対のサイドメンバの車両前後方向中間部に一対のロアアーム用ブラケットが接合され、前記一対のパワートレイン用マウントブラケットの前端が前記一対のロアアーム用ブラケットの後端に接合されていることを特徴とする。
また、本発明の一実施の形態は、前記一対のロアアーム用ブラケットは、車両前後方向において対向する前支持片と後支持片を有し、前記一対のパワートレイン用マウントブラケットの前端は前記後支持片に接合され、前記前支持片と前記後支持片とが車両前後方向に延在する第1リンフォースによって連結されていることを特徴とする。
また、本発明の一実施の形態は、前記一対のロアアーム用ブラケットの前支持片と前記フロントクロスメンバの両端とが車両前後方向に延在する第2リンフォースによってそれぞれ連結されていることを特徴とする。
【発明の効果】
【0006】
本発明の一実施の形態によれば、後面衝突時に入力する衝突荷重を一対のパワートレイン用マウントブラケットで確実に受け止めると共に、入力した衝突荷重を一対のサイドメンバを介して効率的にサスペンションクロスメンバ全体に伝達させることができる。そのため、後面衝突時にパワートレインに衝突荷重が入力することを抑制できパワートレインの保護を図る上で有利となる。
また、スタビライザーの車幅方向の中間部が一対のパワートレイン用マウントブラケットの後方に配置されていると、後面衝突時に入力する衝突荷重をスタビライザーの中間部でも確実に受け止めると共に、入力した衝突荷重を一対のパワートレイン用マウントブラケットおよび一対のサイドメンバを介して効率的にサスペンションクロスメンバ全体に伝達させることができ、パワートレインの保護を図る上でより有利となる。
また、一対のパワートレイン用マウントブラケットの前端が一対のロアアーム用ブラケットの後端に接合されていると、後面衝突時に入力する衝突荷重を一対のロアアーム用ブラケットでも確実に受け止めると共に、入力した衝突荷重を一対のサイドメンバを介して効率的にサスペンションクロスメンバ全体に伝達させることができ、パワートレインの保護を図る上でより有利となる。
また、一対のパワートレイン用マウントブラケットの前端は後支持片に接合され、前支持片と後支持片とが車両前後方向に延在する第1リンフォースによって連結されていると、後面衝突時に入力する衝突荷重を一対のロアアーム用ブラケットおよび第1リンフォースでも確実に受け止めると共に、入力した衝突荷重を一対のサイドメンバを介して効率的にサスペンションクロスメンバ全体に伝達させることができ、パワートレインの保護を図る上でより一層有利となる。
また、一対のリアロアアーム用ブラケットの前支持片とフロントクロスメンバの両端とが車両前後方向に延在する第2リンフォースによってそれぞれ連結されていると、後面衝突時に入力する衝突荷重を一対のロアアーム用ブラケットに加えて、第2リンフォースおよびフロントクロスメンバでも受け止めると共に、入力した衝突荷重を一対のサイドメンバおよびフロントクロスメンバを介して効率的にサスペンションクロスメンバ全体に伝達させることができ、パワートレインの保護を図る上でさらに有利となる。
【図面の簡単な説明】
【0007】
実施の形態に係るサスペンションクロスメンバの平面図であり、パワートレインの図示を省略している。
実施の形態に係るサスペンションクロスメンバの平面図であり、パワートレインおよび各サスペンションアームの図示を省略している。
実施の形態に係るサスペンションクロスメンバを後方から見た斜視図であり、パワートレインの図示を省略している。
実施の形態に係るサスペンションクロスメンバにパワートレインが支持された状態を示す底面図であり、各サスペンションアームの図示を省略している。
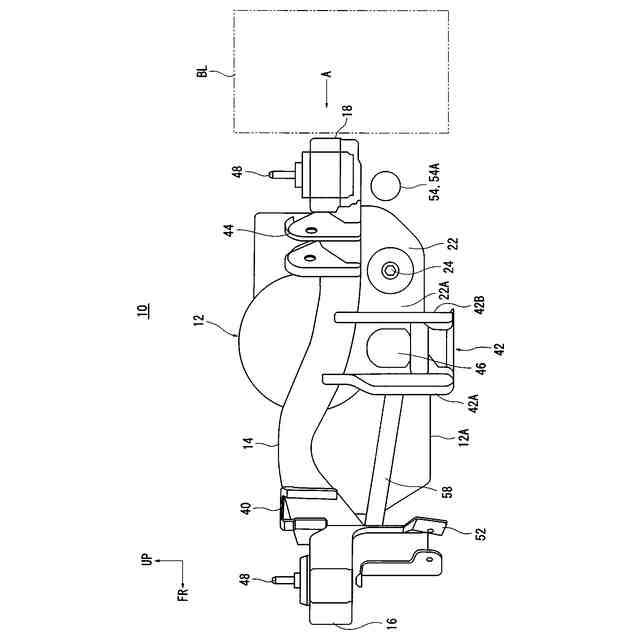
実施の形態に係るサスペンションクロスメンバを車幅方向から見た側面図であり、各サスペンションアームの図示を省略している。
図5のA矢視図である。
【発明を実施するための形態】
【0008】
以下、本発明の実施の形態に係るサスペンションクロスメンバについて図面を参照して説明する。
なお、以下の図面において、符号FRは車両前方、符号UPは車両上方、符号LHは車幅方向を示す。
図4、図5に示すように、サスペンションクロスメンバ10によりサスペンションアーム26を介して図示しない後輪を支持しており、このサスペンションクロスメンバ10で電動車のパワートレイン12を支持している。
パワートレイン12は、何れも図示しないが、モータと、モータの回転数を減速して車軸に伝達する減速機と、モータに駆動電力を供給するコンバータとを含んで構成されている。
なお、本明細書において、電動車とは、モータのみを駆動源とする電気自動車、あるいは、ハイブリッド車、あるいは、外部充電又は外部給電が可能なプラグインハイブリッド車(PHEV)を含む。
【0009】
図1、図2に示すように、サスペンションクロスメンバ10は、一対のサイドメンバ14と、フロントクロスメンバ16と、リアクロスメンバ18と、中間クロスメンバ20とを含んで構成され、それら各部材は断面が矩形状の閉断面構造を呈している。
一対のサイドメンバ14と、フロントクロスメンバ16と、リアクロスメンバ18と、中間クロスメンバ20とにより、それらの内側にパワートレイン12を配置する配置スペースSが確保されている。
一対のサイドメンバ14は、車幅方向に間隔をおいて車両前後方向に延在している。
フロントクロスメンバ16とリアクロスメンバ18と中間クロスメンバ20は、車両前後方向に間隔をおいて車幅方向に延在し、フロントクロスメンバ16は一対のサイドメンバ14の前端部間を連結し、リアクロスメンバ18は一対のサイドメンバ14の後端部間を連結し、中間クロスメンバ20は一対のサイドメンバ14の前後方向中間部を連結している。
図5に示すように、フロントクロスメンバ16は、パワートレイン12の上下方向の高さの中間部を通って車幅方向に延在している。
図6に示すように、リアクロスメンバ18は、パワートレイン12の上下方向の高さの中間部を通って車幅方向に延在している。
また、図6に示すように、中間クロスメンバ20は、その中間部が両端部よりも下方に変位して設けられ、中間部がパワートレイン12の下部12Aの下方を通って車幅方向に延在している。
【0010】
図3、図5に示すように、一対のサイドメンバ14の下部の後端寄りの箇所に、パワートレイン12を配置スペースSに配置するための一対の第1パワートレイン用マウントブラケット22が設けられている。
それら第1パワートレイン用マウントブラケット22には、パワートレイン12の後部両側をそれぞれ支持するパワートレイン用マウント24が設けられている。
図5に示すように、この第1パワートレイン用マウントブラケット22は、パワートレイン12が配置スペースSに配置された状態で、パワートレイン12の後端よりも後方かつリアクロスメンバ18よりも下方に位置している。
(【0011】以降は省略されています)
この特許をJ-PlatPat(特許庁公式サイト)で参照する
関連特許
個人
カート
3か月前
個人
走行装置
3か月前
個人
電動走行車両
3か月前
個人
乗り物
5か月前
個人
折り畳み自転車
10か月前
個人
閂式ハンドル錠
3か月前
個人
発音装置
7か月前
個人
駐輪設備
1か月前
個人
電動モビリティ
7か月前
個人
自転車用傘捕捉具
11か月前
個人
ボギー・フレーム
1か月前
個人
ルーフ付きトライク
2か月前
個人
“zen-go.”
2か月前
個人
自由方向乗車自転車
7か月前
個人
体重掛けリフト台車
10か月前
個人
ルーフ付きトライク
1か月前
個人
自転車用荷物台
11か月前
個人
キャンピングトライク
8か月前
個人
パワーアシスト自転車
1か月前
個人
アタッチメント
11か月前
個人
ステアリングの操向部材
8か月前
株式会社CPM
駐輪機
11か月前
個人
フロントフットブレーキ。
3か月前
株式会社三五
リアサブフレーム
10か月前
株式会社豊田自動織機
産業車両
4か月前
ヤマハ発動機株式会社
車両
12か月前
ヤマハ発動機株式会社
車両
12か月前
ヤマハ発動機株式会社
車両
12か月前
ヤマハ発動機株式会社
車両
12か月前
豊田合成株式会社
操舵装置
12か月前
個人
乗用自動車のディフューザー
18日前
学校法人千葉工業大学
車両
9か月前
学校法人千葉工業大学
車両
9か月前
個人
ホイールハブ駆動構造
4か月前
豊田鉄工株式会社
小型車両
3か月前
学校法人千葉工業大学
車両
9か月前
続きを見る
他の特許を見る