TOP
|
特許
|
意匠
|
商標
特許ウォッチ
Twitter
他の特許を見る
公開番号
2025153860
公報種別
公開特許公報(A)
公開日
2025-10-10
出願番号
2024056538
出願日
2024-03-29
発明の名称
車両用バンパー
出願人
三菱自動車工業株式会社
代理人
個人
,
個人
,
個人
,
個人
,
個人
主分類
B60R
19/04 20060101AFI20251002BHJP(車両一般)
要約
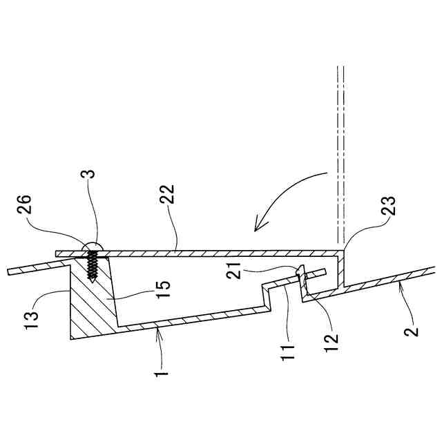
【課題】上下分割構造の車両用バンパーを、重量の増加、部品点数の多数化、見栄えの悪化等を伴うことなく、低コストで十分なエネルギー吸収量が得られるようにする。
【解決手段】障害物に先に衝突するように迫り出した一方のバンパー構成体1に対し、その外面側から他方のバンパー構成体2が係合して、上下のバンパー構成体1,2が接続され、他方のバンパー構成体2から内側へ延びる補強用構造部材22が、一方のバンパー構成体1の内面側に沿うようにヒンジ部23を軸として立ち上がり、補強用構造部材22の先端部が一方のバンパー構成体1の内面側に結合されているものとする。
【選択図】図1
特許請求の範囲
【請求項1】
上下に分割されたバンパー構成体のうち、一方のバンパー構成体に対し、その外面側から他方のバンパー構成体が係合して、前記上下のバンパー構成体が接続された車両用バンパーであって、
前記他方のバンパー構成体には、その内面からヒンジ部を介して車両内側へ延びる補強用構造部材が設けられ、
前記補強用構造部材は、前記ヒンジ部で折り曲げられて前記一方のバンパー構成体側に向かって車両上下方向に延在しており、前記一方のバンパー構成体の内面に結合される車両用バンパー。
続きを表示(約 490 文字)
【請求項2】
前記一方のバンパー構成体は、前記他方のバンパー構成体が係合する係合部が形成されて、前記他方のバンパー構成体が接続される接続部を有し、
前記補強用構造部材は、前記接続部を跨いで前記一方のバンパー構成体の裏面に結合される請求項1に記載の車両用バンパー。
【請求項3】
前記補強用構造部材は、前記一方のバンパー構成体と前記他方のバンパー構成体とが組み合わされた状態で、前記接続部の近傍の位置から延びている請求項2に記載の車両用バンパー。
【請求項4】
前記接続部の前記係合部と前記補強用構造部材とが車幅方向に交互に配置されている請求項2に記載の車両用バンパー。
【請求項5】
前記一方のバンパー構成体には、外面側が車両内側に凹んだ段差が形成され、前記段差の近傍に前記補強用構造部材の係止部が位置している請求項1に記載の車両用バンパー。
【請求項6】
前記補強用構造部材のヒンジ部は、他の部分よりも厚さが薄くなるよう形成された薄肉部で構成される請求項1から4のいずれかに記載の車両用バンパー。
発明の詳細な説明
【技術分野】
【0001】
この発明は、上下に分割された構造の車両用バンパーに関する。
続きを表示(約 1,400 文字)
【背景技術】
【0002】
車両のデザインにおいて、図8に示すように、上側のバンパー構成体51と下側のバンパー構成体52とに分割されたバンパーが考えられている。この例では、上側のバンパー構成体51が前方に迫り出し、下側のバンパー構成体52は下方へかけて後退する形状とされ、上側のバンパー構成体51の下部前面に下側のバンパー構成体52が被さり、上側のバンパー構成体52の係合穴53に下側のバンパー構成体52の係合爪54が前側から差し込まれて、上下のバンパー構成体51,52が接続されている。そして、バンパーの後方には、クロスメンバー等の車体構造物30が位置している。
【0003】
このような構造のバンパーでは、衝突時における歩行者の脚部保護に関する協定規則の試験方法により、インパクター40を上側のバンパー構成体51に衝突させると、上側のバンパー構成体51が後方へ押され、係合穴53から係合爪54が抜けて、係合穴53と係合爪54の係合が外れ、エネルギーが十分に吸収されることなく、上側のバンパー構成体51が車体構造物30に強く当たり、基準値を満たせないおそれがある。
【0004】
ところで、バンパーの補強構造として、下記特許文献1には、バンパーカバー本体とアンダーカバーとを揺動自在に連結し、アンダーカバーがバンパーカバー本体の後面側に折り返されて前後方向の衝撃を吸収する第1の状態と、アンダーカバーがバンパーカバー本体の下方側へ揺動して車両の保守作業の容易性を確保する第2の状態とを選択できるようにしたものが記載されている。
【0005】
また、下記特許文献2には、バンパーの開口部を利用して、薄肉ヒンジを介して補強体を一体成形しておき、成形後、薄肉ヒンジを軸に補強体を回転させて、前面側の下部から後方へ延びるフェイシャリブに結合させ、コストダウンを図りつつ、強度を向上させるものが記載されている。
【先行技術文献】
【特許文献】
【0006】
特許第5338634号公報
特許第3672802号公報
【発明の概要】
【発明が解決しようとする課題】
【0007】
しかしながら、図8に示すようなバンパーの衝突時におけるエネルギー吸収量を増加させる対策として、特許文献1又は2に記載されたような補強構造は、前提となる基本構成が相違しているため、適用することができない。
【0008】
また、バンパーの板厚を増加させる手法が考えられるが、この場合、射出成型時にヒケができないように広範囲で板厚を増やす必要があることから、バンパーの重量が大幅に増加するという問題がある。
【0009】
また、バンパーの内側にエネルギー吸収材を追加することも考えられるが、この場合、部品点数が多数化し、部品の製造コストが嵩むほか、バンパーの重量が増加するという問題がある。
【0010】
さらに、バンパーの上下のバンパー構成体51,52の接続部において、これらの合わせ面を延長し、接続部を二重構造化することも考えられるが、この場合、合わせ面はインパクター40に対して低い位置にあることから、インパクター40とのラップ量が小さくエネルギー吸収量はあまり増加しない。
(【0011】以降は省略されています)
この特許をJ-PlatPat(特許庁公式サイト)で参照する
関連特許
個人
カーテント
4か月前
個人
タイヤレバー
2か月前
個人
前輪キャスター
1か月前
個人
車窓用防虫網戸
5か月前
個人
上部一体型自動車
11日前
個人
車輪清掃装置
4か月前
個人
ホイルのボルト締結
3か月前
個人
タイヤ脱落防止構造
1か月前
個人
ルーフ付きトライク
2か月前
日本精機株式会社
表示装置
1か月前
個人
車両通過構造物
2か月前
日本精機株式会社
表示装置
2か月前
日本精機株式会社
表示装置
2か月前
日本精機株式会社
表示装置
2か月前
個人
マスタシリンダ
18日前
井関農機株式会社
作業車両
4か月前
井関農機株式会社
作業車両
4か月前
個人
キャンピングトライク
4か月前
個人
ワイパーゴム性能保持具
4か月前
個人
キャンピングトレーラー
4か月前
個人
アクセルのソフトウェア
3か月前
個人
乗合路線バスの客室装置
2か月前
個人
車両用スリップ防止装置
3か月前
井関農機株式会社
収穫作業車両
5か月前
個人
音声ガイド、音声サービス
2か月前
株式会社ニフコ
収納装置
1か月前
株式会社クラベ
ヒータユニット
5か月前
日本精機株式会社
車載表示装置
26日前
日本精機株式会社
車室演出装置
1か月前
株式会社豊田自動織機
産業車両
2か月前
個人
円湾曲ホイール及び球体輪
2か月前
日本精機株式会社
画像投映装置
7日前
株式会社ニフコ
保持装置
3か月前
株式会社ニフコ
照明装置
1か月前
日本精機株式会社
車載表示装置
3か月前
個人
車載小物入れ兼雨傘収納具
3か月前
続きを見る
他の特許を見る