TOP
|
特許
|
意匠
|
商標
特許ウォッチ
Twitter
他の特許を見る
公開番号
2025152571
公報種別
公開特許公報(A)
公開日
2025-10-10
出願番号
2024054518
出願日
2024-03-28
発明の名称
バッテリパックの取り付け構造
出願人
三菱自動車工業株式会社
代理人
個人
主分類
B60K
1/04 20190101AFI20251002BHJP(車両一般)
要約
【課題】バッテリパックの取り付け構造の耐久性を高める上で有利なバッテリパックの取り付け構造を提供する。
【解決手段】バッテリクロスメンバ20が取り付けられるサイドフレーム12の箇所に、サイドフレーム12に接合されサイドフレーム12の下面に対して車両上下方向に所定の間隔を有して対向する支持板部2602を有する支持部材26を設け、バッテリクロスメンバ20の延在方向の端部20Aを、サイドフレーム12の下面と支持板部2602との間に挟持して取り付けるようにした。
【選択図】図5
特許請求の範囲
【請求項1】
車両に搭載されるバッテリパックの下面に車両前後方向に間隔をおいて車幅方向に延在する複数のバッテリクロスメンバが設けられ、
前記複数のバッテリクロスメンバの延在方向の両端が、一対のサイドフレームに取り付けられるバッテリパックの取り付け構造であって、
前記サイドフレームに接合され、前記サイドフレームの下面に対して車両上下方向に所定の間隔を有して対向する支持板部を有する支持部材が設けられ、
前記バッテリクロスメンバの延在方向の端部は、前記サイドフレームの下面と前記支持板部との間に挟持されて取り付けられている、
ことを特徴とするバッテリパックの取り付け構造。
続きを表示(約 880 文字)
【請求項2】
前記バッテリクロスメンバの延在方向の端部に、前記サイドフレームの下面と前記支持板部との間に挿入されるブッシュが取り付けられ、
前記ブッシュは、前記バッテリクロスメンバの延在方向の端部に結合された外筒と、前記外筒の半径方向内側に配置された内筒と、それら外筒と内筒間に設けられた弾性体とを有し、
前記サイドフレームの下面と前記支持板部とによる前記ブッシュの挟持は、前記支持板、前記内筒、前記サイドフレームの下面にわたって挿通されたボルトにより前記内筒を挟持することでなされている、
ことを特徴とする請求項1記載のバッテリパックの取り付け構造。
【請求項3】
前記支持部材は、前記支持板部から上方に延在し車幅方向外側に向いた前記サイドフレームの外側面に接合される縦板部と、前記縦板部の上端から車幅方向内側に延在し前記サイドフレームの上面に接合される上板部とを備えている、
ことを特徴とする請求項1記載のバッテリパックの取り付け構造。
【請求項4】
前記支持部材は、前記複数のバッテリクロスメンバに合わせて複数設けられる
ことを特徴とする請求項1から3の何れか1項に記載のバッテリパックの取り付け構造。
【請求項5】
前記支持部材は、車両前後方向の長さが、前記複数のバッテリクロスメンバのうち最も車両前方に位置する前記バッテリクロスメンバと最も車両後方に位置する前記バッテリクロスメンバとの間隔より大きな寸法に形成され、
前記サイドフレームの下面と前記支持板部との間には、前記バッテリクロスメンバの端部が挿入可能な車幅方向内側に開放された空間部が設けられ、
前記支持板部には、車幅方向内側に開放状に形成されて前記バッテリクロスメンバの端部を下方から前記空間部へ挿入可能な開口部が前記複数のバッテリクロスメンバの間隔に合わせて複数設けられている、
ことを特徴とする請求項1から3のいずれか1項に記載のバッテリパックの取り付け構造。
発明の詳細な説明
【技術分野】
【0001】
本発明は、バッテリパックの取り付け構造に関する。
続きを表示(約 3,800 文字)
【背景技術】
【0002】
特許文献1には、車体の下部にバッテリパックを取り付けるバッテリパックの取り付け構造として、バッテリパックの下面の車両前後方向に間隔をおいた箇所に車幅方向に延在する複数のバッテリクロスメンバを設け、それらバッテリクロスメンバの車幅方向の両端をボルト、ナットを介して一対のサイドフレームに取り付ける構造が提案されている。
【先行技術文献】
【特許文献】
【0003】
特開2014-12524号公報
【発明の概要】
【発明が解決しようとする課題】
【0004】
しかしながら、特許文献1が示す従来構造では、走行中に加わる振動などの影響によってボルトが劣化して破損した際に、バッテリパックのサイドフレームへの取り付け強度が低下し、バッテリパックの取り付け構造の耐久性を高める上で不利がある。
本発明は、上記事情に鑑みなされたものであり、バッテリパックの取り付け構造の耐久性を高める上で有利なバッテリパックの取り付け構造を提供することを目的とする。
【課題を解決するための手段】
【0005】
上記目的を達成するために、本発明の一実施の形態は、車両に搭載されるバッテリパックの下面に車両前後方向に間隔をおいて車幅方向に延在する複数のバッテリクロスメンバが設けられ、前記複数のバッテリクロスメンバの延在方向の両端が、一対のサイドフレームに取り付けられるバッテリパックの取り付け構造であって、前記サイドフレームに接合され、前記サイドフレームの下面に対して車両上下方向に所定の間隔を有して対向する支持板部を有する支持部材が設けられ、前記バッテリクロスメンバの延在方向の端部は、前記サイドフレームの下面と前記支持板部との間に挟持されて取り付けられていることを特徴とする。
また、本発明の一実施の形態は、前記バッテリクロスメンバの延在方向の端部に、前記サイドフレームの下面と前記支持板部との間に挿入されるブッシュが取り付けられ、前記ブッシュは、前記バッテリクロスメンバの延在方向の端部に結合された外筒と、前記外筒の半径方向内側に配置された内筒と、それら外筒と内筒間に設けられた弾性体とを有し、前記サイドフレームの下面と前記支持板部とによる前記ブッシュの挟持は、前記支持板、前記内筒、前記サイドフレームの下面にわたって挿通されたボルトにより前記内筒を挟持することでなされていることを特徴とする。
また、本発明の一実施の形態は、前記支持部材は、前記支持板部から上方に延在し車幅方向外側に向いた前記サイドフレームの外側面に接合される縦板部と、前記縦板部の上端から車幅方向内側に延在し前記サイドフレームの上面に接合される上板部とを備えていることを特徴とする。
また、本発明の一実施の形態は、前記支持部材は、前記複数のバッテリクロスメンバに合わせて複数設けられることを特徴とする。
また、本発明の一実施の形態は、前記支持部材は、車両前後方向の長さが、前記複数のバッテリクロスメンバのうち最も車両前方に位置する前記バッテリクロスメンバと最も車両後方に位置する前記バッテリクロスメンバとの間隔より大きな寸法に形成され、前記サイドフレームの下面と前記支持板部との間には、前記バッテリクロスメンバの端部が挿入可能な車幅方向内側に開放された空間部が設けられ、前記支持板部には、車幅方向内側に開放状に形成されて前記バッテリクロスメンバの端部を下方から前記空間部へ挿入可能な開口部が前記複数のバッテリクロスメンバの間隔に合わせて複数設けられていることを特徴とする。
【発明の効果】
【0006】
本発明の一実施の形態によれば、バッテリクロスメンバの延在方向の端部をサイドフレームの下面と支持板部との間に挟持して取り付けるため、バッテリクロスメンバのサイドフレームへの取り付け箇所の剛性を高める上で有利となり、バッテリパックの取り付け構造の耐久性を高める上で有利となる。
また、バッテリクロスメンバの延在方向の端部にブッシュを取り付け、サイドフレームの下面と支持板部とによるブッシュの挟持を、支持板部、内筒、サイドフレームの下面にわたって挿通されたボルトにより内筒を挟持することでなされるようにすると、車体の振動やねじれをブッシュによって緩和することができるため、それら振動やねじれがバッテリパックに伝達されることを抑制できることから、バッテリパックの保護を図る上で有利となる。また、バッテリパックの振動やねじれをブッシュによって緩和することができるため、それら振動やねじれが車体に伝達されることを抑制できることから、乗り心地、静粛性の向上を図る上でも有利となる。
また、支持部材が縦板部と上板部とを備えていると、支持部材のサイドフレームへの取り付け強度を向上させる上でより有利となり、バッテリパックの取り付け構造の耐久性を高める上でより有利となる。
また、支持部材を複数のバッテリクロスメンバに合わせて複数設けると、各支持部材の大きさをバッテリクロスメンバを支持するに足る最小限にできるため、支持部材の軽量化を図る上で有利となる。
また、支持部材を、車両前後方向の長さが、複数のバッテリクロスメンバのうち最も車両前方に位置するバッテリクロスメンバと最も車両後方に位置するバッテリクロスメンバとの間隔より大きな寸法に形成され、サイドフレームの下面と支持板部との間に、バッテリクロスメンバの端部が挿入可能な車幅方向内側に開放された空間部を設け、支持板部には、車幅方向内側に開放状に形成されてバッテリクロスメンバの端部を下方から空間部へ挿入可能な開口部が複数のバッテリクロスメンバの間隔に合わせて複数設けると、支持部材の強度剛性を高める上でより有利となり、バッテリパックの取り付け構造の耐久性を高める上でより一層有利となり、さらに、バッテリパックの大型化、重量化に対応する上でも有利となる。
【図面の簡単な説明】
【0007】
第1の実施の形態に係るバッテリパックの取り付け構造を示す底面図である。
バッテリパックの取り付け構造からバッテリパックを取り外して斜め上方から見た斜視図である。
バッテリクロスメンバの斜視図である。
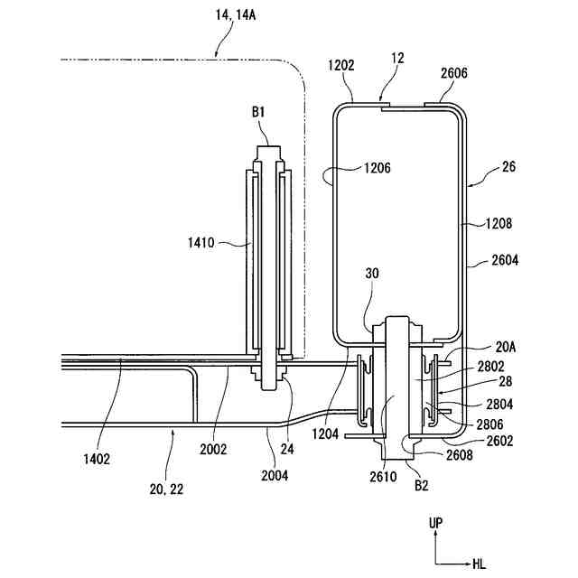
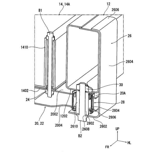
図1のA-A線断面の斜視図であり、バッテリケースの図示を省略している。
図1のA-A線断面図である。
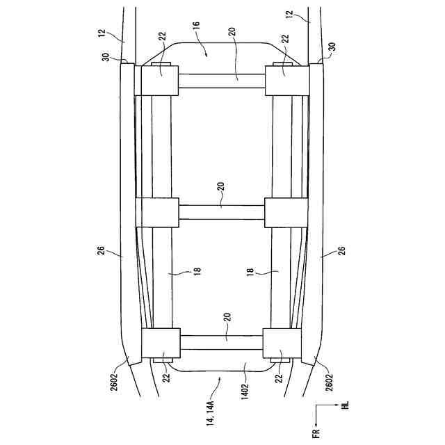
第2の実施の形態に係るバッテリパックの取り付け構造を示す底面図である。
【発明を実施するための形態】
【0008】
(第1の実施の形態)
以下、本発明の実施の形態に係る車体構造について図面を参照して説明する。
なお、以下の図面において、符号FRは車両前方、符号UPは車両上方、符号HLは車幅方向を示す。
また、本実施の形態では、車両がモータのみを駆動源とする電気自動車である場合について説明するが、本発明は、ハイブリッド車、あるいは、外部充電又は外部給電が可能なプラグインハイブリッド車(PHEV)などのモータを駆動源とし、モータに電力を供給するバッテリパックを備える車両に広く適用可能である。
【0009】
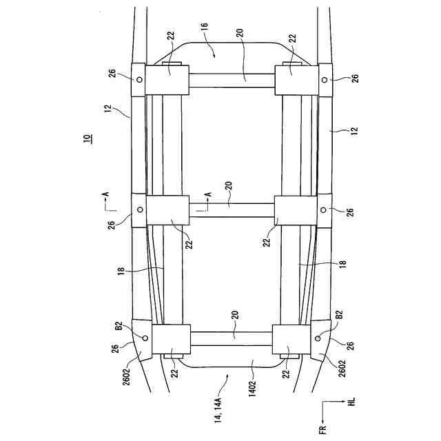
図1に示すように、車両10の下部には、車幅方向に間隔をおいて車両前後方向に延在する一対の金属製のサイドフレーム12が設けられ、バッテリパック14は、車室や荷台の下方で一対のサイドフレーム12の間に配置されている。
バッテリパック14は、バッテリケース14Aと、バッテリケース14Aに収容された何れも不図示の組電池、組電池を制御する電装部などを含んで構成されている。
本実施の形態では、バッテリケース14Aは、平面視、車両前後方向に延在する長辺を有するほぼ長方形状を呈している。
【0010】
バッテリケース14Aの底面1402には、バッテリパック14を支持する金属製のバッテリフレーム16が設けられている。
図1、図2、図3に示すように、バッテリフレーム16は、バッテリケース14Aの底面1402の幅方向両側で車両前後方向に延在する一対のバッテリサイドメンバ18と、車両前後方向に間隔をおいた箇所で車幅方向に延在し一対のバッテリサイドメンバ18を連結する複数のバッテリクロスメンバ20とを備えている。
本実施の形態では、バッテリクロスメンバ20は3つ設けられ、各バッテリクロスメンバ20の両端に連結部材22が設けられ、連結部材22を介してバッテリクロスメンバ20の端部20Aがバッテリサイドメンバ18に連結されており、したがって、バッテリクロスメンバ20は連結部材22を含んで構成されている。
なお、バッテリサイドメンバ18は省略される場合もあり、その場合には連結部材22も省略される。
図3、図5に示すように、バッテリクロスメンバ20の断面は、上壁2002、底壁2004、前側壁2006、後側壁2008から車両前後方向に縦長の長方形の枠状に形成され、閉断面構造を有している。
(【0011】以降は省略されています)
この特許をJ-PlatPat(特許庁公式サイト)で参照する
関連特許
個人
カーテント
4か月前
個人
タイヤレバー
2か月前
個人
車窓用防虫網戸
5か月前
個人
前輪キャスター
1か月前
個人
上部一体型自動車
10日前
個人
ルーフ付きトライク
2か月前
個人
車輪清掃装置
4か月前
個人
ホイルのボルト締結
3か月前
個人
タイヤ脱落防止構造
1か月前
個人
キャンピングトライク
3か月前
日本精機株式会社
表示装置
1か月前
日本精機株式会社
表示装置
2か月前
日本精機株式会社
表示装置
2か月前
井関農機株式会社
作業車両
4か月前
個人
車両通過構造物
2か月前
日本精機株式会社
表示装置
2か月前
個人
マスタシリンダ
17日前
井関農機株式会社
作業車両
4か月前
個人
乗合路線バスの客室装置
2か月前
個人
車両用スリップ防止装置
3か月前
個人
キャンピングトレーラー
3か月前
個人
ワイパーゴム性能保持具
4か月前
個人
アクセルのソフトウェア
3か月前
株式会社クラベ
ヒータユニット
5か月前
株式会社ニフコ
照明装置
1か月前
個人
車載小物入れ兼雨傘収納具
3か月前
個人
音声ガイド、音声サービス
2か月前
個人
円湾曲ホイール及び球体輪
2か月前
日本精機株式会社
車載表示装置
3か月前
日本精機株式会社
車載表示装置
25日前
日本精機株式会社
車室演出装置
1か月前
井関農機株式会社
収穫作業車両
5か月前
株式会社ニフコ
保持装置
3か月前
株式会社ニフコ
収納装置
1か月前
日本精機株式会社
画像投映装置
6日前
株式会社豊田自動織機
産業車両
2か月前
続きを見る
他の特許を見る