TOP
|
特許
|
意匠
|
商標
特許ウォッチ
Twitter
他の特許を見る
10個以上の画像は省略されています。
公開番号
2025146327
公報種別
公開特許公報(A)
公開日
2025-10-03
出願番号
2024047042
出願日
2024-03-22
発明の名称
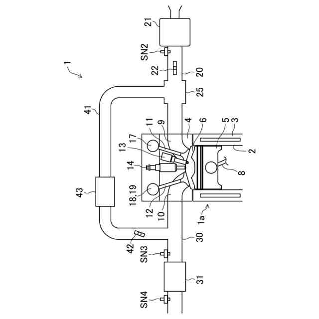
エンジンの排気バルブ制御装置
出願人
マツダ株式会社
代理人
弁理士法人前田特許事務所
主分類
F02D
13/02 20060101AFI20250926BHJP(燃焼機関;熱ガスまたは燃焼生成物を利用する機関設備)
要約
【課題】燃焼安定性を低下させずに、触媒装置の速やかな昇温を可能にする。
【解決手段】エンジン1の排気バルブ制御装置は、排気バルブ12の、少なくとも開弁時期を変更させる可変排気バルブ装置(排気VVL19、排気S-VT18)と、排気ガスを浄化する触媒装置31と、エンジンの始動後、触媒装置が未活性の場合に触媒装置の温度を高める昇温制御を実行する制御装置100と、を備え、制御装置は、昇温制御において、排気バルブの開弁時期を、排気行程の下死点後50deg.以降のクランク角度に遅らせる。
【選択図】図3
特許請求の範囲
【請求項1】
排気バルブの、少なくとも開弁時期を変更させる可変排気バルブ装置と、
エンジンの排気通路に位置しかつ排気ガスを浄化する触媒装置と、
前記エンジンの始動後、前記触媒装置が未活性の場合に前記触媒装置の温度を高める昇温制御を実行する制御装置と、を備え、
前記制御装置は、前記昇温制御において、前記排気バルブの開弁時期を、排気行程の下死点後50deg.以降のクランク角度に遅らせる、エンジンの排気バルブ制御装置。
続きを表示(約 1,500 文字)
【請求項2】
請求項1に記載のエンジンの排気バルブ制御装置において、
前記制御装置は、前記昇温制御において、前記排気バルブの開弁時期を、排気行程の下死点後70deg.以降のクランク角度に遅らせる、エンジンの排気バルブ制御装置。
【請求項3】
請求項1に記載のエンジンの排気バルブ制御装置において、
前記エンジンの燃焼室内の混合気に点火する点火プラグをさらに備え、
前記制御装置は、前記昇温制御において、燃焼重心が膨張行程の前半の時期になるよう、前記点火プラグの点火時期を設定する、エンジンの排気バルブ制御装置。
【請求項4】
請求項1~3のいずれか1項に記載のエンジンの排気バルブ制御装置において、
前記可変排気バルブ装置は、前記排気バルブのリフト量を変更することにより、前記排気バルブの開弁時期を変更し、
前記制御装置は、前記昇温制御において、前記排気バルブの開弁時期を非昇温制御における前記排気バルブの開弁時期よりも遅らせると共に、前記排気バルブの閉弁時期を前記非昇温制御における前記排気バルブの閉弁時期と同じ時期にする、エンジンの排気バルブ制御装置。
【請求項5】
請求項1~3のいずれか1項に記載のエンジンの排気バルブ制御装置において、
前記可変排気バルブ装置は、前記排気バルブのリフト量を変えずに開閉時期を変更することにより、前記排気バルブの開弁時期を変更し、
前記制御装置は、前記昇温制御において、前記排気バルブの開弁時期及び閉弁時期の両方を、非昇温制御における前記排気バルブの開弁時期及び閉弁時期よりも遅らせる、エンジンの排気バルブ制御装置。
【請求項6】
請求項5に記載のエンジンの排気バルブ制御装置において、
前記制御装置は、前記昇温制御における前記排気バルブの開弁時期の遅角量を、所定以上の燃焼安定性が確保される範囲において定める、エンジンの排気バルブ制御装置。
【請求項7】
請求項1に記載のエンジンの排気バルブ制御装置において、
前記制御装置は、前記触媒装置の温度が活性温度に達した後、前記昇温制御の終了によって前記排気バルブの開弁時期を、遅角した時期から前記非昇温制御における前記排気バルブの開弁時期へ切り替える、エンジンの排気バルブ制御装置。
【請求項8】
請求項1に記載のエンジンの排気バルブ制御装置において、
前記制御装置は、前記昇温制御中に、前記排気バルブの開弁時期を、前記触媒装置の温度の上昇に伴い、遅角した時期から前記非昇温制御における前記排気バルブの開弁時期の方へ進角させる、エンジンの排気バルブ制御装置。
【請求項9】
排気バルブの、少なくとも開弁時期を変更させる可変排気バルブ装置と、
エンジンの排気通路に位置しかつ排気ガスを浄化する触媒装置と、
前記エンジンの始動後、前記触媒装置が未活性の場合に前記触媒装置の温度を高める昇温制御を実行する制御装置と、を備え、
前記制御装置は、前記昇温制御において、前記排気バルブの開弁時期を、排気行程の下死点後に遅らせると共に、前記触媒装置が活性している非昇温制御において、前記排気バルブの開弁時期を、前記昇温制御時よりも進角させ、
前記制御装置は、前記昇温制御時及び前記非昇温制御時のそれぞれにおいて、前記排気バルブの閉弁時期を同じ時期にする、エンジンの排気バルブ制御装置。
発明の詳細な説明
【技術分野】
【0001】
ここに開示する技術は、エンジンの排気バルブ制御装置に関する。
続きを表示(約 1,700 文字)
【背景技術】
【0002】
特許文献1には、従来の内燃機関が記載されている。この内燃機関は、触媒急速暖機制御を実行する。触媒急速暖機制御は、内燃機関の冷機始動時に触媒を急速に昇温させて、触媒を活性化させる制御である。具体的に、前記の内燃機関は、触媒急速暖機制御において、排気バルブの閉弁時期を遅角させる。排気バルブの閉弁時期の遅角によって、吸気バルブと排気バルブとの両方が開いているオーバラップ期間が形成され、内部EGRの増大によって燃焼速度が遅れて、排気ガスの温度が上昇する。触媒は、高温の排気ガスによって昇温される。
【先行技術文献】
【特許文献】
【0003】
特開2006-37907号公報
【発明の概要】
【発明が解決しようとする課題】
【0004】
未活性の触媒装置の温度を高める昇温制御として、例えば点火時期を遅角方向に変更することにより、燃焼重心を膨張行程の後半の時期へ遅らせて膨張行程での仕事を減らして内部エネルギを増やすことにより、高温の排気ガスを触媒装置へ供給する制御が知られている。特許文献1に記載された従来の内燃機関も、燃焼速度を遅らせることにより燃焼重心が遅角するから、膨張行程での仕事を減らすことが目的の一つである。
【0005】
ところが、膨張行程での仕事を減らして内部エネルギを増やす昇温制御は、筒内圧力が大きく低下した状態下で燃焼が開始されるため、燃焼が緩慢になる。昇温制御中に、燃焼安定性が低下しやすいという不都合がある。また、例えば外気温が極低温の場合には、点火時期を遅角方向に変更しても、触媒装置へ供給する排気ガスの温度を十分に高めることが難しい。膨張行程での仕事を減らして内部エネルギを増やす昇温制御は、極低温の環境下において触媒装置の活性化が遅れるという問題もある。
【0006】
また、特許文献1に記載された従来の触媒急速暖機制御では、排気ガスの温度を高めるために排気バルブの閉弁時期を大きく遅角させると、オーバラップ期間が長くなりすぎて内部EGRが増えすぎてしまう。増えすぎた内部EGRは、触媒急速暖機制御中の燃焼安定性を低下させる。
【0007】
ここに開示する技術は、燃焼安定性を低下させずに、触媒装置の速やかな昇温を可能にする。
【課題を解決するための手段】
【0008】
ここに開示する技術は、エンジンの排気バルブ制御装置に係る。このエンジンの排気バルブ制御装置は、
排気バルブの、少なくとも開弁時期を変更させる可変排気バルブ装置と、
エンジンの排気通路に位置しかつ排気ガスを浄化する触媒装置と、
前記エンジンの始動後、前記触媒装置が未活性の場合に前記触媒装置の温度を高める昇温制御を実行する制御装置と、を備え、
前記制御装置は、前記昇温制御において、前記排気バルブの開弁時期を、排気行程の下死点後50deg.以降のクランク角度に遅らせる。
【0009】
未活性の触媒装置の活性化を促進する昇温制御において、排気バルブの開弁時期は、排気行程の下死点後50deg.以降のクランク角度に設定される。ピストンが排気行程の下死点に至った後、排気バルブが閉弁した状態でピストンが上昇するため、エンジンの燃焼室内のガスが再圧縮される。再圧縮に伴い温度が高まったガスが、排気バルブの開弁により触媒装置へ供給される。触媒装置は、高温の排気ガスによって昇温される。
【0010】
この装置の昇温制御は、膨張行程では、ピストンに普通に仕事をさせた後、排気行程においてピストン仕事の一部を排気エネルギへ変換することにより、触媒装置へ供給する排気ガスの温度を高めている。従来の昇温制御のように、膨張行程での仕事を減らして内部エネルギを増やすような燃焼が必要ないため、燃焼重心を、従来の昇温制御よりも進角させることが可能である。その結果、昇温制御時の燃焼安定性の低下が抑制される。
(【0011】以降は省略されています)
この特許をJ-PlatPat(特許庁公式サイト)で参照する
関連特許
マツダ株式会社
エンジン
26日前
マツダ株式会社
二次電池
1か月前
マツダ株式会社
二次電池
25日前
マツダ株式会社
二次電池
25日前
マツダ株式会社
車載機器
25日前
マツダ株式会社
排気システム
27日前
マツダ株式会社
排気システム
27日前
マツダ株式会社
運転支援装置
25日前
マツダ株式会社
運転支援装置
25日前
マツダ株式会社
運転支援装置
25日前
マツダ株式会社
車両用駆動装置
1か月前
マツダ株式会社
車両の上部構造
5日前
マツダ株式会社
インバータ装置
26日前
マツダ株式会社
インバータ装置
26日前
マツダ株式会社
インバータ装置
26日前
マツダ株式会社
インバータ装置
26日前
マツダ株式会社
車両の前部構造
25日前
マツダ株式会社
冷媒循環システム
1か月前
マツダ株式会社
冷媒循環システム
1か月前
マツダ株式会社
冷媒循環システム
1か月前
マツダ株式会社
冷媒循環システム
1か月前
マツダ株式会社
冷媒循環システム
1か月前
マツダ株式会社
冷媒循環システム
1か月前
マツダ株式会社
冷媒循環システム
1か月前
マツダ株式会社
冷媒循環システム
1か月前
マツダ株式会社
バッテリの制御装置
28日前
マツダ株式会社
車両の下部車体構造
28日前
マツダ株式会社
車両の下部車体構造
1か月前
マツダ株式会社
二次電池の制御装置
27日前
マツダ株式会社
車両の下部車体構造
1か月前
マツダ株式会社
二次電池の制御装置
25日前
マツダ株式会社
車両の下部車体構造
1か月前
マツダ株式会社
車両の下部車体構造
1か月前
マツダ株式会社
エンジンの制御装置
26日前
マツダ株式会社
車両の下部車体構造
1か月前
マツダ株式会社
車両の下部車体構造
1か月前
続きを見る
他の特許を見る