TOP
|
特許
|
意匠
|
商標
特許ウォッチ
Twitter
他の特許を見る
10個以上の画像は省略されています。
公開番号
2025149209
公報種別
公開特許公報(A)
公開日
2025-10-08
出願番号
2024049706
出願日
2024-03-26
発明の名称
発光装置、および発光装置の製造方法
出願人
日亜化学工業株式会社
代理人
弁理士法人iX
主分類
H10H
20/858 20250101AFI20251001BHJP()
要約
【課題】低コストで放熱性の高い発光装置及びその製造方法を提供する。
【解決手段】発光装置は、第1導電部材10と、第1導電部材10から所定の間隔を空けて配置される第2導電部材20と、第1導電部材10と第2導電部材20とに跨がって配置される発光素子30と、第1導電部材10と第2導電部材20との間、並びに、発光素子30の下面、および、側面若しくは側方に連続して配置され、発光素子30からの光を反射する光反射部材40と、を有する。第1導電部材10および第2導電部材20は、銅を含む第1金属部11と、第1金属部11の上側にアルミニウムを含む第2金属部12と、を有するクラッド材をそれぞれ含む。
【選択図】図1
特許請求の範囲
【請求項1】
第1導電部材と、
前記第1導電部材から所定の間隔を空けて配置される第2導電部材と、
前記第1導電部材と前記第2導電部材とに跨がって配置される発光素子と、
前記第1導電部材と前記第2導電部材との間、並びに、前記発光素子の下面、および、側面若しくは側方に連続して配置され、前記発光素子からの光を反射する光反射部材と、を有し、
前記第1導電部材および前記第2導電部材は、銅を含む第1金属部と、前記第1金属部の上側にアルミニウムを含む第2金属部と、を有するクラッド材をそれぞれ含む、発光装置。
続きを表示(約 1,600 文字)
【請求項2】
第1導電部材と、
前記第1導電部材から所定の間隔を空けて配置される第2導電部材と、
前記第1導電部材と前記第2導電部材とに跨がって配置される発光素子と、
前記第1導電部材と前記第2導電部材との間、並びに、前記発光素子の下面、および、側面若しくは側方に連続して配置され、前記発光素子からの光を反射する光反射部材と、を有し、
前記第1導電部材および前記第2導電部材は、第1金属部と、前記第1金属部の上側に前記第1金属部よりも反射率の高い金属を含む第2金属部と、を有するクラッド材をそれぞれ含む、発光装置。
【請求項3】
水平方向において、前記第1導電部材の第2金属部と、前記第2導電部材の第2金属部と、の距離は、前記第1導電部材の第1金属部と、前記第2導電部材の第1金属部と、の距離よりも狭い、請求項1または2に記載の発光装置。
【請求項4】
前記第1導電部材における第2金属部は、前記発光素子が配置される内平面と、前記発光素子から所定の間隔を空けて配置される内側面と、を有し、
前記第2導電部材における第2金属部は、前記発光素子が配置される内平面と、前記発光素子から所定の間隔を空けて配置される内側面と、を有する、請求項1または2に記載の発光装置。
【請求項5】
前記第1導電部材における第2金属部の内平面と、内側面と、の内角は90°以上150°以下であり、
前記第2導電部材における第2金属部の内平面と、内側面と、の内角は90°以上150°以下である、請求項4に記載の発光装置。
【請求項6】
平面視において、前記第1導電部材における第2金属部の内平面、および、前記第2導電部材における第2金属部の内平面、のそれぞれは略四角形であり、
前記第1導電部材における第2金属部の内平面において、前記第2導電部材と近接する辺以外の3辺に前記第1導電部材の第2金属部の内側面が設けられており、
前記第2導電部材における第2金属部の内平面において、前記第1導電部材と近接する辺以外の3辺に前記第2導電部材の第2金属部の内側面が設けられている、請求項4に記載の発光装置。
【請求項7】
平面視において、前記第1導電部材における第2金属部の内平面、および、前記第2導電部材における第2金属部の内平面、のそれぞれは略半円形若しくは略半楕円形であり、
前記第1導電部材における第2金属部の内平面において、前記第2導電部材と近接する辺以外の弧に前記第1導電部材の第2金属部の内側面が設けられており、
前記第2導電部材における第2金属部の内平面において、前記第1導電部材と近接する辺以外の弧に前記第2導電部材の第2金属部の内側面が設けられている、請求項4に記載の発光装置。
【請求項8】
前記第1導電部材の第2金属部および前記第2導電部材の第2金属部は、アルミニウムを90重量%以上含み、
前記第1導電部材の第1金属部および前記第2導電部材の第1金属部は、銅を90重量%以上含む、請求項1または2に記載の発光装置。
【請求項9】
前記発光素子上には、波長変換部材が配置され、
前記波長変換部材は、前記第1導電部材の内側面および前記第2導電部材の内側面と接触している、請求項4に記載の発光装置。
【請求項10】
前記発光素子上には、波長変換部材が配置され、
前記波長変換部材と前記第1導電部材の内側面との間、および、前記波長変換部材と前記第2導電部材の内側面との間には、前記光反射部材が配置されている、請求項4に記載の発光装置。
(【請求項11】以降は省略されています)
発明の詳細な説明
【技術分野】
【0001】
本開示は、発光装置、および発光装置の製造方法に関する。
続きを表示(約 3,100 文字)
【背景技術】
【0002】
放熱性の高い半導体素子パッケージの開発が行われている。
【先行技術文献】
【特許文献】
【0003】
特開2019-047123号公報
【発明の概要】
【発明が解決しようとする課題】
【0004】
本発明に係る実施形態は、低コストで放熱性の高い発光装置及びその製造方法を提供することである。
【課題を解決するための手段】
【0005】
本開示の一態様に係る発光装置は、第1導電部材と、前記第1導電部材から所定の間隔を空けて配置される第2導電部材と、前記第1導電部材と前記第2導電部材とに跨がって配置される発光素子と、前記第1導電部材と前記第2導電部材との間、並びに、前記発光素子の下面、および、側面若しくは側方に連続して配置され、前記発光素子からの光を反射する光反射部材と、を有する。前記第1導電部材および前記第2導電部材は、銅を含む第1金属部と、前記第1金属部の上側にアルミニウムを含む第2金属部と、を有するクラッド材をそれぞれ含む。
本開示の一態様に係る発光装置は、第1導電部材と、前記第1導電部材から所定の間隔を空けて配置される第2導電部材と、前記第1導電部材と前記第2導電部材とに跨がって配置される発光素子と、前記第1導電部材と前記第2導電部材との間、並びに、前記発光素子の下面、および、側面若しくは側方に連続して配置され、前記発光素子からの光を反射する光反射部材と、を有し、前記第1導電部材および前記第2導電部材は、第1金属部と、前記第1金属部の上側に前記第1金属部よりも反射率の高い金属を含む第2金属部と、を有するクラッド材をそれぞれ含む。
本開示の一態様に係る発光装置の製造方法は、第1導電部材と、前記第1導電部材から所定の間隔を空けて配置される第2導電部材と、を準備することと、前記第1導電部材と前記第2導電部材とに跨がって発光素子を配置することと、前記第1導電部材と前記第2導電部材と前記発光素子とを、空間を有する金型内に配置することと、前記第1導電部材と前記第2導電部材との間、並びに、前記発光素子の下面、および、側面若しくは側方に連続して、前記発光素子からの光を反射する光反射部材を前記金型内に充填することと、前記金型から成形体を取り出すことと、を含み、前記準備することにおいて、前記第1導電部材および前記第2導電部材は、銅を含む第1金属部と、前記第1金属部の上側にアルミニウムを含む第2金属部と、を有するクラッド材をそれぞれ含む。
本開示の一態様に係る発光装置の製造方法は、第1導電部材と、前記第1導電部材から所定の間隔を空けて配置される第2導電部材と、を準備することと、前記第1導電部材と前記第2導電部材とに跨がって発光素子を配置することと、前記第1導電部材と前記第2導電部材と前記発光素子とを、空間を有する金型内に配置することと、前記第1導電部材と前記第2導電部材との間、並びに、前記発光素子の下面、および、側面若しくは側方に連続して、前記発光素子からの光を反射する光反射部材を前記金型内に充填することと、前記金型から成形体を取り出すことと、を含み、前記準備することにおいて、前記第1導電部材および前記第2導電部材は、第1金属部と、前記第1金属部の上側に前記第1金属部よりも反射率の高い金属を含む第2金属部と、を有するクラッド材をそれぞれ含む。
【発明の効果】
【0006】
本開示に係る実施形態によれば、低コストで放熱性の高い発光装置及びその製造方法を提供することができる。
【図面の簡単な説明】
【0007】
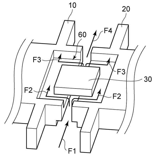
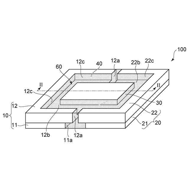
実施形態に係る発光装置100の模式斜視図である。
図1におけるII-II線模式端面図である。
発光装置100の製造方法の流れを説明するためのフロー図である。
導電部材の準備工程(S100)を説明するための模式端面図である。
導電部材の準備工程(S100)を説明するための模式端面図である。
導電部材の準備工程(S100)を説明するための模式端面図である。
発光素子の配置工程(S200)を説明するための模式端面図である。
金型の配置工程(S300)を説明するための模式斜視図である。
トランスファー成形工程(S400)を説明するための拡大した模式斜視図である。
取り出し工程(S500)を説明するための模式端面図である。
個片化工程(S600)を説明するための模式端面図である。
変形例1に係る発光装置200の図2相当の模式端面図である。
変形例2に係る発光装置300の図2相当の模式端面図である。
【発明を実施するための形態】
【0008】
以下、図面を参照し、本開示の実施形態に係る発光装置および発光装置の製造方法について説明する。以下に示す形態は、本実施形態の技術的思想を具現化するため発光装置およびその製造方法を例示するものであって、以下に限定するものではない。また、実施形態に記載されている構成部の寸法、材質、形状、その相対的配置等は、特定的な記載がない限り、本開示の範囲をそれのみに限定する趣旨ではなく、単なる説明例にすぎない。なお、各図面が示す部材の大きさ、位置関係等は、説明を明確にするため誇張していることがある。また、以下の説明において、同一の名称、符号については同一もしくは同質の部材を示しており詳細説明を適宜省略する。また、断面図として、切断面のみを示す端面図を示す場合がある。
【0009】
以下の説明において、特定の方向又は位置を示す用語(例えば、「上」、「下」およびそれらの用語を含む別の用語)を用いる場合がある。しかしながら、それらの用語は、参照した図面における相対的な方向又は位置を分かり易さのために用いているに過ぎない。参照した図面における「上」、「下」等の用語による相対的な方向又は位置の関係が同一であれば、本開示以外の図面、実際の製品等において、参照した図面と同一の配置でなくてもよい。本明細書において「上(または下)」と表現する位置関係は、例えば、2つの部材があると仮定した場合に、2つの部材が接している場合と、2つの部材が接しておらず一方の部材が他方の部材の上方(または下方)に位置している場合も含む。また、平面視とは、上方又は下方から直接又は透視して視ることとする。また、本明細書において、特定的な記載がない限り、部材が被覆対象を覆うとは、部材が被覆対象に接して被覆対象を直接覆う場合と、部材が被覆対象に非接触で被覆対象を間接的に覆う場合を含む。
【0010】
<1.実施形態>
(1.1.発光装置100)
以下、本開示における発光装置100の構成を説明する。図1は、実施形態に係る発光装置100の模式斜視図である。図2は、図1におけるII-II線模式端面図である。
発光装置100は、所定の間隔をあけて配置される第1導電部材10および第2導電部材20と、第1導電部材10と第2導電部材20とに跨がって配置される発光素子30と、発光素子30の周囲に配置される光反射部材40と、を備える。以下、各構成について説明する。
(【0011】以降は省略されています)
この特許をJ-PlatPat(特許庁公式サイト)で参照する
関連特許
日亜化学工業株式会社
発光素子
26日前
日亜化学工業株式会社
面状光源
6日前
日亜化学工業株式会社
発光装置
1か月前
日亜化学工業株式会社
発光素子
26日前
日亜化学工業株式会社
発光装置
1か月前
日亜化学工業株式会社
発光装置
28日前
日亜化学工業株式会社
発光装置
29日前
日亜化学工業株式会社
半導体レーザ素子
1か月前
日亜化学工業株式会社
光学薄膜の製造方法
5日前
日亜化学工業株式会社
垂直共振器面発光レーザ素子
26日前
日亜化学工業株式会社
軟磁性材料およびその製造方法
29日前
日亜化学工業株式会社
発光装置の製造方法及び発光装置
1か月前
日亜化学工業株式会社
発光モジュール及びモバイルデバイス
26日前
日亜化学工業株式会社
照射装置、発光装置、及び紫外光の照射方法
26日前
日亜化学工業株式会社
透光性部材の製造方法、透光性部材、及び発光装置
13日前
日亜化学工業株式会社
発光装置
1か月前
日亜化学工業株式会社
発光装置
今日
日亜化学工業株式会社
面状光源
1か月前
日亜化学工業株式会社
セラミックス基板及び発光装置、並びに、それらの製造方法
26日前
日亜化学工業株式会社
波長変換部材、光源モジュール、及び、波長変換部材の製造方法
今日
日亜化学工業株式会社
発光モジュール
19日前
日亜化学工業株式会社
発光装置および発光装置の製造方法
1か月前
日亜化学工業株式会社
正極活物質及び非水電解質二次電池用正極
28日前
日亜化学工業株式会社
面発光装置、レンズ積層体及びその製造方法、面発光装置の製造方法、レンズ集合体の製造方法
28日前
日亜化学工業株式会社
波長ビーム結合装置、ダイレクトダイオードレーザ装置、およびレーザ加工機
13日前
個人
半導体装置
1か月前
個人
積和演算用集積回路
27日前
サンケン電気株式会社
半導体装置
26日前
東レ株式会社
太陽電池モジュール
1か月前
日機装株式会社
半導体発光装置
21日前
旭化成株式会社
発光素子
1か月前
エイブリック株式会社
縦型ホール素子
1か月前
エイブリック株式会社
縦型ホール素子
1か月前
ローム株式会社
抵抗チップ
1か月前
ローム株式会社
半導体装置
5日前
富士通株式会社
半導体装置
1か月前
続きを見る
他の特許を見る