TOP
|
特許
|
意匠
|
商標
特許ウォッチ
Twitter
他の特許を見る
10個以上の画像は省略されています。
公開番号
2025147878
公報種別
公開特許公報(A)
公開日
2025-10-07
出願番号
2024048366
出願日
2024-03-25
発明の名称
基板保持部材及びセラミックスサセプタ
出願人
日本特殊陶業株式会社
代理人
弁理士法人i-MIRAI
,
個人
,
個人
主分類
H01L
21/683 20060101AFI20250930BHJP(基本的電気素子)
要約
【課題】基板保持部材を構成するセラミックス製の部材の靱性を向上させるための技術を提供する。
【解決手段】
静電チャックモジュール100は、板状のセラミックス基材110と、セラミックス基材110の下面113に接合された板状のセラミックス基台150とを備えている。セラミックス基台150は、SiCセラミックスをマトリックスとし、平面状に編まれた強化繊維の織物310を含む複数の複合材が接合されてなるものである。
【選択図】 図2
特許請求の範囲
【請求項1】
第1主面及び前記第1主面と上下方向に対向する第2主面を有する板状のセラミックス基材と、
前記セラミックス基材の前記第2主面に接合された第3主面を有し、内部に流路が形成された板状のセラミックス基台とを備え、
前記セラミックス基台は、それぞれがセラミックスをマトリックスとし、強化繊維及びウィスカの少なくとも一方を含む複数の複合材が接合されてなることを特徴とする基板保持部材。
続きを表示(約 550 文字)
【請求項2】
前記セラミックス基台は、SiCを含むセラミックスの焼結体である請求項1に記載の基板保持部材。
【請求項3】
前記強化繊維は炭素繊維又はSiC繊維である請求項1又は2に記載の基板保持部材。
【請求項4】
前記強化繊維は平面状に編まれた織物である請求項3に記載の基板保持部材。
【請求項5】
前記平板状に編まれた織物は、前記セラミックス基台の前記第3主面に平行に配置されている請求項4に記載の基板保持部材。
【請求項6】
前記強化繊維は、短繊維である請求項3に記載の基板保持部材。
【請求項7】
前記複数の複合材は、直接接合されている請求項1に記載の基板保持部材。
【請求項8】
前記複数の複合材の接合界面には、接合層が配置されている請求項1に記載の基板保持部材。
【請求項9】
半導体製造用の基板保持部材が載置される主面を有し、内部に流路が形成された板状のセラミックス基台を備え、
前記セラミックス基台は、それぞれがセラミックスをマトリックスとし、強化繊維及びウィスカの少なくとも一方を含む複数の複合材が接合されてなることを特徴とするセラミックスサセプタ。
発明の詳細な説明
【技術分野】
【0001】
本発明は、基板保持部材及びセラミックスサセプタに関する。
続きを表示(約 2,300 文字)
【背景技術】
【0002】
特許文献1には、ウェハなどの基板を保持するウェハ載置面を有する基板保持部材の一例としての、静電チャックが開示されている。特許文献1に記載の静電チャックは、流体が流れる流路が内部に形成されたセラミック焼結体によって形成されている。
【先行技術文献】
【特許文献】
【0003】
特許第6092857号
【発明の概要】
【発明が解決しようとする課題】
【0004】
特許文献1に記載の静電チャックは、セラミックス成形体を重ねて、同時焼成することにより内部に流路を有するセラミックス焼結体を作製している。引用文献1に記載の静電チャックにおいては、セラミックス焼結体の脆性に対する対策は取られていない。そのため、例えば、静電チャックをハンドリングする際に、誤って落下させた場合のように、静電チャックに意図しない外力が加わった場合に、セラミックス焼結体の脆性が問題となっていた。
【0005】
本発明は、かかる事情を鑑みてなされたものであり、基板保持部材を構成するセラミックス製の部材の靱性を向上させるための技術を提供することを目的とする。
【課題を解決するための手段】
【0006】
本発明の態様に従えば、 第1主面及び前記第1主面と上下方向に対向する第2主面を有する板状のセラミックス基材と、
前記セラミックス基材の前記第2主面に接合された第3主面を有し、内部に流路が形成された板状のセラミックス基台とを備え、
前記セラミックス基台は、それぞれがセラミックスをマトリックスとし、強化繊維及びウィスカの少なくとも一方を含む複数の複合材が接合されてなることを特徴とする基板保持部材が提供される。
【発明の効果】
【0007】
上記構成によれば、セラミックス基台は、セラミックスをマトリックスとし、強化繊維及び/又はウィスカを含む複数の複合材が接合されてなるものであるので、強化繊維及び/又はウィスカを含まない場合と比べて、セラミックス基台の靱性を向上させて、外力に対する耐性を向上させることができる。
【図面の簡単な説明】
【0008】
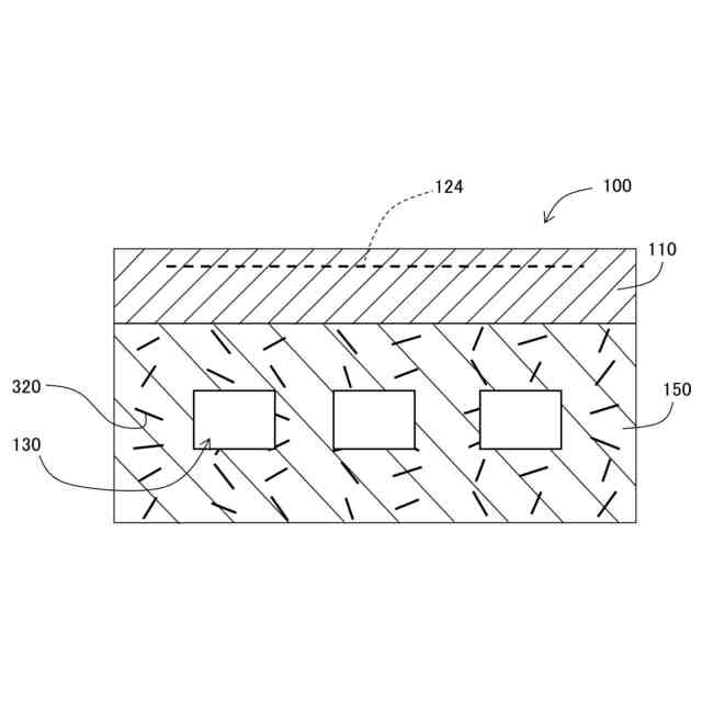
図1は、静電チャックモジュール100の斜視図である。
図2は、強化繊維の織物310を有するセラミックス基台150を備える静電チャックモジュール100の概略説明図である。
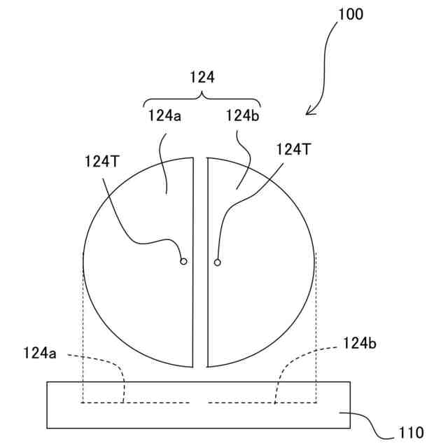
図3は、静電吸着用電極124の形状を示した概略説明図である。
図4は、強化繊維の短繊維320を有するセラミックス基台150を備える静電チャックモジュール100の概略説明図である。
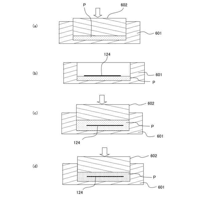
(a)~(d)は、セラミックス基材110の製造方法の流れを示す図である。
(a)~(d)は、セラミックス基材110の別の製造方法の流れを示す図である。
図7は、セラミックス基台150の製造方法の流れを示すフローチャートである。
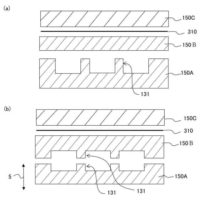
(a)は3枚の焼成体150A、150B、150Cのうち、焼成体150Aに溝131を形成した状態を示す説明図であり、(b)は3枚の焼成体150A、150B、150Cのうち、焼成体150A、150Bに溝131を形成した状態を示す説明図である。
図9は、セラミックス基台150の別の製造方法の流れを示すフローチャートである。
図10は、流路130の間の壁部分132の直上に配置された強化繊維の織物310を説明するための概略説明図である。
【発明を実施するための形態】
【0009】
<静電チャックモジュール100>
本実施形態に係る静電チャックモジュール100について、図1、2を参照しつつ説明する。本実施形態に係る静電チャックモジュール100は、シリコンウェハなどの半導体ウェハ(以下、単にウェハ10という)を吸着して保持するための基板保持部材の一例である。なお、以下の説明においては、静電チャックモジュール100が使用可能に設置された状態(図1の状態)を基準として上下方向5が定義される。図1に示されるように、本実施形態に係る静電チャックモジュール100は、セラミックス基材110と、静電吸着用電極124(図2、3参照)と、セラミックス基台150とを主に備える。
【0010】
セラミックス基材110は、直径12インチ(約300mm)の円形の板状の形状を有する部材であり、上下方向5に対向する2つの主面(上面111及び下面113)を備える。セラミックス基材110の上面111及び下面113は、それぞれ、本発明の第1主面、第2主面に対応する。セラミックス基材110の上面111には、保持対象であるウェハ10が載置される。なお、図1では図面を見やすくするためにウェハ10とセラミックス基材110とを離して図示している。本実施形態において、セラミックス基材110は、セラミックス焼結体により形成されている。例えば、AlNの含有率を90%以上にすることができる。なお、セラミックス基材110は、必ずしもAlNセラミックスにより形成されていなくてもよい。例えば、Al
2
O
3
を含むセラミックス焼結体(Al
2
O
3
セラミックスと呼ぶ)により形成されていてもよい。
(【0011】以降は省略されています)
この特許をJ-PlatPat(特許庁公式サイト)で参照する
関連特許
日本特殊陶業株式会社
電極
4日前
日本特殊陶業株式会社
電極
4日前
日本特殊陶業株式会社
電極
4日前
日本特殊陶業株式会社
電極
4日前
日本特殊陶業株式会社
保持装置
8日前
日本特殊陶業株式会社
保持装置
6日前
日本特殊陶業株式会社
保持部材
18日前
日本特殊陶業株式会社
保持装置
4日前
日本特殊陶業株式会社
保持装置
4日前
日本特殊陶業株式会社
樹脂成形体
18日前
日本特殊陶業株式会社
抗菌処理装置
18日前
日本特殊陶業株式会社
超音波発生装置
8日前
日本特殊陶業株式会社
超音波発生装置
8日前
日本特殊陶業株式会社
セラミックヒータ
5日前
日本特殊陶業株式会社
セラミックヒータ
5日前
日本特殊陶業株式会社
セラミックヒータ
8日前
日本特殊陶業株式会社
マイクロリアクタ
8日前
日本特殊陶業株式会社
圧電セラミック積層体
5日前
日本特殊陶業株式会社
圧電素子およびその利用
8日前
日本特殊陶業株式会社
圧電素子およびその利用
8日前
日本特殊陶業株式会社
セラミック部材の製造方法
18日前
日本特殊陶業株式会社
金属有機構造体、および賦形体
今日
日本特殊陶業株式会社
積層圧電セラミック素子及び装置
8日前
日本特殊陶業株式会社
積層圧電セラミック素子及び装置
8日前
日本特殊陶業株式会社
配線基板および導電層の製造方法
4日前
日本特殊陶業株式会社
積層圧電セラミック素子及び装置
8日前
日本特殊陶業株式会社
配線基板および導電層の製造方法
4日前
日本特殊陶業株式会社
海洋無脊椎動物の陸上養殖システム
4日前
日本特殊陶業株式会社
セラミックヒータ及び液体加熱装置
5日前
日本特殊陶業株式会社
基板保持部材及びセラミックスサセプタ
今日
日本特殊陶業株式会社
基板保持部材及びセラミックスサセプタ
今日
日本特殊陶業株式会社
ヒータの製造方法及びガスセンサの製造方法
12日前
日本特殊陶業株式会社
積層圧電セラミック部品、およびそれを備える装置
8日前
日本特殊陶業株式会社
積層圧電セラミック部品、およびそれを備える装置
8日前
日本特殊陶業株式会社
モルタル又はコンクリート、及びそれを用いた構造体
18日前
日本特殊陶業株式会社
保持装置
6日前
続きを見る
他の特許を見る