TOP
|
特許
|
意匠
|
商標
特許ウォッチ
Twitter
他の特許を見る
10個以上の画像は省略されています。
公開番号
2025147655
公報種別
公開特許公報(A)
公開日
2025-10-07
出願番号
2024048010
出願日
2024-03-25
発明の名称
水切り装置、その設置方法、およびその設置方法に使用される位置決め治具とフック
出願人
八千代エンジニヤリング株式会社
,
株式会社栗本鐵工所
代理人
個人
,
個人
,
個人
,
個人
主分類
E01D
19/08 20060101AFI20250930BHJP(道路,鉄道または橋りょうの建設)
要約
【課題】コンクリート建造物の新設時に水切り装置を容易に設置できるようにする。
【解決手段】水切り装置1の構成として、コンクリート建造物2に埋設される部分に引掛り部11aを有する水切り部材11と、その引掛り部11aと係合する被係合部13を有するフック12とを備え、水切り部材11とフック12は、その引掛り部11aと被係合部13とが非直交状態で交差して係合することにより互いに固定されるものを採用し、コンクリート建造物2を新設する際に、水切り部材11の一部をコンクリート建造物2の表面から突出させ、水切り部材11の引掛り部11aとフック12の被係合部13とを係合させてコンクリート建造物2に埋設する状態でコンクリート3を打設することにより、その打設作業と同時に水切り装置1を容易に設置できるようにした。
【選択図】図1
特許請求の範囲
【請求項1】
コンクリート建造物の表面部に設けられ、前記コンクリート建造物の表面に沿う水の流れを遮断する水切り装置において、
前記コンクリート建造物の表面から一部が突出する状態で設けられ、前記コンクリート建造物に埋設される部分に引掛り部を有する水切り部材と、前記コンクリート建造物に埋設され、前記水切り部材の引掛り部と係合する被係合部を有するフックとを備え、
前記水切り部材と前記フックは、前記引掛り部と前記被係合部とが非直交状態で交差して係合することにより互いに固定されるものであることを特徴とする水切り装置。
続きを表示(約 1,200 文字)
【請求項2】
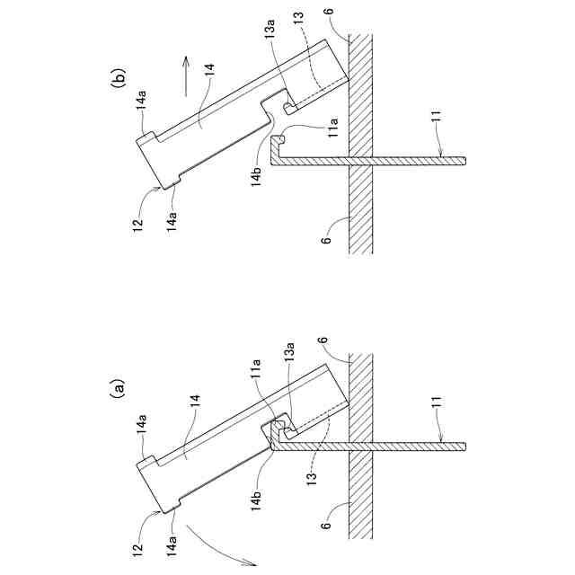
前記水切り部材の引掛り部と前記フックの被係合部との係合は、前記被係合部に形成された係合溝に前記引掛り部を挿入した状態で前記フックを回動させて、前記係合溝の両縁部を前記引掛り部に当接させることによって行われることを特徴とする請求項1に記載の水切り装置。
【請求項3】
前記水切り部材は、前記コンクリート建造物の表面から突出する部分の根元部が前記水の流れと交差する方向に延びる板状に形成されていることを特徴とする請求項1に記載の水切り装置。
【請求項4】
前記フックに、前記引掛り部に前記被係合部が係合した状態で前記水切り部材を高さ方向に位置決めする位置決め部が形成されていることを特徴とする請求項1に記載の水切り装置。
【請求項5】
コンクリート建造物の表面部に設けられ、前記コンクリート建造物の表面に沿う水の流れを遮断する水切り装置において、
前記コンクリート建造物の表面から一部が突出する状態で設けられ、前記コンクリート建造物に埋設される部分に引掛り部を有する水切り部材を備え、
前記水切り部材は、前記コンクリート建造物の表面から突出する部分の根元部が前記水の流れと交差する方向に延びる板状に形成されていることを特徴とする水切り装置。
【請求項6】
前記コンクリート建造物に埋設され、前記水切り部材の引掛り部と係合する被係合部を有するフックをさらに備え、前記フックに、前記引掛り部に前記被係合部が係合した状態で前記水切り部材を高さ方向に位置決めする位置決め部が形成されていることを特徴とする請求項5に記載の水切り装置。
【請求項7】
請求項1乃至3又は5のいずれかに記載の水切り装置の設置方法において、
前記コンクリート建造物を新設する際に、コンクリート打設用の型枠を前記水切り部材の高さ方向中央部を挟むように配置し、前記水切り部材の引掛り部と前記型枠の間に位置決め治具を挿入して水切り部材を高さ方向に位置決めした後、コンクリートを打設することを特徴とする水切り装置の設置方法。
【請求項8】
請求項1乃至3のいずれかに記載の水切り装置の設置方法において、
前記コンクリート建造物を新設する際に、コンクリート打設用の型枠を前記水切り部材の高さ方向中央部を挟むように配置し、前記水切り部材の引掛り部と前記型枠の間に位置決め治具を挿入して水切り部材を高さ方向に位置決めした状態で、前記引掛り部と前記フックの被係合部を係合させた後、コンクリートを打設することを特徴とする水切り装置の設置方法。
【請求項9】
前記フックが前記位置決め治具として兼用されることを特徴とする請求項8に記載の水切り装置の設置方法。
【請求項10】
請求項7に記載の水切り装置の設置方法で使用される位置決め治具。
(【請求項11】以降は省略されています)
発明の詳細な説明
【技術分野】
【0001】
本発明は、コンクリート建造物の側面や下向き面をつたう水の流れを遮断する水切り装置と、その水切り装置の設置方法、およびその水切り装置の設置方法に使用される位置決め治具とフックに関する。
続きを表示(約 1,300 文字)
【背景技術】
【0002】
橋梁等のコンクリート建造物では、雨天時に雨水が側面から下向き面をつたって流れると、コンクリート表面に汚れが付着して美観が損なわれることがある。また、寒冷地に設置されているコンクリート建造物の場合、コンクリート表面に付着した水が凍結と融解を繰り返すことにより、表面層が劣化して剥落するおそれがある。また、コンクリート製の床版部を鋼製の橋脚部で支持している橋梁は、床版部から橋脚部につたわる雨水によって橋脚部が腐食するおそれがある。
【0003】
このため、上記のようなコンクリート建造物の側面や下向き面には、その面をつたう水の流れを遮断する水切り装置が設置されることがある(例えば、特許文献1参照。)。
【0004】
特許文献1に開示されている水切り装置は、橋梁のコンクリート製床版部の下向き面に雌ネジ部材を埋め込み、その雌ネジ部材にL字状の水切り部材を貫通する取付ボルトをねじ込むことにより、水切り部材を床版部の下向き面に取り付けるようにしたものである。
【先行技術文献】
【特許文献】
【0005】
特開平9-13327号公報
【発明の概要】
【発明が解決しようとする課題】
【0006】
ところで、既設の橋梁に取り付けるタイプの水切り装置は、上記特許文献1のもののように容易にかつ確実に施工できるものが多くあるが、橋梁新設時に取り付けるタイプの水切り装置には、そのようなものがあまりみられない。
【0007】
そこで、本発明は、コンクリート建造物の新設時に水切り装置を容易に設置できるようにすることを課題とする。
【課題を解決するための手段】
【0008】
上記課題を解決するため、本発明は、コンクリート建造物の表面部に設けられ、前記コンクリート建造物の表面に沿う水の流れを遮断する水切り装置において、前記コンクリート建造物の表面から一部が突出する状態で設けられ、前記コンクリート建造物に埋設される部分に引掛り部を有する水切り部材と、前記コンクリート建造物に埋設され、前記水切り部材の引掛り部と係合する被係合部を有するフックとを備え、前記水切り部材と前記フックは、前記引掛り部と前記被係合部とが非直交状態で交差して係合することにより互いに固定されるものである構成(構成1)を採用した。
【0009】
上記構成1の水切り装置は、コンクリート建造物の新設時に、水切り部材の一部がコンクリート建造物の表面から突出し、水切り部材の引掛り部がフックに固定された状態で埋設されるようにコンクリート打設を行うことにより、容易に設置することができる。
【0010】
上記構成1において、前記水切り部材の引掛り部と前記フックの被係合部との係合は、前記被係合部に形成された係合溝に前記引掛り部を挿入した状態で前記フックを回動させて、前記係合溝の両縁部を前記引掛り部に当接させることによって行われるようにすることが望ましい(構成2)。このようにすれば、水切り部材とフックを簡単に固定することができる。
(【0011】以降は省略されています)
この特許をJ-PlatPat(特許庁公式サイト)で参照する
関連特許
株式会社熊谷組
床版
27日前
株式会社熊谷組
床版
27日前
個人
折り畳み式標識具
1か月前
白出商事株式会社
縁石銘板(名板)
29日前
北越消雪機械工業株式会社
消雪装置
1か月前
株式会社セイトク
防雪パネル
19日前
株式会社NIPPO
斜面用ローラ
28日前
株式会社NIPPO
斜面用ローラ
28日前
株式会社NIPPO
距離補正装置
27日前
株式会社ササキコーポレーション
作業機
26日前
株式会社NIPPO
切削用制御装置
27日前
戸田建設株式会社
コンクリート構造
9日前
三信工業株式会社
床版架設装置
26日前
桑名金属工業株式会社
融雪マットおよび融雪方法
26日前
東亜グラウト工業株式会社
防護柵の支柱構造
27日前
戸田建設株式会社
鋼製ブラケットの取付装置
9日前
戸田建設株式会社
鋼製ブラケットの取付装置
9日前
株式会社NIPPO
アスファルトスタッカ制御装置
28日前
日鉄神鋼建材株式会社
補強金具、及び支柱取付構造
27日前
西尾レントオール株式会社
コーンベット型電源装置
21日前
株式会社NIPPO
バンク用建設機械サポータ装置
28日前
日立建機株式会社
転圧機械
27日前
日鉄建材株式会社
吊り材で支持された足場用床パネル
26日前
鹿島建設株式会社
床版架設方法
12日前
オリエンタル白石株式会社
補強鋼板及び排土方法
19日前
株式会社日本コンポジット工業
壁用構造体
26日前
宮地エンジニアリング株式会社
ワイヤブリッジの設置方法
15日前
三井住友建設株式会社
床版拡幅工法
28日前
株式会社NIPPO
コンクリートスタッカ
1か月前
鹿島建設株式会社
橋、および橋の製造方法
20日前
株式会社プロテックエンジニアリング
衝撃吸収柵
22日前
東日本旅客鉄道株式会社
横取り方法
1か月前
オリエンタル白石株式会社
馬蹄形ジベルの合成床版撤去工法
13日前
株式会社NIPPO
スコップ加熱器
26日前
株式会社NIPPO
土壌改質材及びそれを含む土壌
27日前
日本製鉄株式会社
橋脚構造
26日前
続きを見る
他の特許を見る