TOP
|
特許
|
意匠
|
商標
特許ウォッチ
Twitter
他の特許を見る
公開番号
2025147443
公報種別
公開特許公報(A)
公開日
2025-10-07
出願番号
2024047693
出願日
2024-03-25
発明の名称
溶湯量予測システムおよびプログラム
出願人
株式会社栗本鐵工所
代理人
弁理士法人アイミー国際特許事務所
主分類
G01G
17/04 20060101AFI20250930BHJP(測定;試験)
要約
【課題】保持炉内の溶湯量を精度良く予測する。
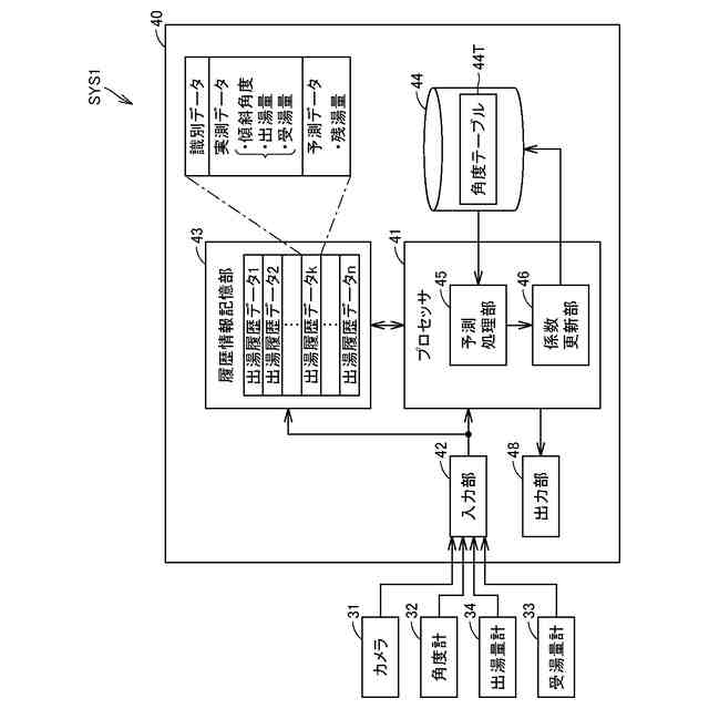
【解決手段】溶湯量予測システム(SYS1)は、保持炉が傾動可能な傾動角度範囲を複数区間に区切った角度区間ごとに、単位角度当たりの溶湯保持係数を保持する角度情報記憶手段(44)と、保持炉内の溶湯の出湯開始時における保持炉の傾動角度を、出湯時角度として検出する角度検知手段(32)と、予測処理手段(45)とを備える。予測処理手段は、傾動角度範囲のうち出湯時角度を含む角度区間、および、当該角度区間より小さい側または大きい側の角度区間を特定し、特定された角度区間ごとの重量を、対応する溶湯保持係数を用いて算出および積算することにより、出湯直前における保持炉の残湯量または余裕容量の予測値を計算する。
【選択図】図4
特許請求の範囲
【請求項1】
傾動可能に支持された保持炉内の溶湯量を予測する溶湯量予測システムであって、
前記保持炉が傾動可能な傾動角度範囲を複数区間に区切った角度区間ごとに、単位角度当たりの溶湯保持係数を保持する角度情報記憶手段と、
前記保持炉内の溶湯の出湯開始時における前記保持炉の傾動角度を、出湯時角度として検出する角度検知手段と、
前記傾動角度範囲のうち前記出湯時角度を含む角度区間、および、当該角度区間より小さい側または大きい側の角度区間を特定し、特定された角度区間ごとの重量を、対応する溶湯保持係数を用いて算出および積算することにより、出湯直前における前記保持炉の残湯量または余裕容量の予測値を計算する予測処理手段とを備える、溶湯量予測システム。
続きを表示(約 990 文字)
【請求項2】
前記角度検知手段により検出された出湯時角度、および前記保持炉からの溶湯の出湯量を含む実測データ、ならびに、前記予測処理手段による予測値を含む予測データを含む出湯履歴データを記憶する履歴情報記憶手段と、
前記履歴情報記憶手段に記憶された前記出湯履歴データを解析して角度区間ごとの溶湯保持係数を演算し、前記角度情報記憶手段に記憶された溶湯保持係数を更新する係数更新手段をさらに備える、請求項1に記載の溶湯量予測システム。
【請求項3】
前記実測データは、前記保持炉への溶湯の受湯量をさらに含み、
前記係数更新手段は、
前記実測データに含まれる出湯量および受湯量に基づいて算出される出湯タイミングごとの変動湯量実測値と、前記予測データに含まれる予測値の変化量である変動湯量予測値との変動湯量誤差を算出する誤差算出手段と、
前記誤差算出手段が算出した変動湯量誤差がゼロに近くなるように、角度区間ごとの溶湯保持係数を演算する演算手段とを含む、請求項2に記載の溶湯量予測システム。
【請求項4】
前記係数更新手段は、
前記実測データに含まれる出湯量および前記予測データに含まれる予測値に基づいて出湯タイミングごとの受湯量を予測し、連続する出湯タイミング間の受湯量誤差を算出する誤差算出手段と、
前記誤差算出手段が算出した受湯量誤差がゼロに近くなるように、角度区間ごとの溶湯保持係数を演算する演算手段とを含む、請求項2に記載の溶湯量予測システム。
【請求項5】
傾動可能に支持された保持炉内の溶湯量を予測するためのプログラムであって、
前記保持炉内の溶湯の出湯開始時における前記保持炉の傾動角度を、出湯時角度として検出するステップと、
前記保持炉が傾動可能な傾動角度範囲のうち前記出湯時角度を含む角度区間、および、当該角度区間より小さい側または大きい側の角度区間を特定するステップと、
特定された角度区間ごとの重量を、角度情報記憶手段において特定された角度区間と対応付けられた溶湯保持係数を用いて算出および積算することにより、出湯直前における前記保持炉の残湯量または余裕容量の予測値を計算するステップとをコンピュータに実行させる、溶湯量予測プログラム。
発明の詳細な説明
【技術分野】
【0001】
本発明は、溶湯量予測システムおよびプログラムに関し、特に、傾動可能に支持された保持炉内の溶湯量を予測する溶湯量予測システムおよびプログラムに関する。
続きを表示(約 1,600 文字)
【背景技術】
【0002】
鋳鉄の製造において、キュポラ等の溶解設備で溶かした鋳鉄(溶湯)の成分および温度を安定化させるために、低周波炉等の保持炉が用いられる場合がある。保持炉の例として、溝形誘導炉が上げられる。この保持炉は、炉の下に取り付けられたインダクタ(熱源部)によって溶湯を加熱することで、温度を制御することができる。溶湯は保持炉で成分および温度を安定させた後、配湯用の取鍋へ注ぎ込まれる。
【0003】
溝形保持炉の内壁面には、耐火物がライニングされている。築炉直後は設計容量の溶湯を保持することができるが、経年による損耗や溶湯スラグ(不純物)の付着によって、容量変動が起きることが一般的である。
【0004】
保持炉の溶湯量を把握する方法として、特開昭61-076918号公報(特許文献1)に開示された残湯重量計算方法が挙げられる。ロードセルで溶湯の重量を求めると耐火材の損耗等によって風袋重量がずれるため、出湯開始時の絶対角度と停止時の絶対角度を検出し、角度から見かけ体積を求め、出湯の実際の重量との関係から補正係数を算出し、炉内体積変動を補正することができる、というものである。
【先行技術文献】
【特許文献】
【0005】
特開昭61-076918号公報
【発明の概要】
【発明が解決しようとする課題】
【0006】
特許文献1では、出湯開始時と出湯停止時の角度を検出する必要がある。出湯を停止する際、保持炉をゆっくりと傾動させるため、出湯口の形状によっては溶湯停止タイミングがはっきりせず、正確な出湯停止角度を求めることが困難な場合がある。
【0007】
また、特許文献1の計算方法は見かけ容量に補正係数をかけるため、保持炉の内壁面に不均一にスラグが付着し、内壁面の形状が設計形状と著しく異なっている場合、対応できない課題がある。つまり、保持炉内の溶湯量(残湯量)を適切に計算することができない。
【0008】
本発明は、上記のような課題を解決するためになされたものであって、その目的は、保持炉内の溶湯量を精度良く予測する(計算する)ことのできる溶湯量予測システムおよびプログラムを提供することである。
【課題を解決するための手段】
【0009】
この発明のある局面に従う溶湯量予測システムは、傾動可能に支持された保持炉内の溶湯量を予測する溶湯量予測システムであって、角度情報記憶手段と、角度検知手段と、予測処理手段とを備える。角度情報記憶手段は、保持炉が傾動可能な傾動角度範囲を複数区間に区切った角度区間ごとに、単位角度当たりの溶湯保持係数を保持する。角度検知手段は、保持炉内の溶湯の出湯開始時における保持炉の傾動角度を、出湯時角度として検出する。予測処理手段は、傾動角度範囲のうち出湯時角度を含む角度区間、および、当該角度区間より小さい側または大きい側の角度区間を特定し、特定された角度区間ごとの重量を、対応する溶湯保持係数を用いて算出および積算することにより、出湯直前における保持炉の残湯量または余裕容量の予測値を計算する。
【0010】
好ましくは、溶湯量予測システムは、履歴情報記憶手段と、係数更新手段をさらに備える。履歴情報記憶手段は、角度検知手段により検出された出湯時角度、および保持炉からの溶湯の出湯量を含む実測データ、ならびに、予測処理手段による予測値を含む予測データを含む出湯履歴データを記憶する。係数更新手段は、履歴情報記憶手段に記憶された出湯履歴データを解析して角度区間ごとの溶湯保持係数を演算し、角度情報記憶手段に記憶された溶湯保持係数を更新する。
(【0011】以降は省略されています)
この特許をJ-PlatPat(特許庁公式サイト)で参照する
関連特許
個人
採尿及び採便具
8日前
日本精機株式会社
検出装置
2日前
個人
アクセサリー型テスター
24日前
個人
高精度同時多点測定装置
23日前
株式会社ミツトヨ
測定器
14日前
甲神電機株式会社
電流検出装置
2日前
アズビル株式会社
電磁流量計
17日前
ダイキン工業株式会社
監視装置
28日前
トヨタ自動車株式会社
監視装置
29日前
大和製衡株式会社
組合せ計量装置
11日前
愛知電機株式会社
軸部材の外観検査装置
11日前
大和製衡株式会社
組合せ計量装置
11日前
個人
非接触による電磁パルスの測定方法
今日
双庸電子株式会社
誤配線検査装置
3日前
日本信号株式会社
距離画像センサ
今日
個人
システム、装置及び実験方法
17日前
長崎県
形状計測方法
24日前
愛知時計電機株式会社
ガスメータ
14日前
ローム株式会社
半導体装置
22日前
ローム株式会社
半導体装置
22日前
TDK株式会社
磁気センサ
29日前
日東精工株式会社
振動波形検査装置
3日前
日本特殊陶業株式会社
センサ
28日前
日本特殊陶業株式会社
センサ
28日前
日本特殊陶業株式会社
センサ
28日前
株式会社不二越
X線測定装置
今日
日本特殊陶業株式会社
センサ
28日前
日本特殊陶業株式会社
センサ
14日前
中国電力株式会社
電柱管理システム
28日前
日本特殊陶業株式会社
センサ
28日前
ダイハツ工業株式会社
移動支援装置
29日前
トヨタ自動車株式会社
測定システム
21日前
株式会社デンソー
電流センサ
22日前
コイト電工株式会社
座席濡れ検知装置
28日前
アンリツ株式会社
X線検査装置
14日前
株式会社電巧社
試験装置及び試験方法
3日前
続きを見る
他の特許を見る