TOP
|
特許
|
意匠
|
商標
特許ウォッチ
Twitter
他の特許を見る
10個以上の画像は省略されています。
公開番号
2025147371
公報種別
公開特許公報(A)
公開日
2025-10-07
出願番号
2024047591
出願日
2024-03-25
発明の名称
乗客コンベアのシャフトの異常検出装置及びエレベーター
出願人
フジテック株式会社
代理人
弁理士法人 丸山国際特許事務所
主分類
B66B
3/00 20060101AFI20250930BHJP(巻上装置;揚重装置;牽引装置)
要約
【課題】本発明の目的は、乗客コンベアのシャフトの捻れや折損などの異常を即座に検知できる検知装置を提供する。
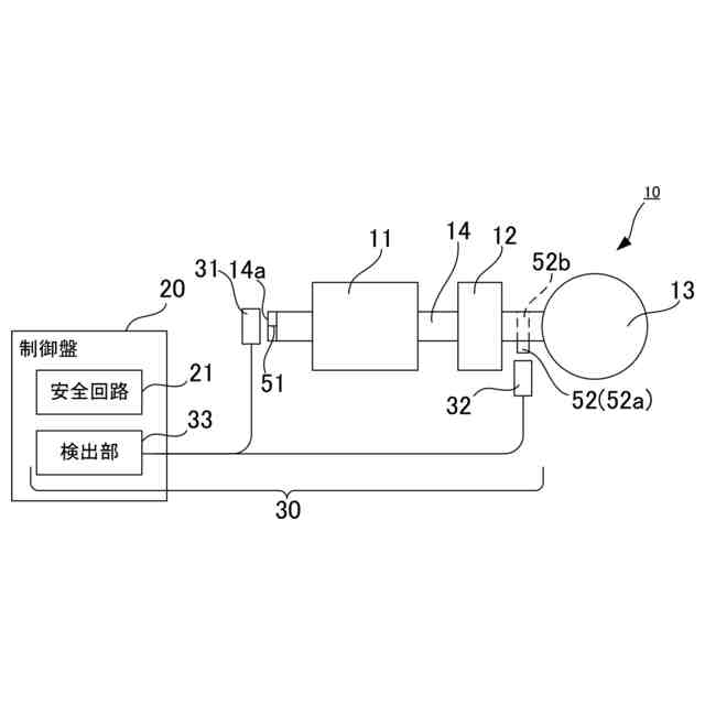
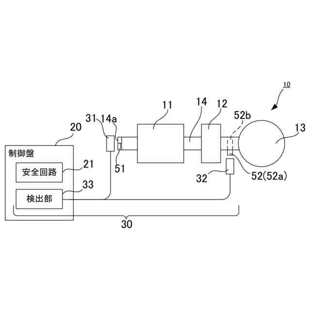
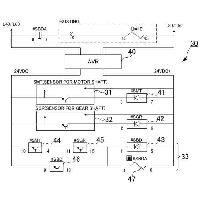
【解決手段】本発明の乗客コンベアのシャフト14の異常検出装置30は、乗客コンベアの動力を伝達するシャフトの異常検出装置であって、前記シャフトの回転を検出して、第1信号を送出する第1センサー31と、前記第1センサーに対して前記シャフトの軸方向に離れた位置に配置され、前記シャフトの回転を検出して、第2信号を送出する第2センサー32と、前記第1信号と前記第2信号を受信し、前記シャフトの異常を検出する検出部33と、を具える。
【選択図】図1
特許請求の範囲
【請求項1】
乗客コンベアの動力を伝達するシャフトの異常検出装置であって、
前記シャフトの回転を検出して、第1信号を送出する第1センサーと、
前記第1センサーに対して前記シャフトの軸方向に離れた位置に配置され、前記シャフトの回転を検出して、第2信号を送出する第2センサーと、
前記第1信号と前記第2信号を受信し、前記シャフトの異常を検出する検出部と、
を具える、乗客コンベアのシャフトの異常検出装置。
続きを表示(約 1,000 文字)
【請求項2】
かごを昇降させる駆動部に、上流からモーター、ブレーキ装置及び減速機を並べて配置しており、前記シャフトは、基端が前記モーターから上流側に飛び出し、先端が前記ブレーキ装置を貫通して前記減速機に連結された駆動シャフトであって、
前記第1センサー又は前記第2センサーの一方は、前記モーターから上流側に飛び出た前記シャフトの基端近傍、他方は、前記ブレーキ装置と前記減速機との間で前記シャフトの回転を検出するよう配置される、
請求項1に記載の乗客コンベアのシャフトの異常検出装置。
【請求項3】
前記検出部は、前記第1信号と前記第2信号が所定のパターンで受信される場合に前記シャフトは異常なしと判断し、前記パターンからずれている場合に前記シャフトは異常であると判断する、
請求項2に記載の乗客コンベアのシャフトの異常検出装置。
【請求項4】
前記第1信号と前記第2信号は、何れもオン/オフ信号であり、前記シャフトに異常がない場合、前記第1信号と前記第2信号は、オン信号が重ならず、前記第1信号と前記第2信号のオン信号が重なったときに、前記検出部は、前記シャフトは異常であると判断する、
請求項3に記載の乗客コンベアのシャフトの異常検出装置。
【請求項5】
前記第1センサー及び前記第2センサーは、近接センサーである、
請求項4に記載の乗客コンベアのシャフトの異常検出装置。
【請求項6】
前記乗客コンベアは、エレベーターであり、
請求項1乃至請求項5の何れか1項に記載の乗客コンベアのシャフトの異常検出装置と、
かごを昇降させる駆動部と、
前記駆動部への給電を遮断させる安全回路と、
を有し、
前記駆動部は、モーター、ブレーキ装置及び減速機を並べて配置しており、前記シャフトは、基端が前記モーターから上流側に飛び出し、先端が前記ブレーキ装置を貫通して前記減速機に連結された駆動シャフトであって、
前記第1センサー又は前記第2センサーの一方は、前記モーターから上流側に飛び出た前記シャフトの基端近傍、他方は、前記ブレーキ装置と前記減速機との間で前記シャフトの回転を検出するよう配置され、
前記検出部は、前記シャフトの異常を検出すると、前記安全回路を遮断させる、
乗客コンベア。
発明の詳細な説明
【技術分野】
【0001】
本発明は、エレベーターやエスカレーターなどの乗客コンベアに用いられるシャフトの異常を検出する装置及び之を具えたエレベーターに関するものである。
続きを表示(約 1,300 文字)
【背景技術】
【0002】
エレベーターやエスカレーターなどの乗客コンベアでは、モーターの回転駆動力は、シャフトを介して伝達される。たとえば、エレベーターでは、モーターのシャフトと減速機のシャフトを連結し、モーターと減速機との間にブレーキ装置を取り付けている。
【0003】
経年劣化や地震などにより、シャフトに捻れや折損などの異常が生じることがある。モーターが駆動中にシャフトに異常が生じた場合、モーターは駆動を続けているからブレーキ装置は作動しない。一般にはかごはカウンターウェイトよりも軽量であるから、シャフトが折損すると、かごは上昇方向に移動して、エレベーターシャフトの上端近傍に設けられたリミットスイッチに検知されて強制停止することになる。
【0004】
特許文献1では、駆動シーブの速度を検出するレゾルバと、調速機に主ロープの速度を検出するレゾルバを取り付け、両レゾルバの信号を比較することで、駆動シーブと主ロープ間の滑りを検出するエレベーターが開示されている。
【先行技術文献】
【特許文献】
【0005】
WO2015/083407号公報
【発明の開示】
【発明が解決しようとする課題】
【0006】
特許文献1は、主ロープの滑りを検知するものであって、シャフトの捻れや折損を検知するものではない。
【0007】
本発明の目的は、乗客コンベアのシャフトの捻れや折損などの異常を即座に検知できる検知装置を提供することである。
【課題を解決するための手段】
【0008】
本発明の乗客コンベアのシャフトの異常検出装置は、
乗客コンベアの動力を伝達するシャフトの異常検出装置であって、
前記シャフトの回転を検出して、第1信号を送出する第1センサーと、
前記第1センサーに対して前記シャフトの軸方向に離れた位置に配置され、前記シャフトの回転を検出して、第2信号を送出する第2センサーと、
前記第1信号と前記第2信号を受信し、前記シャフトの異常を検出する検出部と、
を具える。
【0009】
かごを昇降させる駆動部に、上流からモーター、ブレーキ装置及び減速機を並べて配置しており、前記シャフトは、基端が前記モーターから上流側に飛び出し、先端が前記ブレーキ装置を貫通して前記減速機に連結された駆動シャフトであって、
前記第1センサー又は前記第2センサーの一方は、前記モーターから上流側に飛び出た前記シャフトの基端近傍、他方は、前記ブレーキ装置と前記減速機との間で前記シャフトの回転を検出するよう配置することができる。
【0010】
前記検出部は、前記第1信号と前記第2信号が所定のパターンで受信される場合に前記シャフトは異常なしと判断し、前記パターンからずれている場合に前記シャフトは異常であると判断することができる。
(【0011】以降は省略されています)
この特許をJ-PlatPat(特許庁公式サイト)で参照する
関連特許
個人
自走手摺
2か月前
ユニパルス株式会社
吊具
4か月前
個人
海上コンテナ昇降装置
10か月前
ユニパルス株式会社
吊具装置
10か月前
ユニパルス株式会社
荷役装置
9か月前
水戸工業株式会社
吊り具
6か月前
株式会社豊田自動織機
荷役車両
8か月前
株式会社豊田自動織機
産業車両
1か月前
株式会社豊田自動織機
産業車両
10か月前
株式会社豊田自動織機
荷役車両
9か月前
ユニパルス株式会社
リフト装置
4か月前
株式会社いうら
車椅子用昇降機
2か月前
株式会社伊藤
滑り止め装置
2か月前
大栄産業株式会社
クランプ
4か月前
ユニパルス株式会社
荷役助力装置
3か月前
ユニパルス株式会社
荷役助力装置
5か月前
個人
エアバック式レスキュー用品
4日前
白山工業株式会社
バランサ
6か月前
愛知製鋼株式会社
受け架台
1か月前
株式会社大林組
安全支援システム
1か月前
個人
垂直自動搬送機
1か月前
ユニパルス株式会社
荷役助力装置
4か月前
株式会社ユピテル
システム等
6か月前
個人
建築部材の吊り上げ装置
12か月前
株式会社キトー
タイヤ用吊具
5か月前
株式会社豊田自動織機
フォークリフト
23日前
株式会社豊田自動織機
フォークリフト
7か月前
フジテック株式会社
エレベータ
8か月前
株式会社五十鈴製作所
搬送装置
4か月前
中国計量大学
電子安全クランプ
12日前
大和ハウス工業株式会社
吊上具
1か月前
新英運輸株式会社
自動車用台車
5か月前
中坪造園有限会社
吊り荷降ろし具
4か月前
山崎産業株式会社
手摺り拭用器具
1か月前
有限会社サエキ
玉掛用器具
9か月前
フジテック株式会社
エスカレータ
6か月前
続きを見る
他の特許を見る