TOP
|
特許
|
意匠
|
商標
特許ウォッチ
Twitter
他の特許を見る
10個以上の画像は省略されています。
公開番号
2025147287
公報種別
公開特許公報(A)
公開日
2025-10-07
出願番号
2024047494
出願日
2024-03-25
発明の名称
機器テスト処理装置、機器テスト処理方法、機器テスト処理プログラム
出願人
オムロン株式会社
代理人
個人
主分類
G06F
11/36 20060101AFI20250930BHJP(計算;計数)
要約
【課題】ICカードを用いて連続的に利用される複数の異なる機器を検証対象としてテスト検証を実施することが可能な機器テスト処理装置、機器テスト処理方法、機器テスト処理プログラムを提供する。
【解決手段】機器テスト処理装置10は、ICカードを用いて連続的に利用される複数の異なる機器を検証対象としてテスト検証を実施し、検証データ取得部21aと、動作データ生成部21bと、を備える。検証データ取得部21aは、業務指示およびパラメータを含む検証データを取得する。動作データ生成部21bは、検証データ取得部21aにおいて取得された業務指示に基づいて、業務指示ごとのテーブルの中から各機器に含まれる機能ごとの動作データを生成するためのテーブルを決定するとともに、検証データ取得部21aにおいて取得されたパラメータを、決定されたテーブルを用いてコマンド変換して動作データを生成する。
【選択図】図4
特許請求の範囲
【請求項1】
ICカードを用いて連続的に利用される複数の異なる機器を検証対象としてテスト検証を実施する機器テスト処理装置であって、
業務指示およびパラメータを含む検証データを取得する検証データ取得部と、
前記検証データ取得部において取得された前記業務指示に基づいて、前記業務指示ごとのテーブルの中から各機器に含まれる機能ごとの動作データを生成するためのテーブルを決定するとともに、前記検証データ取得部において取得された前記パラメータを、決定されたテーブルを用いてコマンド変換して前記動作データを生成する動作データ生成部と、
を備えている機器テスト処理装置。
続きを表示(約 1,000 文字)
【請求項2】
前記動作データ生成部において生成された前記動作データに基づいて、各機器に対応する動作を実行するIC機能プログラム部を、さらに備えている、
請求項1に記載の機器テスト処理装置。
【請求項3】
前記IC機能プログラム部において実行される動作を検証した結果の適否を判定する判定部を、さらに備えている、
請求項2に記載の機器テスト処理装置。
【請求項4】
前記検証データ取得部は、前記機器の検証パターンをデータ化して検証データを生成する検証装置から、前記検証データを取得する、
請求項1または2に記載の機器テスト処理装置。
【請求項5】
前記動作データ生成部は、前記ICカードを用いて連続的に利用される複数の異なる機器が備えている機能ごとに、前記検証データ取得部において取得された前記パラメータをコマンド変換して、前記動作データを生成する、
請求項1または2に記載の機器テスト処理装置。
【請求項6】
前記動作データを生成するための前記テーブルを保存する記憶部を、さらに備えている、
請求項1または2に記載の機器テスト処理装置。
【請求項7】
前記判定部は、前記ICカードを用いて連続的に利用される複数の異なる機器が備えている機能ごとに、前記動作データに従って実行した結果について妥当性評価を行う、
請求項3に記載の機器テスト処理装置。
【請求項8】
前記判定部は、前記機能ごとに、前記動作データに従って実行した結果、業務内容が前記業務指示に一致しているか、あるいは実行不可であったかを判定する、
請求項7に記載の機器テスト処理装置。
【請求項9】
前記機器は、券売機、自動改札機、ICカード処理機を含む駅務機器、乗り物の乗降処理機および前記ICカードを用いた物販に使用される物販機器のいずれかを含む、
請求項1または2に記載の機器テスト処理装置。
【請求項10】
前記検証データは、前記券売機における定期券の発行処理、前記自動改札機への入退場、前記ICカードへの入金処理、前記ICカードを用いた物販の少なくとも1つを含む、
請求項9に記載の機器テスト処理装置。
(【請求項11】以降は省略されています)
発明の詳細な説明
【技術分野】
【0001】
本発明は、実機のテストをソフトウェアによって実施する機器テスト処理装置、機器テスト処理方法、機器テスト処理プログラムに関する。
続きを表示(約 2,000 文字)
【背景技術】
【0002】
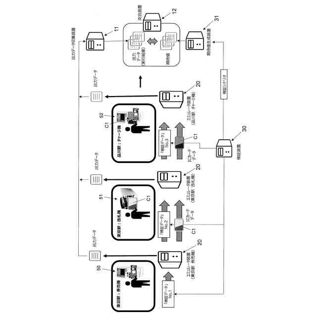
近年、券売機、自動改札機、チャージ機等の駅務機器や物販機器等のICカードの利用時に使用される各機器は、使用時に異常が発生しないかを事前に確認するためのテストが行われる。
このような各機器のテストでは、テスタ(人)によって連続的に処理が行われる複数の駅務機器等の実機を試験する際に、試験要項に基づいてIC(Integrated Circuit)カードや現金の出し入れ、画面の操作を行う必要があり、試験意図の通りに機器が動作しているかはテスターが評価する必要があるため、時間的、コスト的に負担が大きいという課題があった。
【0003】
例えば、特許文献1には、実動作を伴わないソフトウェアでメカ部の機能を構成した擬似メカ装置が、制御部が発行したコマンドを受信した際、予め用意されたテストデータファイルからテストデータを入力しコマンドで指示された動作を実行し、実行結果のデータを実行結果ファイルへ出力するとともに、擬似操作部を有する操作部代行装置が、予め用意された入力データファイルから入力データを入力して画面に表示し、画面で指示された操作情報を制御部へ送信するテスト装置について開示されている。
【先行技術文献】
【特許文献】
【0004】
特開平9-81416号公報
【発明の概要】
【発明が解決しようとする課題】
【0005】
しかしながら、上記従来のテスト装置では、以下に示すような問題点を有している。
すなわち、上記公報に開示されたテスト装置では、ICカードを用いて連続的に利用される複数の異なる機器における一連の処理を1つのテスト装置を用いてテストすることはできなかった。
本発明の課題は、ICカードを用いて連続的に利用される複数の異なる機器を検証対象とするテスト検証をソフトウェア上において一括して実施することが可能な機器テスト処理装置、機器テスト処理方法、機器テスト処理プログラムを提供することにある。
【課題を解決するための手段】
【0006】
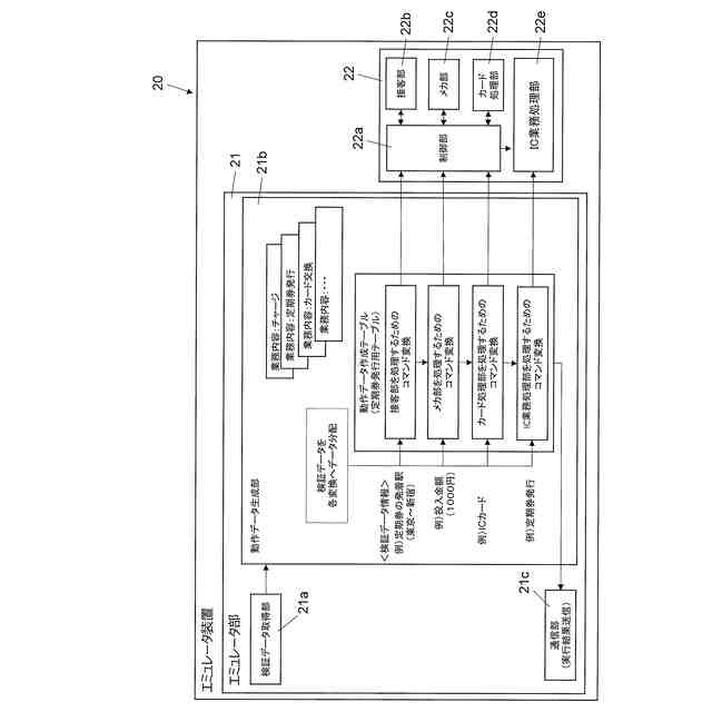
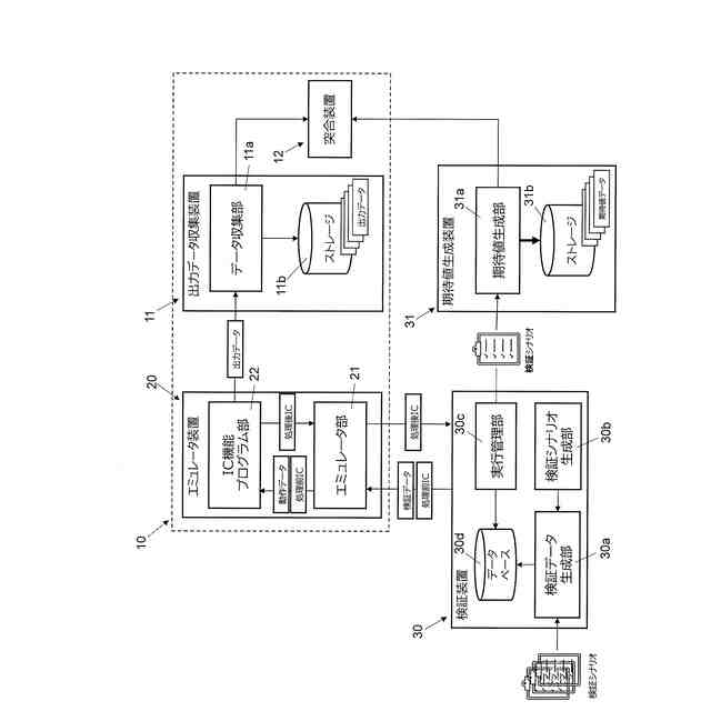
第1の発明に係る機器テスト処理装置は、ICカードを用いて連続的に利用される複数の異なる機器を検証対象としてテスト検証を実施する機器テスト処理装置であって、検証データ取得部と、動作データ生成部と、を備えている。検証データ取得部は、業務指示およびパラメータを含む検証データを取得する。動作データ生成部は、検証データ取得部において取得された業務指示に基づいて、業務指示ごとのテーブルの中から各機器に含まれる機能ごとの動作データを生成するためのテーブルを決定するとともに、検証データ取得部において取得されたパラメータを、決定されたテーブルを用いてコマンド変換して動作データを生成する。
【0007】
ここでは、IC(Integrated Circuit)カードを用いて連続的に利用される複数の異なる機器(例えば、駅務機器、ICカードを用いた物販機器等)についてテスト検証を実施する際に必要な動作データを、業務指示ごとのテーブルを用いて、検証データ取得部において取得されたパラメータをコマンド変換して生成する。
ここで、ICカードを用いて利用される複数の異なる機器には、例えば、券売機、自動改札機、ICカードへ入金処理を行うICカード処理機等を含む駅務機器や、ICカードを用いた物販用の機器等が含まれる。
【0008】
検証データに含まれる業務指示は、例えば、券売機の定期券発行、自動改札機の通過処理、ICカード処理機の入金処理、物販機器の物販処理等を含む。
検証データに含まれるパラメータは、例えば、券売機の定期券発行に関する“〇〇駅からXX駅まで”の情報、ICカード処理機の入金処理に関する“1000円入金”等が含まれる。
【0009】
これにより、各機器の業務指示ごとに生成された複数の動作データを用いて、各機器のテスト検証をソフト的に実施することで、実際に、ICカードを用いて駅務機器や物販用機器を動作させることなく、各機器の異常や動作エラーの有無等を検証することができる。
この結果、ICカードを用いて連続的に利用される複数の異なる機器を検証対象とするテスト検証をソフトウェア上において一括して実施することができる。
【0010】
第2の発明に係る機器テスト処理装置は、第1の発明に係る機器テスト処理装置であって、動作データ生成部において生成された動作データに基づいて、各機器に対応する動作を実行するIC機能プログラム部を、さらに備えている。
これにより、IC機能プログラム部によって、各機器を検証対象とするテスト検証をソフトウェア上において実施することができる。
(【0011】以降は省略されています)
この特許をJ-PlatPat(特許庁公式サイト)で参照する
関連特許
オムロン株式会社
電磁継電器
1か月前
オムロン株式会社
センサシステム
20日前
オムロン株式会社
センサシステム
20日前
オムロン株式会社
センサシステム
20日前
オムロン株式会社
サーボドライバ
1か月前
オムロン株式会社
発光エンブレム
1か月前
オムロン株式会社
システム及び方法
20日前
オムロン株式会社
システム及び方法
20日前
オムロン株式会社
パワーコンディショナ
1か月前
オムロン株式会社
電力システム及び制御装置
1か月前
オムロン株式会社
監視装置、監視方法及びプログラム
24日前
オムロン株式会社
情報処理システムおよび情報処理方法
1か月前
オムロン株式会社
制御装置、制御方法、及び制御プログラム
1か月前
オムロン株式会社
処理装置、処理方法、および処理プログラム
1か月前
オムロン株式会社
画像処理装置、画像処理方法及びプログラム
1か月前
オムロン株式会社
処理装置、処理方法、および処理プログラム
1か月前
オムロン株式会社
管理システム、管理方法及び管理プログラム
24日前
オムロン株式会社
変換装置、変換方法、および、変換プログラム
10日前
オムロン株式会社
モデル生成方法、推論プログラム及び推論装置
1か月前
オムロン株式会社
制御装置、情報処理方法および情報処理プログラム
1か月前
オムロン株式会社
物体検出装置、物体検出方法、および制御プログラム
1か月前
オムロン株式会社
情報処理装置、情報処理方法及び情報処理プログラム
20日前
オムロン株式会社
情報処理装置、情報処理方法及び情報処理プログラム
20日前
オムロン株式会社
感震センサおよび地震検知方法、地震検知プログラム
26日前
オムロン株式会社
感震センサおよび地震検知方法、地震検知プログラム
20日前
オムロン株式会社
感震センサおよび地震検知方法、地震検知プログラム
20日前
オムロン株式会社
感震センサおよび地震検知方法、地震検知プログラム
21日前
オムロン株式会社
感震センサおよび地震検知方法、地震検知プログラム
20日前
オムロン株式会社
オドメトリパラメータ較正装置、方法、及びプログラム
1か月前
オムロン株式会社
表示制御装置、表示制御方法および表示制御プログラム
1か月前
オムロン株式会社
混雑制御システム、混雑制御方法及び混雑制御プログラム
21日前
オムロン株式会社
設計支援方法、設計支援装置、プログラム、及び記録媒体
1か月前
オムロン株式会社
信頼度マップ作成方法、自己位置決定方法、装置、及びプログラム
1か月前
オムロン株式会社
入出場管理システム、入出場管理方法、及び入出場管理プログラム
1か月前
オムロン株式会社
機器テスト処理装置、機器テスト処理方法、機器テスト処理プログラム
1か月前
オムロン株式会社
分析支援装置、分析支援方法、分析支援プログラムおよび分析支援端末
1か月前
続きを見る
他の特許を見る