TOP
|
特許
|
意匠
|
商標
特許ウォッチ
Twitter
他の特許を見る
10個以上の画像は省略されています。
公開番号
2025145781
公報種別
公開特許公報(A)
公開日
2025-10-03
出願番号
2024046160
出願日
2024-03-22
発明の名称
流量調節装置、三次元造形装置および射出成形装置
出願人
セイコーエプソン株式会社
代理人
個人
,
個人
,
個人
主分類
B29C
64/209 20170101AFI20250926BHJP(プラスチックの加工;可塑状態の物質の加工一般)
要約
【課題】流体の流量の制御を精度良く行うことができる流量調節装置を提供する。
【解決手段】流体の流量を調節する流量調節装置であって、本体部と、前記本体部に回転可能に配置された弁部と、を備え、前記弁部は、切り欠き部と、前記弁部の外周部の回転の向きに沿い且つ前記切り欠き部とは異なる位置に設けられた溝部と、を有し、前記溝部の一方は前記切り欠き部から連通し、前記溝部の他方は前記切り欠き部に連通しない、流量調節装置。
【選択図】図10A
特許請求の範囲
【請求項1】
流体の流量を調節する流量調節装置であって、
本体部と、
前記本体部に回転可能に配置された弁部と、
を備え、
前記弁部は、
切り欠き部と、
前記弁部の外周部の回転の向きに沿い且つ前記切り欠き部とは異なる位置に設けられた溝部と、
を有し、
前記溝部の一方は前記切り欠き部から連通し、前記溝部の他方は前記切り欠き部に連通しない、
流量調節装置。
続きを表示(約 980 文字)
【請求項2】
前記弁部は、円筒形の形状を有する、
請求項1に記載の流量調節装置。
【請求項3】
前記溝部は、ノズルの開口の断面積よりも大きい断面積を有し、前記ノズルよりも長い長さを有する、
請求項1または請求項2に記載の流量調節装置。
【請求項4】
前記溝部の断面積は、前記一方から前記他方へ行くに連れて小さくなる、
請求項1または請求項2に記載の流量調節装置。
【請求項5】
前記ノズルの前記開口の直径が500μm以下である、
請求項3に記載の流量調節装置。
【請求項6】
前記ノズルの前記開口の長さが500μm以下である、
請求項3に記載の流量調節装置。
【請求項7】
前記溝部の断面積が前記ノズルの断面積の2倍以上である、
請求項3に記載の流量調節装置。
【請求項8】
前記溝部の長さが前記ノズルの長さの5倍以上である、
請求項3に記載の流量調節装置。
【請求項9】
前記弁部の前記外周部の基準位置の回転角度が第1回転範囲にある場合には、前記回転角度に連れて前記流量が少しずつ多くなっていき、前記回転角度が前記第1回転範囲を超えて第2回転範囲に移行するときに前記流量が急に多くなる、
請求項1または請求項2に記載の流量調節装置。
【請求項10】
三次元造形装置であって、
材料を可塑化して溶融材料にする可塑化部と、
前記可塑化部から供給された前記溶融材料をステージに向かって吐出するノズルと、
を備え、
前記可塑化部は、前記ノズルに供給される前記溶融材料の流量を調節する流量調節部を有し、
前記流量調節部は、
本体部と、
前記本体部に回転可能に配置された弁部と、
を備え、
前記弁部は、
切り欠き部と、
前記弁部の外周部の回転の向きに沿い且つ前記切り欠き部とは異なる位置に設けられた溝部と、
を有し、
前記溝部の一方は前記切り欠き部から連通し、前記溝部の他方は前記切り欠き部に連通しない、
三次元造形装置。
(【請求項11】以降は省略されています)
発明の詳細な説明
【技術分野】
【0001】
本開示は、流量調節装置、三次元造形装置および射出成形装置に関する。
続きを表示(約 2,400 文字)
【背景技術】
【0002】
三次元造形装置の開閉弁は、抵抗を小さくするために、射出口となるノズルよりも相対的に大きくした機能が開示されている(特許文献1参照。)。
【先行技術文献】
【特許文献】
【0003】
特開2021-754号公報
【発明の概要】
【発明が解決しようとする課題】
【0004】
しかしながら、従来の技術では、正確な流速制御は困難であり、例えば、流体の精密な流量調整は難しく、また、オンとオフとの切れが良くない場合があった。
【課題を解決するための手段】
【0005】
上記課題を解決するために一態様は、流体の流量を調節する流量調節装置であって、本体部と、前記本体部に回転可能に配置された弁部と、を備え、前記弁部は、切り欠き部と、前記弁部の外周部の回転の向きに沿い且つ前記切り欠き部とは異なる位置に設けられた溝部と、を有し、前記溝部の一方は前記切り欠き部から連通し、前記溝部の他方は前記切り欠き部に連通しない、流量調節装置である。
【0006】
上記課題を解決するために一態様は、三次元造形装置であって、材料を可塑化して溶融材料にする可塑化部と、前記可塑化部から供給された前記溶融材料をステージに向かって吐出するノズルと、を備え、前記可塑化部は、前記ノズルに供給される前記溶融材料の流量を調節する流量調節部を有し、前記流量調節部は、本体部と、前記本体部に回転可能に配置された弁部と、を備え、前記弁部は、切り欠き部と、前記弁部の外周部の回転の向きに沿い且つ前記切り欠き部とは異なる位置に設けられた溝部と、を有し、前記溝部の一方は前記切り欠き部から連通し、前記溝部の他方は前記切り欠き部に連通しない、三次元造形装置である。
【0007】
上記課題を解決するために一態様は、射出成形装置であって、材料を可塑化して溶融材料にする可塑化部と、前記可塑化部から供給された前記溶融材料を金型に射出するノズルと、前記可塑化部と前記ノズルとの間に設けられた流量調節部と、を備え、前記流量調節部は、本体部と、前記本体部に回転可能に配置された弁部と、を備え、前記弁部は、切り欠き部と、前記弁部の外周部の回転の向きに沿い且つ前記切り欠き部とは異なる位置に設けられた溝部と、を有し、前記溝部の一方は前記切り欠き部から連通し、前記溝部の他方は前記切り欠き部に連通しない、射出成形装置である。
【図面の簡単な説明】
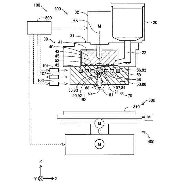
【0008】
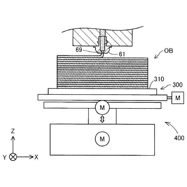
実施形態に係る三次元造形装置の概略構成を示す図である。
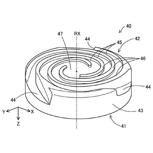
実施形態に係るフラットスクリューの溝形成面の側の構成を示す概略斜視図である。
実施形態に係るバレルのスクリュー対向面の側の構成を示す上面図である。
実施形態に係る造形処理の内容を示すフローチャートである。
実施形態に係る三次元造形物が造形される様子を模式的に示す図である。
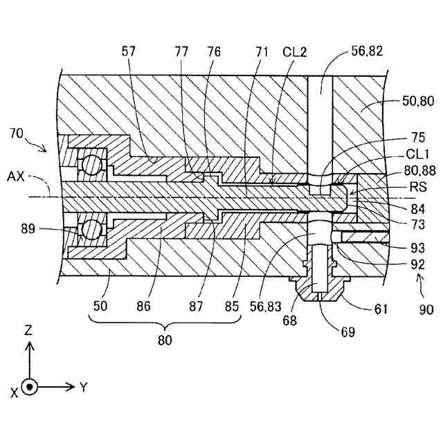
実施形態に係る流量調節部の弁ユニットの構成を示す第1の説明図である。
実施形態に係る流量調節部の弁ユニットの構成を示す第2の説明図である。
実施形態に係る流量調節部の弁ユニットの構成を示す第3の説明図である。
実施形態に係る流量調節部および吸引部の構成を示す説明図である。
実施形態に係る弁ユニットにおける弁部の構成例を示す図である。
実施形態に係る弁ユニットにおける弁部の構成例を示す図である。
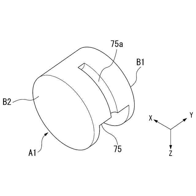
実施形態に係る弁部を分割した分割部の外観例を示す図である。
実施形態に係る弁ユニットにおける弁部の回転の第1回転状態を示す図である。
実施形態に係る弁ユニットにおける弁部の回転の第2回転状態を示す図である。
実施形態に係る弁ユニットにおける弁部の回転の第3回転状態を示す図である。
実施形態に係る弁ユニットにおける弁部の回転の第4回転状態を示す図である。
実施形態に係る弁ユニットにおける弁部の回転状態と相対流量との関係の一例を示す図である。
実施形態に係る均一断面の溝部における長さと抵抗比との関係の計算例を表す第1テーブルを示す図である。
実施形態に係る均一断面の溝部における長さと抵抗比との関係の一例を示す図である。
第1変形例に係る弁ユニットにおける第2弁部の構成例を示す図である。
第1変形例に係る第2溝部における長さと抵抗比との関係の計算例を表す第2テーブルを示す図である。
第1変形例に係る第2溝部における長さと抵抗比との関係の一例を示す図である。
第2変形例に係る弁ユニットにおける第3弁部の構成例を示す図である。
実施形態に係る射出成形装置の概略構成を示す図である。
実施形態に係る第2流量調節装置の第2弁部の構成を示す第1状態での断面図である。
実施形態に係る第2流量調節装置の第2弁部の構成を示す第1状態での他の断面図である。
実施形態に係る第2流量調節装置の第2弁部の構成を示す第2状態での断面図である。
実施形態に係る第2流量調節装置の第2弁部の構成を示す第2状態での他の断面図である。
実施形態に係る第2流量調節装置の第2弁部の構成を示す第3状態での断面図である。
実施形態に係る第2流量調節装置の第2弁部の構成を示す第3状態での他の断面図である。
【発明を実施するための形態】
【0009】
以下、実施形態について、図面を参照して説明する。
【0010】
第1実施形態について説明する。
まず、図1~図5を参照して、三次元造形装置100の概略を説明する。
(【0011】以降は省略されています)
この特許をJ-PlatPat(特許庁公式サイト)で参照する
関連特許
個人
気泡緩衝材減容装置
14日前
東レ株式会社
吹出しノズル
10か月前
豊田鉄工株式会社
金型
2か月前
CKD株式会社
型用台車
9か月前
シーメット株式会社
光造形装置
9か月前
東レ株式会社
フィルムの製造方法
3か月前
東レ株式会社
フィルムの製造方法
3か月前
東レ株式会社
フィルムの製造方法
6か月前
グンゼ株式会社
ピン
10か月前
日機装株式会社
加圧システム
5か月前
株式会社FTS
ロッド
8か月前
株式会社カワタ
計量混合装置
4か月前
東レ株式会社
フィルムの製造方法。
2か月前
個人
樹脂可塑化方法及び装置
8か月前
株式会社漆原
シートの成形方法
4か月前
NOK株式会社
樹脂ゴム複合体
1か月前
株式会社FTS
成形装置
9か月前
トヨタ自動車株式会社
射出装置
7か月前
東レ株式会社
樹脂フィルムの製造方法
4か月前
株式会社シロハチ
真空チャンバ
11か月前
株式会社コスメック
射出成形装置
4か月前
株式会社不二越
射出成形機
6か月前
株式会社不二越
射出成形機
4か月前
株式会社FTS
セパレータ
8か月前
株式会社不二越
射出成形機
6か月前
株式会社不二越
射出成形機
1か月前
東レ株式会社
炭素繊維シートの製造方法
5か月前
株式会社リコー
画像形成システム
10か月前
株式会社不二越
射出成形機
6か月前
株式会社神戸製鋼所
混練機
7か月前
日産自動車株式会社
成形装置
3か月前
トヨタ自動車株式会社
3Dプリンタ
10か月前
株式会社バルカー
シートガスケット
9日前
コイト電工株式会社
フレーム成形品
29日前
東レ株式会社
溶融押出装置および押出方法
9か月前
日東工業株式会社
インサート成形機
10か月前
続きを見る
他の特許を見る