TOP
|
特許
|
意匠
|
商標
特許ウォッチ
Twitter
他の特許を見る
10個以上の画像は省略されています。
公開番号
2025144908
公報種別
公開特許公報(A)
公開日
2025-10-03
出願番号
2024044825
出願日
2024-03-21
発明の名称
液体吐出ヘッド
出願人
ブラザー工業株式会社
代理人
弁理士法人ATEN
主分類
B41J
2/14 20060101AFI20250926BHJP(印刷;線画機;タイプライター;スタンプ)
要約
【課題】ノズルの高密度配置と第2方向の大型化抑制とを共に実現する。
【解決手段】ヘッド1は、共通流路12と、複数の個別流路13とを含む。個別流路13Aは上下方向D3に延びる連通流路17Aを含む。個別流路13Bは上下方向に延びる上下流路17B1を有する連通流路17Bを含む。複数の連通流路17A及び上下流路17B1は、第2方向D2において共通流路12の一方に配置され、且つ、第1方向D1に1列に並んでいる。1列に並ぶ複数の連通流路17A及び上下流路17B1にそれぞれ連通する複数のノズル15は、共通流路12よりも下方において、第1方向D1に配列され、第2方向D2に並ぶ複数のノズル列15RA,15RBを構成する。複数のノズル列15RA,15RBのうち、ノズル列15RBが、共通流路12と上下方向D3に重なる。
【選択図】図3
特許請求の範囲
【請求項1】
上下方向に直交する第1方向に延びる共通流路と、
ノズル、圧力室及び前記ノズルと前記圧力室とを連通させる連通流路をそれぞれ含む複数の個別流路であって前記共通流路とそれぞれ連通する複数の個別流路と、を備え、
前記圧力室は前記ノズル及び前記共通流路よりも上方に配置され、
複数の前記連通流路は、それぞれ、上下方向に延びる上下流路を含み、
複数の前記上下流路は、上下方向及び前記第1方向と直交する第2方向において前記共通流路の一方に配置され、且つ、前記第1方向に1列に並んでおり、
前記1列に並ぶ前記複数の上下流路にそれぞれ連通する複数の前記ノズルは、前記共通流路よりも下方において、前記第1方向に配列され、前記第2方向に並ぶ複数のノズル列を構成し、
前記複数のノズル列のうち、少なくとも1つのノズル列が、前記共通流路と上下方向に重なることを特徴とする液体吐出ヘッド。
続きを表示(約 970 文字)
【請求項2】
前記複数のノズル列のうち、少なくとも1つの別のノズル列が、前記第2方向において前記共通流路の一方の外側に配置されていることを特徴とする請求項1に記載の液体吐出ヘッド。
【請求項3】
前記複数のノズル列のうち第1ノズル列に含まれる第1ノズルと連通する第1連通流路と、前記複数のノズル列のうち前記第1ノズル列とは異なる第2ノズル列に含まれる第2ノズルと連通する第2連通流路とは、流路抵抗が互いに同じであることを特徴とする請求項1に記載の液体吐出ヘッド。
【請求項4】
前記複数のノズル列に含まれるすべての前記ノズルが、前記第1方向にずれて配置されていることを特徴とする請求項1に記載の液体吐出ヘッド。
【請求項5】
前記共通流路と上下方向に重なる前記ノズル列に含まれる前記ノズルと連通する前記連通流路は、前記上下流路の下端から上下方向と直交する第3方向に延びる部分を有することを特徴とする請求項4に記載の液体吐出ヘッド。
【請求項6】
前記第3方向は、前記第2方向であることを特徴とする請求項5に記載の液体吐出ヘッド。
【請求項7】
前記第3方向は、前記第1方向及び前記第2方向と交差する方向であることを特徴とする請求項5に記載の液体吐出ヘッド。
【請求項8】
前記連通流路は、前記複数のノズル列のうち第1ノズル列に含まれる第1ノズルと、前記複数のノズル列のうち前記第1ノズル列とは異なる第2ノズル列に含まれる第2ノズルとに連通していることを特徴とする請求項1に記載の液体吐出ヘッド。
【請求項9】
前記第1方向に延び、前記共通流路と前記第2方向に並ぶ別の共通流路をさらに備え、
前記第1ノズル列が前記共通流路と上下方向に重なり、
前記第2ノズル列が前記別の共通流路と上下方向に重なることを特徴とする請求項8に記載の液体吐出ヘッド。
【請求項10】
前記第1ノズル列が前記共通流路と上下方向に重なり、
前記第2ノズル列が前記第2方向において前記共通流路の一方の外側に配置されていることを特徴とする請求項8に記載の液体吐出ヘッド。
(【請求項11】以降は省略されています)
発明の詳細な説明
【技術分野】
【0001】
本発明は、共通流路と複数の個別流路とを備えた液体吐出ヘッドに関する。
続きを表示(約 1,900 文字)
【背景技術】
【0002】
特許文献1には、共通流路と、ノズル、加圧室(圧力室)及びノズルと加圧室とを連通させる部分流路(連通流路、上下流路)をそれぞれ含み、共通流路にそれぞれ連通する複数の個別流路とを備えたヘッドについて記載されている。このヘッドにおいて、複数のノズルは、共通流路が延びる方向に沿って配列された複数のノズル列を構成する。複数のノズル列は、共通流路の延びる方向と直交する方向において、共通流路に対して片側に2列ずつ配置されている。これにより、ヘッドには複数のノズルが高密度に配置される。
【先行技術文献】
【特許文献】
【0003】
特開2020-138432号公報
【発明の概要】
【発明が解決しようとする課題】
【0004】
上記特許文献1に記載のヘッドにおいて、各ノズル上には、上下方向に延びる部分流路(上下流路)が配置されている。このため、共通流路に対して片側に2列で配置された部分流路列が存在し、ヘッドが共通流路の幅方向(第2方向)において大きくなる。
【0005】
そこで、本発明の目的は、ノズルの高密度配置と第2方向の大型化抑制とを共に実現することが可能な液体吐出ヘッドを提供することである。
【課題を解決するための手段】
【0006】
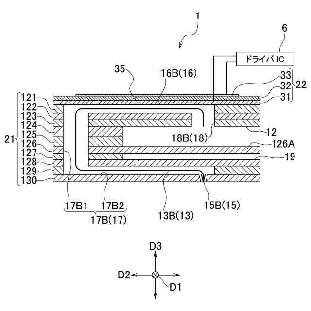
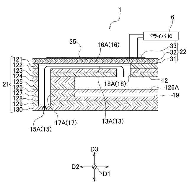
本発明の液体吐出ヘッドは、上下方向に直交する第1方向に延びる共通流路と、ノズル、圧力室及び前記ノズルと前記圧力室とを連通させる連通流路をそれぞれ含む複数の個別流路であって前記共通流路とそれぞれ連通する複数の個別流路と、を備え、前記圧力室は前記ノズル及び前記共通流路よりも上方に配置され、複数の前記連通流路は、それぞれ、上下方向に延びる上下流路を含み、複数の前記上下流路は、上下方向及び前記第1方向と直交する第2方向において前記共通流路の一方に配置され、且つ、前記第1方向に1列に並んでおり、前記1列に並ぶ前記複数の上下流路にそれぞれ連通する複数の前記ノズルは、前記共通流路よりも下方において、前記第1方向に配列され、前記第2方向に並ぶ複数のノズル列を構成し、前記複数のノズル列のうち、少なくとも1つのノズル列が、前記共通流路と上下方向に重なる。
【発明の効果】
【0007】
本発明の液体吐出ヘッドによると、共通流路に対して片側(第2方向の一方)に配置された複数の上下流路が第1方向に1列に並び、かつ、当該上下流路に連通する複数のノズルが複数のノズル列を構成している。しかも複数のノズル列のうち、少なくとも1つのノズル列が共通流路よりも下方の領域(共通流路と上下方向に重なる領域)を有効利用するように配置される。このため、ノズルの高密度配置と第2方向の大型化抑制とを共に実現することができる。
【図面の簡単な説明】
【0008】
本発明の第1実施形態に係るヘッドを含むプリンタの平面図である。
プリンタの電気的構成を示すブロック図である。
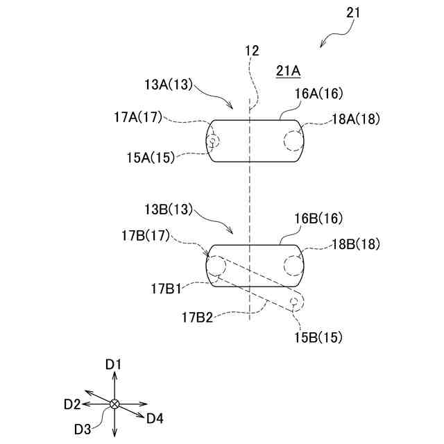
ヘッドの平面図である。
図3のIV-IV線に沿ったヘッドの断面図である。
図3のV-V線に沿ったヘッドの断面図である。
本発明の第2実施形態に係るヘッドの流路部材の要部平面図である。
本発明の第3実施形態に係るヘッドの流路部材の要部断面図である。
本発明の第4実施形態に係るヘッドの流路部材の要部断面図である。
本発明の第5実施形態に係るヘッドの流路部材の要部断面図である。
【発明を実施するための形態】
【0009】
<第1実施形態>
先ず、図1を参照し、本発明の第1実施形態に係るヘッド1を備えたプリンタ100の全体構成について説明する。なお、以下の説明において、第1方向D1及び第2方向D2は、水平方向であり、上下方向D3に直交する。本実施形態における上下方向D3は鉛直方向に沿っているが、鉛直方向及び水平方向に対して交差する上下方向であってもよい。第1方向D1は第2方向D2と直交する。
【0010】
<プリンタの全体構成>
プリンタ100は、筐体100Aと、ヘッドユニット1Xと、プラテン3と、搬送機構4と、制御部5とを備えている。ヘッドユニット1X、プラテン3、搬送機構4及び制御部5は、筐体100A内に配置されている。また、プリンタ100は、さらに、筐体100Aの外面に配置されたボタン(不図示)を備えている。
(【0011】以降は省略されています)
この特許をJ-PlatPat(特許庁公式サイト)で参照する
関連特許
個人
箔熱転写装置
29日前
シヤチハタ株式会社
印判
4か月前
東レ株式会社
凸版印刷版原版
10か月前
シヤチハタ株式会社
反転式印判
9か月前
三菱製紙株式会社
感熱記録材料
10か月前
キヤノン株式会社
記録装置
22日前
独立行政法人 国立印刷局
印刷物
7か月前
三光株式会社
感熱記録材料
6か月前
株式会社リコー
液体吐出装置
5か月前
株式会社リコー
画像形成装置
10日前
独立行政法人 国立印刷局
記録媒体
8か月前
株式会社リコー
画像形成装置
29日前
株式会社リコー
液体吐出装置
8か月前
独立行政法人 国立印刷局
貼付機構
1か月前
株式会社リコー
印刷システム
10日前
株式会社リコー
液体吐出装置
5か月前
独立行政法人 国立印刷局
貼付装置
1か月前
日本製紙株式会社
感熱記録体
7か月前
株式会社リコー
画像形成装置
6日前
株式会社リコー
液体吐出装置
1か月前
株式会社リコー
液体吐出装置
4か月前
株式会社リコー
液体吐出装置
7か月前
株式会社リコー
液体吐出装置
7か月前
株式会社リコー
液体吐出装置
4か月前
キヤノン株式会社
画像形成装置
10か月前
ブラザー工業株式会社
プリンタ
6か月前
キヤノン株式会社
画像形成装置
7か月前
ブラザー工業株式会社
プリンタ
4か月前
キヤノン株式会社
画像形成装置
6か月前
キヤノン株式会社
印刷システム
7か月前
独立行政法人 国立印刷局
潜像形成体
6日前
キヤノン株式会社
情報処理装置
9か月前
独立行政法人 国立印刷局
潜像印刷物
1か月前
キヤノン株式会社
画像処理装置
4か月前
キヤノン株式会社
画像形成装置
8か月前
キヤノン株式会社
画像形成装置
7か月前
続きを見る
他の特許を見る