TOP
|
特許
|
意匠
|
商標
特許ウォッチ
Twitter
他の特許を見る
10個以上の画像は省略されています。
公開番号
2025144767
公報種別
公開特許公報(A)
公開日
2025-10-03
出願番号
2024044607
出願日
2024-03-21
発明の名称
垂直多関節ロボット
出願人
セイコーエプソン株式会社
代理人
個人
,
個人
,
個人
主分類
B25J
9/06 20060101AFI20250926BHJP(手工具;可搬型動力工具;手工具用の柄;作業場設備;マニプレータ)
要約
【課題】ロボットアームの慣性モーメントを低減することのできる垂直多関節ロボットを提供する。
【解決手段】垂直多関節ロボットは、基台と、前記基台に対して垂直軸まわりに回動する第1アームと、前記第1アームに連結され、前記第1アームに対して第1水平軸まわりに回動する第2アームと、前記第2アームに連結され、前記第2アームに対して第2水平軸まわりに回動する第3アームと、前記第1アームに対して前記第2アームを前記第1水平軸まわりに回動させる第1モーターと、前記第2アームに対して前記第3アームを前記第2水平軸まわりに回動させる第2モーターと、を有し、前記第1モーターおよび前記第2モーターは、それぞれ、前記第1アームに配置されている。
【選択図】図3
特許請求の範囲
【請求項1】
基台と、
前記基台に対して垂直軸まわりに回動する第1アームと、
前記第1アームに連結され、前記第1アームに対して第1水平軸まわりに回動する第2アームと、
前記第2アームに連結され、前記第2アームに対して第2水平軸まわりに回動する第3アームと、
前記第1アームに対して前記第2アームを前記第1水平軸まわりに回動させる第1モーターと、
前記第2アームに対して前記第3アームを前記第2水平軸まわりに回動させる第2モーターと、を有し、
前記第1モーターおよび前記第2モーターは、それぞれ、前記第1アームに配置されていることを特徴とする垂直多関節ロボット。
続きを表示(約 1,300 文字)
【請求項2】
前記第1アームと前記第2アームとを連結する第1減速機と、
前記第1モーターと前記第1減速機とを接続し、前記第1モーターの動力を前記第1減速機に伝達する第1動力伝達機構と、を有する請求項1に記載の垂直多関節ロボット。
【請求項3】
前記第1動力伝達機構は、
前記第1モーターの出力軸に配置されている第1モーター側プーリーと、
前記第1減速機の入力軸に配置されている第1減速機側プーリーと、
前記第1モーター側プーリーと前記第1減速機側プーリーとに回し掛けられている第1ベルトと、を有する請求項2に記載の垂直多関節ロボット。
【請求項4】
前記第2アームと前記第3アームとを連結する第2減速機と、
前記第2モーターと前記第2減速機とを接続し、前記第2モーターの動力を前記第2減速機に伝達する第2動力伝達機構と、を有する請求項3に記載の垂直多関節ロボット。
【請求項5】
前記第2動力伝達機構は、
前記第1アーム内に配置されている第1伝達機構と、前記第2アーム内に配置されている第2伝達機構と、を有し、
前記第1伝達機構は、
前記第2モーターの出力軸に配置されている第2モーター側プーリーと、
前記第1水平軸まわりに回転する第1中間プーリーと、
前記第2モーター側プーリーと前記第1中間プーリーとに回し掛けられている第2ベルトと、を有し、
前記第2伝達機構は、
前記第1中間プーリーと共に前記第1水平軸まわりに回転する第2中間プーリーと、
前記第2減速機の入力軸に配置されている第2減速機側プーリーと、
前記第2中間プーリーと前記第2減速機側プーリーとに回し掛けられている第3ベルトと、を有する請求項4に記載の垂直多関節ロボット。
【請求項6】
前記第1減速機には、前記第1水平軸に沿い、前記第1アーム内と前記第2アーム内とを連通する貫通孔が設けられ、
前記第1中間プーリーと前記第2中間プーリーとは、前記貫通孔に挿通されているシャフトを介して連結されている請求項5に記載の垂直多関節ロボット。
【請求項7】
前記シャフトは、中空シャフトであり、
前記シャフト内を介して前記第1アームと前記第2アームとに配線が引き回されている請求項6に記載の垂直多関節ロボット。
【請求項8】
前記第2アームは、前記第1水平軸に沿う方向の片側から前記第1アームに連結されている請求項1に記載の垂直多関節ロボット。
【請求項9】
前記第2アームは、前記第1水平軸に沿う方向の両側から前記第1アームに連結されている請求項1に記載の垂直多関節ロボット。
【請求項10】
前記第1モーターおよび前記第2モーターは、前記第1水平軸に直交する水平方向からの平面視で、互いに重なっている請求項1に記載の垂直多関節ロボット。
(【請求項11】以降は省略されています)
発明の詳細な説明
【技術分野】
【0001】
本発明は、垂直多関節ロボットに関する。
続きを表示(約 1,900 文字)
【背景技術】
【0002】
特許文献1に記載されたロボットは、基台と、基台に連結されたロボットアームと、を備えるロボット本体を有する。ロボットアームは、基台に回動可能に連結された第1アームと、第1アームに回動可能に連結された第2アームと、第2アームに回動可能に連結された第3アームと、第3アームに回動可能に連結された第4アームと、第4アームに回動可能に連結された第5アームと、第5アームに回動可能に連結された第6アームと、を有する。
【0003】
また、特許文献1に記載されたロボットは、基台に対して第1アームを回動させる第1モーターと、第1アームに対して第2アームを回動させる第2モーターと、第2アームに対して第3アームを回動させる第3モーターと、第3アームに対して第4アームを回動させる第4モーターと、第4アームに対して第5アームを回動させる第5モーターと、第5アームに対して第6アームを回動させる第6モーターと、を有する。
【先行技術文献】
【特許文献】
【0004】
特開2019-063933号公報
【発明の概要】
【発明が解決しようとする課題】
【0005】
しかしながら、特許文献1に記載されたロボットでは、重量物である第2モーターおよび第3モーターが第2アームの長手方向中央部に配置されている。そのため、ロボットアームの先端重量の低減が図り難く、ロボットアームの慣性モーメントが大きくなり易いという問題がある。
【課題を解決するための手段】
【0006】
本発明の垂直多関節ロボットは、基台と、
前記基台に対して垂直軸まわりに回動する第1アームと、
前記第1アームに連結され、前記第1アームに対して第1水平軸まわりに回動する第2アームと、
前記第2アームに連結され、前記第2アームに対して第2水平軸まわりに回動する第3アームと、
前記第1アームに対して前記第2アームを前記第1水平軸まわりに回動させる第1モーターと、
前記第2アームに対して前記第3アームを前記第2水平軸まわりに回動させる第2モーターと、を有し、
前記第1モーターおよび前記第2モーターは、それぞれ、前記第1アームに配置されている。
【図面の簡単な説明】
【0007】
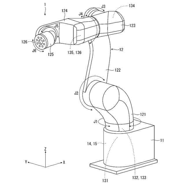
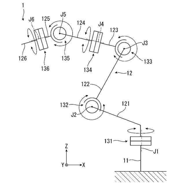
第1実施形態に係る垂直多関節ロボットを示す斜視図である。
図1に示す垂直多関節ロボットの関節を示す概略図である。
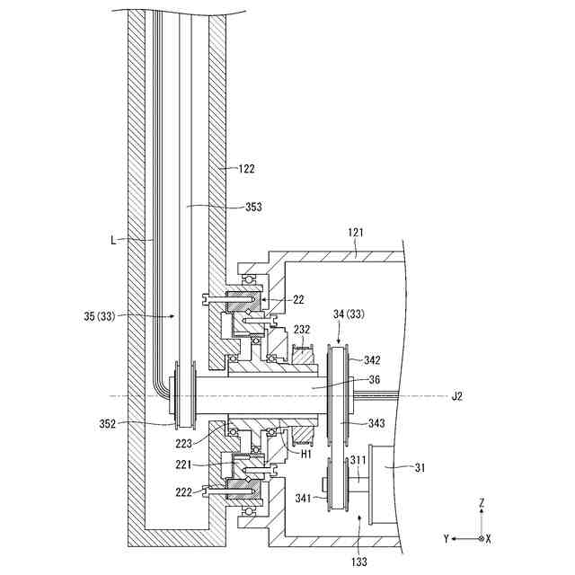
第1動力伝達機構を示す断面図である。
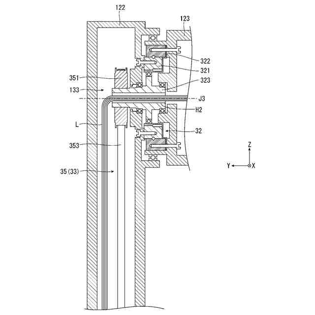
第2動力伝達機構を示す断面図である。
第2動力伝達機構を示す断面図である。
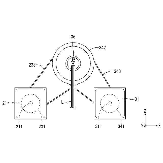
第1モーターおよび第2モーターの配置を示す側面図である。
第2実施形態に係る垂直多関節ロボットを示す断面図である。
第1モーターおよび第2モーターの配置を示す側面図である。
第3実施形態に係る垂直多関節ロボットを示す断面図である。
第4実施形態に係る垂直多関節ロボットを示す断面図である。
【発明を実施するための形態】
【0008】
以下、本発明の垂直多関節ロボットを添付図面に示す実施形態に基づいて詳細に説明する。
【0009】
なお、説明の便宜上、各図に、互いに直交する3軸をX軸、Y軸およびZ軸として図示している。また、以下では、説明の便宜上、X軸と平行な方向を「X軸方向」とも言い、Y軸と平行な方向を「Y軸方向」とも言い、Z軸と平行な方向を「Z軸方向」とも言う。また、X軸とY軸とで規定されるX-Y平面は、水平面に沿い、Z軸方向は、鉛直方向に沿っている。そのため、以下では、X-Y平面に沿う方向を水平方向とも言い、Z軸の矢印側を「上」、反対側を「下」とも言う。また、本明細書において、「水平」とは、完全に水平な場合のみならず、技術常識的に水平と同視できる程度、例えば、水平に対して±5°以内で傾斜している場合も含む。同様に、「鉛直」とは、完全に鉛直な場合のみならず、技術常識的に鉛直と同視できる程度、例えば、鉛直に対して±5°以内で傾斜している場合も含む。
【0010】
<第1実施形態>
図1は、第1実施形態に係る垂直多関節ロボットを示す斜視図である。図2は、図1に示す垂直多関節ロボットの関節を示す概略図である。図3は、第1動力伝達機構を示す断面図である。図4および図5は、それぞれ、第2動力伝達機構を示す断面図である。図6は、第1モーターおよび第2モーターの配置を示す側面図である。
(【0011】以降は省略されています)
特許ウォッチbot のツイートを見る
この特許をJ-PlatPat(特許庁公式サイト)で参照する
関連特許
個人
固定補助具
1か月前
個人
折りたたみ工具
29日前
川崎重工業株式会社
ロボット
6日前
株式会社三協システム
製函機
27日前
株式会社不二越
ロボット
5日前
株式会社竹中工務店
補助セット
5日前
株式会社三協システム
移載装置
26日前
CKD株式会社
把持装置
28日前
株式会社不二越
ロボットシステム
1か月前
株式会社不二越
ロボット操作装置
1か月前
太陽パーツ株式会社
アシストスーツ
29日前
SMC株式会社
着脱装置
27日前
日本精工株式会社
締結用工具
1か月前
株式会社ミクロブ
把持装置
28日前
トヨタ自動車株式会社
ロボット
今日
株式会社不二越
移動ロボットシステム
8日前
トヨタ自動車株式会社
カプラ接続治具
1か月前
ARMA株式会社
ジョイントフレーム
1か月前
株式会社不二越
ロボットシステム
29日前
株式会社不二越
ロボットシステム
26日前
株式会社不二越
エッジ仕上げ装置
18日前
本田技研工業株式会社
装置
11日前
積水ハウス株式会社
フィルム除去具
2か月前
トヨタ自動車株式会社
歩行ロボット
1か月前
株式会社不二越
垂直多関節ロボット
19日前
トヨタ自動車株式会社
軌道生成装置
今日
アネックスツール株式会社
ドライバービット
4日前
ダイハツ工業株式会社
移載治具
1か月前
シンフォニアテクノロジー株式会社
搬送装置
8日前
大和ハウス工業株式会社
ねじ回転工具
27日前
ライオン株式会社
移載システム
20日前
ワールド技研株式会社
ロボットセル装置
5日前
株式会社マキタ
回転打撃工具
今日
株式会社不二越
ロボットシステム
1か月前
倉敷紡績株式会社
ハンドおよびコネクタ接続方法
18日前
山九株式会社
レンチ保持治具
今日
続きを見る
他の特許を見る