TOP
|
特許
|
意匠
|
商標
特許ウォッチ
Twitter
他の特許を見る
10個以上の画像は省略されています。
公開番号
2025144498
公報種別
公開特許公報(A)
公開日
2025-10-02
出願番号
2024174330
出願日
2024-10-03
発明の名称
液体吐出装置、液体回収システム及び液体回収容器
出願人
セイコーエプソン株式会社
代理人
個人
,
個人
主分類
B41J
2/175 20060101AFI20250925BHJP(印刷;線画機;タイプライター;スタンプ)
要約
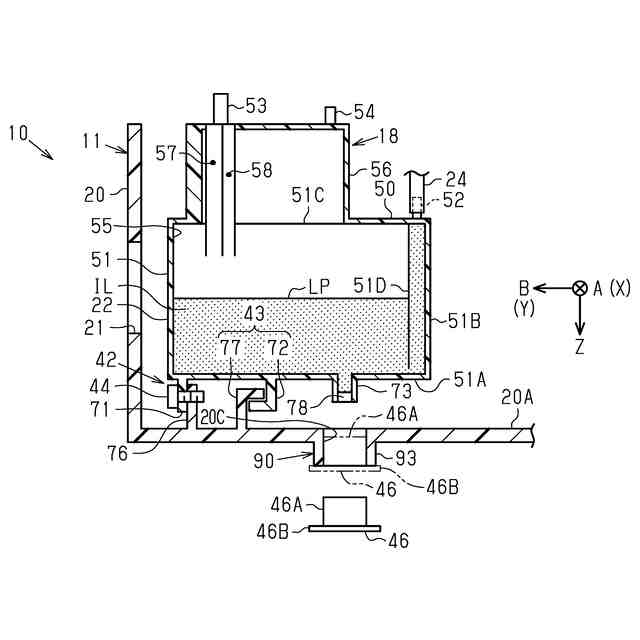
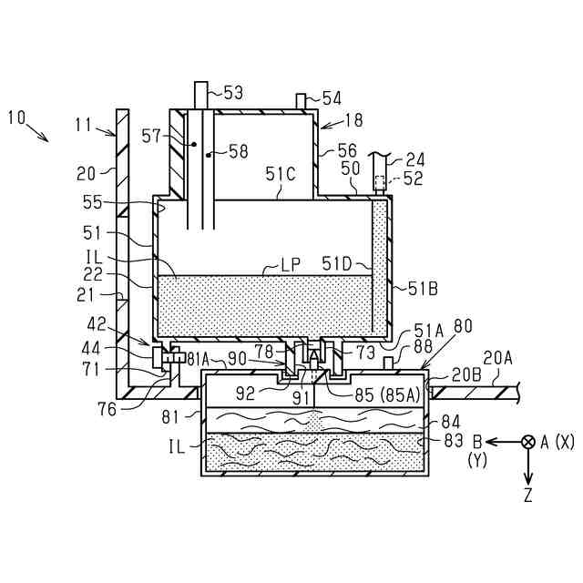
【課題】液体タンクを液体吐出装置の筐体に固定したまま、液体タンク内に残留する液体を回収できる液体吐出装置、液体回収システム及び液体回収容器を提供する。
【解決手段】液体回収システム10は、注入口部53を有する液体タンク18を備える液体吐出装置11と、液体回収容器80とを備える。液体吐出装置11は、液体タンク18からの液体を吐出する液体吐出部と、液体吐出部及び液体タンク18を収容する筐体20とを備える。液体タンク18は、液体を排出可能な排出口部73を有する。液体回収容器80は、排出口部73と接続可能な回収口部85を有する。筐体20は、液体タンク18の排出口部73を筐体20の外側に露出可能な開口部20Bを有する。液体回収システム10は、液体回収容器80及び液体タンク18のうちの少なくとも一方を排出口部73と回収口部85とが開口部20Bを介して接続可能な位置に位置決めする位置決め部90を有する。
【選択図】図7
特許請求の範囲
【請求項1】
液体を注入可能な注入口部を有する液体タンクと、
前記液体タンクから供給された液体を吐出する液体吐出部と、前記液体吐出部及び前記液体タンクを収容する筐体と、を備え、
前記液体タンクは、液体を外部へ排出可能な排出口部を有し、
前記筐体は、前記液体タンクの前記排出口部を前記筐体の外側に露出可能な開口部を有することを特徴とする液体吐出装置。
続きを表示(約 1,600 文字)
【請求項2】
請求項1に記載の液体吐出装置において、
前記開口部は前記筐体の底部に形成されていることを特徴とする液体吐出装置。
【請求項3】
請求項2に記載の液体吐出装置において、
前記開口部を覆うカバーを有することを特徴とする液体吐出装置。
【請求項4】
請求項1に記載の液体吐出装置において、
液体回収容器の回収口部が前記開口部を介して前記排出口部に接続される構成であり、
前記回収口部を前記排出口部に接続可能な位置に前記液体回収容器を位置決めする装置側位置決め部を有することを特徴とする液体吐出装置。
【請求項5】
液体を注入可能な注入口部を有する液体タンクを有する液体吐出装置と、液体回収容器とを備える液体回収システムであって、
前記液体吐出装置は、前記液体タンクから供給された液体を吐出する液体吐出部と、前記液体吐出部及び前記液体タンクを収容する筐体と、を備え、
前記液体タンクは、液体を外部へ排出可能な排出口部を有し、
前記液体回収容器は、前記排出口部と接続可能な回収口部を有し、
前記筐体は、前記液体タンクの前記排出口部を前記筐体の外側に露出可能な開口部を有し、
前記液体回収容器及び前記液体タンクのうちの少なくとも一方を前記排出口部と前記回収口部とが前記開口部を介して接続可能な位置に位置決めする位置決め部を有することを特徴とする液体回収システム。
【請求項6】
請求項5に記載の液体回収システムにおいて、
前記位置決め部は、
前記筐体及び前記液体タンクのうちの少なくとも一方が有する案内部と、
前記液体回収容器に設けられ、前記案内部に案内される被案内部と、を含み、
前記被案内部が前記案内部に案内されることによって前記液体回収容器が前記液体タンクに対して位置決めされることにより前記排出口部と前記回収口部とが前記開口部を介して接続され、当該接続を通じて前記液体タンク内に残留した液体が前記液体回収容器に移動することを特徴とする液体回収システム。
【請求項7】
請求項5に記載の液体回収システムにおいて、
前記液体タンクを複数有し、
前記液体回収容器は、複数の前記液体タンクから回収された液体を共通に収容可能な1つの回収室を有するか、あるいは複数の前記液体タンクから回収された液体を個別に収容可能な複数の回収室を有することを特徴とする液体回収システム。
【請求項8】
請求項5に記載の液体回収システムにおいて、
前記開口部は、前記液体タンクの液量を視認可能に前記筐体に開口する視認窓であることを特徴とする液体回収システム。
【請求項9】
請求項8に記載の液体回収システムにおいて、
前記液体タンクを、前記排出口部が前記視認窓から露出しない第1位置から、前記排出口部を前記視認窓から露出可能な第2位置へ移動させる可動機構を備え、
前記位置決め部は、前記第2位置にある前記液体タンクと、前記液体回収容器とを位置決めすることを特徴とする液体回収システム。
【請求項10】
請求項5に記載の液体回収システムにおいて、
前記液体タンク内の前記排出口部と対応する位置の液体の深さがより深くなる向きに傾斜した傾斜姿勢に前記液体吐出装置又は前記液体タンクを傾けることが可能に構成される姿勢変更部を備え、
前記液体吐出装置又は前記液体タンクが前記傾斜姿勢にある状態の下で、前記排出口部と前記回収口部との接続を通じて前記液体タンク内の液体が前記液体回収容器へ移動することを特徴とする液体回収システム。
(【請求項11】以降は省略されています)
発明の詳細な説明
【技術分野】
【0001】
本発明は、液体吐出部に供給すべき液体を収容する液体タンクが筐体に固定された液体吐出装置、液体回収システム及び液体回収容器に関する。
続きを表示(約 2,000 文字)
【背景技術】
【0002】
例えば、特許文献1には、液体吐出装置の一例として、インク等の液体を用紙等の媒体に吐出する液体吐出部を備えるインクジェット式印刷装置が開示されている。
この種の液体吐出装置は、液体吐出部に供給すべき液体を収容する液体収容容器を備える。液体収容容器としては、交換型のカートリッジ(例えばインクカートリッジ等)以外に、ユーザーが液体を補充可能な注入口部を有する液体補充型の液体タンク(例えばインクタンク等)が知られている。
【0003】
また、液体吐出装置には、液体タンクが筐体にねじ等で固定された状態で組み付けられているものがある。液体タンク内の液体が減ったり無くなったりすると、ユーザーは、液体タンクの注入口部に液体ボトルを接続するなどして、液体タンクに液体を補充する。
【0004】
ところで、液体吐出装置を廃棄する場合、カートリッジはリサイクルのため回収される場合が多い。仮にカートリッジが装着されたまま液体吐出装置が廃棄されても、カートリッジは注入口部を有しないので、カートリッジから液体が漏出する心配は少ない。
【0005】
これに対して、液体タンクは筐体に固定されているので、液体タンクが筐体から取り外されることなく液体吐出装置が廃棄される場合が多い。しかし、液体収容容器内にインク等の液体が残留していると、廃棄作業において液体吐出装置が傾くなどしたときに、キャップが緩んでいたり外れたりしている注入口部から液体タンク内の液体が漏出する可能性がある。漏出した液体は処理されることなく、環境汚染の原因になる場合がある。そのため、液体タンクを備える体吐出装置を廃棄する場合、ユーザーは、液体タンク内の液体を回収した後、液体吐出装置を廃棄することが好ましい。
【先行技術文献】
【特許文献】
【0006】
特開2018-69717号公報
【発明の概要】
【発明が解決しようとする課題】
【0007】
しかし、液体補充型の液体タンクを備える液体吐出装置においては、液体タンクが筐体から取り外しにくい構造になっている。具体的には、液体タンクは、液体吐出装置の筐体を構成する板金等にねじ等の固定部により固定されている。これにより、例えば輸送時の外部衝撃に対しても影響されないよう強く固定されている。そのため、液体タンクが固定されたまま液体吐出装置は廃棄される場合が多い。従来における液体補充型の液体タンクにおいては、液体吐出装置を廃棄する際に、液体タンク内に残留する液体を排出又は回収する構成については配慮されていない。
【0008】
例えば、液体タンク内の液体を排出又は回収するためには、液体タンクの供給口部とチューブ等の供給流路との接続を切り離して供給口部から液体タンク内の液体を抜き取ったり、液体を補充するための注入口部から液体を抜き取ったりする必要がある。これらの供給口部や注入口部は、液体を抜き取ることを考慮した構造になっていないため、抜取り作業中に液体が漏出したり、インク等の液体が手指に付着して汚れたりする可能性がある。具体的には、液体タンクから液体吐出部へインク等の液体を供給する供給口部は、チューブが圧入されており、簡単に抜き差しすることができない構造となっているため、チューブを供給口部から外すと液体タンク内の液体が供給口部から外に漏出する恐れがある。よって、液体吐出装置を廃棄する際に、液体タンク内に残留する液体を排出又は回収しやすいことが要望されている。
【課題を解決するための手段】
【0009】
上記課題を解決する液体吐出装置は、液体を注入可能な注入口部を有する液体タンクと、前記液体タンクから供給された液体を吐出する液体吐出部と、前記液体吐出部及び前記液体タンクを収容する筐体と、を備え、前記液体タンクは、液体を外部へ排出可能な排出口部を有し、前記筐体は、前記液体タンクの前記排出口部を前記筐体の外側に露出可能な開口部を有する。
【0010】
上記課題を解決する液体回収システムは、液体を注入可能な注入口部を有する液体タンクを有する液体吐出装置と、液体回収容器とを備える液体回収システムであって、前記液体吐出装置は、前記液体タンクから供給された液体を吐出する液体吐出部と、前記液体吐出部及び前記液体タンクを収容する筐体と、を備え、前記液体タンクは、液体を外部へ排出可能な排出口部を有し、前記液体回収容器は、前記排出口部と接続可能な回収口部を有し、前記筐体は、前記液体タンクの前記排出口部を前記筐体の外側に露出可能な開口部を有し、前記液体回収容器及び前記液体タンクのうちの少なくとも一方を前記排出口部と前記回収口部とが前記開口部を介して接続可能な位置に位置決めする位置決め部を有する。
(【0011】以降は省略されています)
この特許をJ-PlatPat(特許庁公式サイト)で参照する
関連特許
個人
箔熱転写装置
26日前
シヤチハタ株式会社
印判
4か月前
三光株式会社
感熱記録材料
6か月前
キヤノン株式会社
記録装置
19日前
独立行政法人 国立印刷局
印刷物
6か月前
株式会社リコー
画像形成装置
26日前
株式会社リコー
液体吐出装置
3か月前
株式会社リコー
印刷システム
7日前
独立行政法人 国立印刷局
貼付装置
1か月前
日本製紙株式会社
感熱記録体
7か月前
株式会社リコー
画像形成装置
7日前
株式会社リコー
液体吐出装置
7か月前
株式会社リコー
液体吐出装置
5か月前
独立行政法人 国立印刷局
貼付機構
1か月前
株式会社リコー
液体吐出装置
7か月前
株式会社リコー
画像形成装置
3日前
株式会社リコー
液体吐出装置
8か月前
株式会社リコー
液体吐出装置
1か月前
株式会社リコー
液体吐出装置
4か月前
株式会社リコー
液体吐出装置
5か月前
ブラザー工業株式会社
プリンタ
5か月前
ブラザー工業株式会社
プリンタ
3か月前
キヤノン株式会社
画像形成装置
5か月前
キヤノン株式会社
画像形成装置
7か月前
理想科学工業株式会社
印刷装置
11日前
キヤノン株式会社
画像形成装置
3か月前
キヤノン株式会社
画像処理装置
4か月前
キヤノン株式会社
画像形成装置
5か月前
キヤノン株式会社
画像記録装置
19日前
キヤノン株式会社
画像形成装置
8か月前
ブラザー工業株式会社
プリンタ
1か月前
独立行政法人 国立印刷局
潜像印刷物
1か月前
キヤノン株式会社
画像形成装置
8か月前
キヤノン株式会社
画像形成装置
1か月前
ブラザー工業株式会社
プリンタ
7か月前
ブラザー工業株式会社
液体吐出ヘッド
19日前
続きを見る
他の特許を見る