TOP
|
特許
|
意匠
|
商標
特許ウォッチ
Twitter
他の特許を見る
10個以上の画像は省略されています。
公開番号
2025144478
公報種別
公開特許公報(A)
公開日
2025-10-02
出願番号
2024061774
出願日
2024-03-19
発明の名称
木材の連結構造
出願人
株式会社 川上製作所
代理人
主分類
B27M
3/00 20060101AFI20250925BHJP(木材または類似の材料の加工または保存;釘打ち機またはステープル打ち機一般)
要約
【課題】簡易な構造であっても、一対の木材の端面同士を密接させることにより、連結強度を高くすることができる木材の連結構造を提供する。
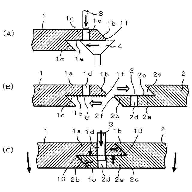
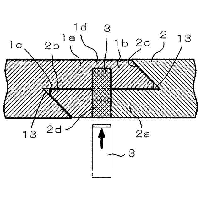
【解決手段】木材の連結構造は、一方の木材1と他方の木材2の端部同士を当接して連結する構造であって、端部には延出部1a、2aが形成され、この先端に当接突部を形成するとともに、基端に当接突部を嵌合して当接させる当接凹部を形成し、延出部1a、2aには、ダボ3を挿入するダボ孔1dが板厚方向に形成し、ダボ孔1dは、一方の木材1のダボ孔1dにダボ3を挿入した状態で、他方の木材2のダボ孔を当接凹部側に偏奇させた位置に形成し、一方の木材1と他方の木材2のダボ孔1dにダボ3を挿入したとき、ダボ孔1dの中心が一致するように当接突部を当接凹部の方向に変位させて互いに押圧させるようにしている。
【選択図】図1
特許請求の範囲
【請求項1】
一方の木材と他方の木材の端部同士を当接して連結する木材の連結構造であって、
前記端部には延出部が形成され、前記延出部の先端に当接突部を形成するとともに、基端に前記当接突部を嵌合して当接させる当接凹部を形成し、
前記延出部には、ダボを挿入するダボ孔が板厚方向に形成し、
前記ダボ孔は、前記一方の木材の前記ダボ孔に前記ダボを挿入した状態で、前記他方の木材の前記ダボ孔を前記当接凹部側に偏奇させた位置に形成し、
前記一方の木材と前記他方の木材の前記ダボ孔に前記ダボを挿入したとき、前記ダボ孔の中心が一致するように前記当接突部を前記当接凹部の方向に変位させて互いに押圧させることを特徴とする木材の連結構造。
続きを表示(約 200 文字)
【請求項2】
前記一方の木材と前記他方の木材の各前記延出部は同形状に形成され、前記延出部は内面を平坦に形成するとともに、板厚を前記木材の厚さの2分の1に形成した請求項1に記載の木材の連結構造。
【請求項3】
前記延出部の前記当接突部と前記当接凹部は、両者を当接させたとき、板厚方向の変位を阻止するように角状又は半円状に形成して嵌合させる請求項1に記載の木材の連結構造。
発明の詳細な説明
【技術分野】
【0001】
本発明は、一対の木材の端部同士を当接して連結する木材の連結構造に関する。
続きを表示(約 1,700 文字)
【背景技術】
【0002】
規格化された市販の木材よりも長尺な用材が必要な場合、あるいは、現存する複数の木材を用いて必要な長さの用材を得る場合、従来から、複数の木材を継ぎ合わせるようにしていた。
【0003】
従来から、木材の継ぎ手に関する多種の技法が知られている。一対の木材の端部同士を当接して連結する手段として、例えば、特許第3011692号公報(特許文献1)には、木製ダボの両端を、互いに連結される木材の連結穴に嵌入して、ダボを介して木材を連結することが開示されている。また、特開2003-227182号公報(特許文献2)には、一対の木材の端部にスリットを形成し、このスリットに鋼製のプレートを挿入した後、木材と鋼製のプレートに形成した貫通穴に継手用ボルトを挿入し、継手用ナットにより締結することにより、一対の木材を連結することが開示されている。
【先行技術文献】
【特許文献】
【0004】
特許第3011692号公報
特開2003-227182号公報
【発明の概要】
【発明が解決しようとする課題】
【0005】
上述した特許文献1(特許第3011692号公報)に示された木材の連結構造は、一対の木材の端面に各々長手方向に形成された連結穴にダボを入れ、ダボに吸い込ませた接着材により膨張させて連結穴の内面に密着して接着材によって連結させている。この特許文献1に開示された連結構造は、木材の長手方向に入れたダボのみによって連結しているため、長手方向の引っ張り強度が小さく、しかも、一対の木材を屈曲した場合には小径のダボへの負荷が大きくなるために破断してしまう問題が生ずる。さらに、ダボに吸い込ませた接着材が乾燥し固化するまでに長時間が必要であり、作業性が悪化する問題がある。
【0006】
一方、特許文献2(特開2003-227182号公報)に示された木材の連結構造は、一対の木材の端部に形成したスリットに鋼製のプレートを挿入してボルトとナットにより連結している。このように鋼製のプレート及びボルトとナットを使用した場合には、コストが大きくなり、しかも、ボルトとナットの締結作業が必要なために、作業性が悪い問題がある。さらに、木材のスリットに形成した挿入穴の位置と鋼製のプレートに形成した挿入穴の位置に誤差が生じた場合には、一対の木材の両端面の間に隙間が生じてしまう問題がある。
【0007】
本発明が解決しようとする課題は、簡易な構造であっても、一対の木材の端面同士を密接させることにより、連結強度を高くすることができる木材の連結構造を提供することにある。
【課題を解決するための手段】
【0008】
そこで、本発明による木材の連結構造は、一方の木材と他方の木材の端部同士を当接して連結する連結構造であって、前記端部には延出部が形成され、前記延出部の先端に当接突部を形成するとともに、基端に前記当接突部を嵌合して当接させる当接凹部を形成し、前記延出部には、ダボを挿入するダボ孔が板厚方向に形成し、前記ダボ孔は、前記一方の木材の前記ダボ孔に前記ダボを挿入した状態で、前記他方の木材の前記ダボ孔を前記当接凹部側に偏奇させた位置に形成し、前記一方の木材と前記他方の木材の前記ダボ孔に前記ダボを挿入したとき、前記ダボ孔の中心が一致するように前記当接突部を前記当接凹部の方向に変位させて互いに押圧させることを要旨としている。
【0009】
また、前記一方の木材と前記他方の木材の各前記延出部は同形状に形成され、前記延出部は内面を平坦に形成するとともに、前記前記延出部の板厚を前記木材の厚さの2分の1に形成することが望ましい。
【0010】
さらに、前記延出部の前記当接突部と前記当接凹部は、両者を当接させたとき、板厚方向の変位を阻止するように角状又は半円状に形成して嵌合させるようにしている。
【発明の効果】
(【0011】以降は省略されています)
この特許をJ-PlatPat(特許庁公式サイト)で参照する
関連特許
個人
鋸
2か月前
個人
木材精密加工用ジグ
8か月前
個人
貼付装置及び貼付方法
6か月前
丸大株式会社
竹粉製造装置
8か月前
個人
電動ボードカッターのブレード
3か月前
個人
跳ね上げ式ガイドクランプ
6か月前
株式会社 川上製作所
木材の連結構造
2か月前
コニシ株式会社
集成材の製造方法
3か月前
株式会社岡田金属工業所
ブレード
7か月前
株式会社ノダ
木削薄片板および床材
10か月前
NKE株式会社
トリマー治具
6か月前
工機ホールディングス株式会社
作業機
10か月前
宮川工機株式会社
プレカット加工装置
11か月前
大建工業株式会社
焼杉風化粧板とその製造方法
8か月前
清水建設株式会社
ビス打ち装置
8か月前
トヨタ自動車株式会社
木粉の熱圧縮成形方法
10か月前
清水建設株式会社
自動ビス打ち機
8か月前
株式会社大林組
ドリルおよびドリル装置
1日前
マックス株式会社
リフィル
11か月前
株式会社大林組
木質板材の加工方法
9か月前
トヨタエンジニアリング有限会社
竹割機
6か月前
株式会社大林組
ドリル装置
1か月前
有限会社太悦鉄工
ヤニ取り装置および木材切断用鋸盤
4か月前
トヨタエンジニアリング有限会社
竹割機
5か月前
株式会社マキタ
携帯用切断機
5か月前
セイコーエプソン株式会社
シート製造装置
9日前
マックス株式会社
ステープラ
10か月前
マックス株式会社
ステープラ
11か月前
マックス株式会社
ステープラ
10か月前
株式会社マキタ
ソーチェーン
2か月前
清水建設株式会社
防火積層体及びその製造方法
1か月前
大建工業株式会社
人工突板の製造方法
8か月前
トヨタT&S建設株式会社
桂剥き装置
7か月前
株式会社マキタ
木工用携帯用切削機
5か月前
株式会社竹中工務店
集成材の製造方法
5か月前
トヨタ紡織株式会社
樹脂成形品の製造方法
11か月前
続きを見る
他の特許を見る