TOP
|
特許
|
意匠
|
商標
特許ウォッチ
Twitter
他の特許を見る
公開番号
2025142881
公報種別
公開特許公報(A)
公開日
2025-10-01
出願番号
2024042479
出願日
2024-03-18
発明の名称
X線管及びX線検査装置
出願人
アンリツ株式会社
代理人
弁理士法人栄光事務所
主分類
H01J
35/16 20060101AFI20250924BHJP(基本的電気素子)
要約
【課題】瞬断を抑えつつ小型化及び低コスト化が可能なX線管及びそれを備えたX線検査装置を提供する。
【解決手段】内部が真空領域Avとなる真空容器11と、真空容器11に設けられて電子を放出するフィラメント22と、真空容器11の端11bに設けられてフィラメント22からの電子の照射によってX線を放出するターゲット63と、を有し、ターゲット63の周囲を囲うとともに、ターゲット63へ向かう電子が通過可能な連通孔68を有する半閉鎖空間66が設けられ、半閉鎖空間66の内壁に、真空容器11内を真空引きするための開口部74が設けられている。
【選択図】図1
特許請求の範囲
【請求項1】
内部が真空領域(Av)となる真空容器(11)と、
前記真空容器に設けられて電子を放出するフィラメント(22)と、
前記真空容器の端(11b)に設けられて前記フィラメントからの電子の照射によってX線を放出するターゲット(63)と、
を有し、
前記ターゲットの周囲を囲うとともに、前記ターゲットへ向かう電子が通過可能な連通孔(68)を有する半閉鎖空間(66)が設けられ、
前記半閉鎖空間の内壁に、前記真空容器内を真空引きするための開口部(74)が設けられている、
X線管(10)。
続きを表示(約 430 文字)
【請求項2】
前記半閉鎖空間の内壁に、前記ターゲットから放出されるX線を透過させて外部へ照射させる窓部(72)が設けられている、
請求項1に記載のX線管。
【請求項3】
前記真空領域と前記半閉鎖空間との間に、前記真空領域側の面が平滑な隔壁(67)を有し、前記隔壁に前記連通孔が形成されている、
請求項1に記載のX線管。
【請求項4】
前記ターゲットは、銅または銅合金から形成されたターゲット搭載部材(62)に取り付けられている、
請求項1に記載のX線管。
【請求項5】
搬送される被検査物(W)に向けてX線を照射する、請求項1~4のいずれか一項に記載のX線管と、
前記被検査物を透過したX線を検出するX線検出器(82)と、
前記X線検出器によって得られる画像情報に基づいて前記被検査物の検査を行う信号処理部(83)とを備える、
X線検査装置(100)。
発明の詳細な説明
【技術分野】
【0001】
本発明は、X線管及びX線検査装置に関する。
続きを表示(約 1,700 文字)
【背景技術】
【0002】
例えば、物品検査等に用いられるX線検査装置は、X線の発生源としてX線管を備えている。X線管は、真空容器内において、フィラメントから放出させた電子をターゲットに衝突させることにより発生するX線を窓部から照射する構造を有している。
【0003】
特許文献1には、円筒形壁部の一端側がカラーによってキャップされ、他端側が陽極アセンブリによってキャップされた真空エンクロージャからなる真空容器を備えたX線管が示されている。
【先行技術文献】
【特許文献】
【0004】
特表2015-525953号公報
【発明の概要】
【発明が解決しようとする課題】
【0005】
ところで、X線管は、搭載されるX線検査装置の省スペース化や製造コストの低減のため、小型化が要求されている。一方、異常放電によるX線の瞬断を防止するためには、フィラメントから放出される電子を全てターゲットに到達させる必要があるが、フィラメントから放出される電子は、ターゲットと同電位にある周辺構造体の形状偏極部に到達しやすい傾向がある。例えば、上記特許文献1に記載のX線管において、真空引き用のパイプの接続部や穴などの開口部を円筒形壁部の一端側に設けられる陽極アセンブリに形成すると、この開口部からなる形状偏極部に電子が到達し、X線が瞬断するおそれがある。このため、X線管では、真空引きのための開口部などの必要構造部をターゲットより十分に離れた位置に配置する必要があり、小径化の制約となっている。
【0006】
そこで本発明は、瞬断を抑えつつ小型化及び低コスト化が可能なX線管及びそれを備えたX線検査装置を提供することを目的とする。
【課題を解決するための手段】
【0007】
本発明は下記構成からなる。
(1) 内部が真空領域となる真空容器と、
前記真空容器に設けられて電子を放出するフィラメントと、
前記真空容器の端に設けられて前記フィラメントからの電子の照射によってX線を放出するターゲットと、
を有し、
前記ターゲットの周囲を囲うとともに、前記ターゲットへ向かう電子が通過可能な連通孔を有する半閉鎖空間が設けられ、
前記半閉鎖空間の内壁に、前記真空容器内を真空引きするための開口部が設けられている、
X線管。
(2) 搬送される被検査物(W)に向けてX線を照射する、上記のX線管と、
前記被検査物を透過したX線を検出するX線検出器(82)と、
前記X線検出器によって得られる画像情報に基づいて前記被検査物の検査を行う信号処理部(83)とを備える、
X線検査装置。
【発明の効果】
【0008】
本発明によれば、瞬断を抑えつつ小型化及び低コスト化が可能なX線管及びそれを備えたX線検査装置を提供できる。
【図面の簡単な説明】
【0009】
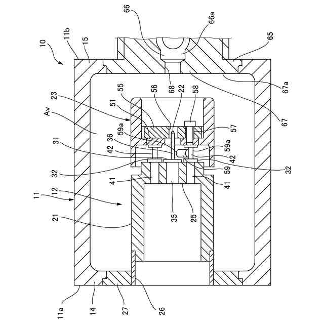
図1は、実施形態に係るX線管の軸方向に沿う鉛直方向の断面図である。
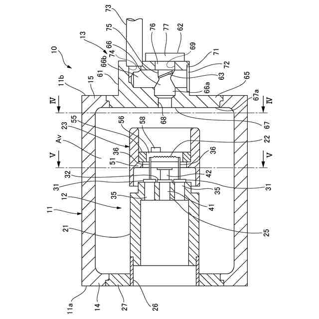
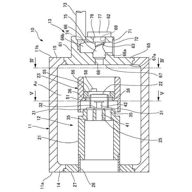
図2は、実施形態に係るX線管の軸方向に沿う水平方向の断面図である。
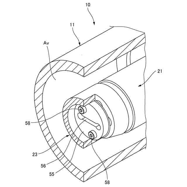
図3は、X線管の一部を破断させた斜視図である。
図4は、図1におけるIV-IV断面図である。
図5は、図1におけるV-V断面図である。
図6は、X線管の陰極構造部の側面図である。
図7は、X線管を備えたX線検査装置の概略構成図である。
【発明を実施するための形態】
【0010】
以下、本発明の実施形態について、図面を参照して詳細に説明する。
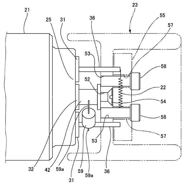
図1は、実施形態に係るX線管10の軸方向に沿う鉛直方向の断面図である。図2は、実施形態に係るX線管10の軸方向に沿う水平方向の断面図である。図3は、X線管10の一部を破断させた斜視図である。図4は、図1におけるIV-IV断面図である。図5は、図1におけるV-V断面図である。図6は、X線管10の陰極構造部12の側面図である。
(【0011】以降は省略されています)
この特許をJ-PlatPat(特許庁公式サイト)で参照する
関連特許
アンリツ株式会社
検査装置
12日前
アンリツ株式会社
計量装置
9日前
アンリツ株式会社
物品検査装置
1日前
アンリツ株式会社
測定システム
8日前
アンリツ株式会社
測定装置および測定方法
4日前
アンリツ株式会社
X線管及びX線検査装置
10日前
アンリツ株式会社
測定装置および測定方法
4日前
アンリツ株式会社
信号発生装置及び信号発生方法
2日前
アンリツ株式会社
分光器の校正装置及び校正方法
1日前
アンリツ株式会社
予知保全装置及び予知保全方法
8日前
アンリツ株式会社
真空管、X線管及びX線検査装置
10日前
アンリツ株式会社
物品検査装置およびその校正方法
1日前
アンリツ株式会社
誤り率測定装置及び信号検出方法
12日前
アンリツ株式会社
誤り率測定装置及び誤り率測定方法
2日前
アンリツ株式会社
ADC校正装置およびADC校正方法
12日前
アンリツ株式会社
測定装置と測定システムとその測定方法
4日前
アンリツ株式会社
ネットワーク測定装置とその遅延時間補正方法
1日前
アンリツ株式会社
信号発生装置および信号発生装置が実行する信号発生方法
2日前
個人
フレキシブル電気化学素子
1日前
日本発條株式会社
積層体
12日前
個人
防雪防塵カバー
12日前
ローム株式会社
半導体装置
8日前
ローム株式会社
半導体装置
10日前
ローム株式会社
半導体装置
10日前
ローム株式会社
半導体装置
10日前
株式会社ユーシン
操作装置
1日前
ローム株式会社
半導体装置
3日前
株式会社GSユアサ
蓄電設備
1日前
オムロン株式会社
電磁継電器
2日前
ニチコン株式会社
コンデンサ
24日前
株式会社GSユアサ
蓄電設備
1日前
株式会社ホロン
冷陰極電子源
8日前
個人
半導体パッケージ用ガラス基板
11日前
株式会社GSユアサ
蓄電装置
8日前
ニチコン株式会社
コンデンサ
24日前
株式会社GSユアサ
蓄電装置
12日前
続きを見る
他の特許を見る