TOP
|
特許
|
意匠
|
商標
特許ウォッチ
Twitter
他の特許を見る
公開番号
2025151841
公報種別
公開特許公報(A)
公開日
2025-10-09
出願番号
2024053442
出願日
2024-03-28
発明の名称
誤り率測定装置及び誤り率測定方法
出願人
アンリツ株式会社
代理人
個人
,
個人
主分類
H04L
25/03 20060101AFI20251002BHJP(電気通信技術)
要約
【課題】測定中のエラー判定結果を用いて信号レベル間の閾値電圧をリアルタイムに調整する。
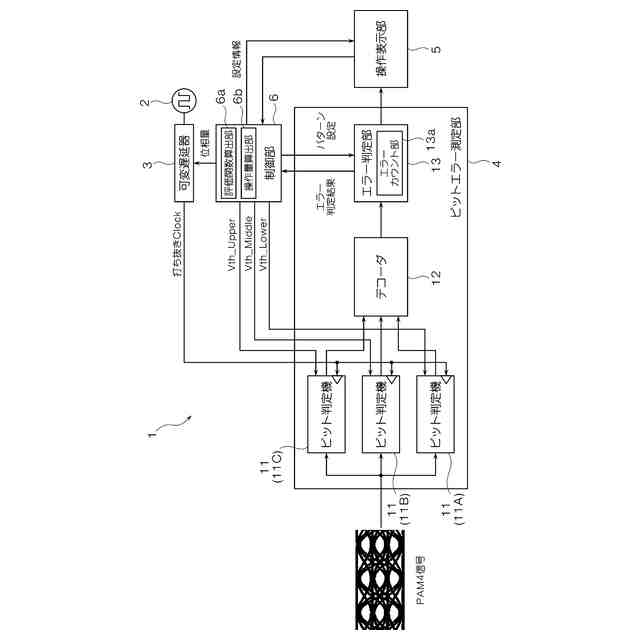
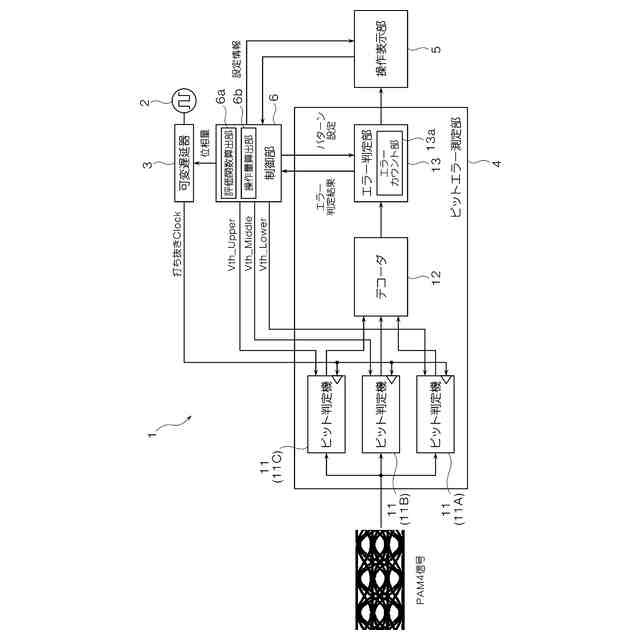
【解決手段】誤り率測定装置は、2値以上のPAM信号の隣接する信号レベル間ごとのエラー区間内に閾値電圧が設定されている状態で任意時間におけるPAM信号の本来の信号レベルより低いエラーと判定した第1のエラーカウント値と、PAM信号の本来の信号レベルより高いエラーと判定した第2のエラーカウント値をPAM信号の隣接する信号レベル間ごとに算出するエラーカウント部13aと、エラーカウント部13aにより算出した隣接する信号レベル間ごとの第1のエラーカウント値と第2のエラーカウント値の比率が1:1に最も近くなるように信号レベル間ごとの閾値電圧を調整制御する制御部6とを備える。
【選択図】図1
特許請求の範囲
【請求項1】
2値以上のPAM信号の隣接する信号レベル間ごとのエラー区間内に閾値電圧が設定されている状態で任意時間における前記PAM信号の本来の信号レベルより低いエラーと判定した第1のエラーカウント値と、前記PAM信号の本来の信号レベルより高いエラーと判定した第2のエラーカウント値を前記PAM信号の隣接する信号レベル間ごとに算出するエラーカウント部(13a)と、
前記エラーカウント部により算出した前記隣接する信号レベル間ごとの前記第1のエラーカウント値と前記第2のエラーカウント値の比率が1:1に最も近くなるように前記信号レベル間ごとの閾値電圧を調整制御する制御部(6)とを備えたことを特徴とする誤り率測定装置。
続きを表示(約 340 文字)
【請求項2】
2値以上のPAM信号の隣接する信号レベル間ごとのエラー区間内に閾値電圧が設定されている状態で任意時間における前記PAM信号の本来の信号レベルより低いエラーと判定した第1のエラーカウント値と、前記PAM信号の本来の信号レベルより高いエラーと判定した第2のエラーカウント値を前記PAM信号の隣接する信号レベル間ごとにエラーカウント部(13a)により算出するステップ(ST6)と、
前記エラーカウント部により算出した前記隣接する信号レベル間ごとの前記第1のエラーカウント値と前記第2のエラーカウント値の比率が1:1に最も近くなるように制御部(6)により前記信号レベル間ごとの閾値電圧を調整制御するステップ(ST10)とを含むことを特徴とする誤り率測定方法。
発明の詳細な説明
【技術分野】
【0001】
本発明は、NRZ信号を含む2値以上の任意のPAM信号の誤り率を測定する誤り率測定装置及び誤り率測定方法に関する。
続きを表示(約 1,800 文字)
【背景技術】
【0002】
従来、誤り率測定装置において、図6のような信号レベルが0と1の2値からなるNRZ信号のビットを判定する場合には、判定の基準となる閾値電圧Vthを決める必要がある。一般的に、閾値電圧Vthを求める方法としては、閾値電圧Vthを一度掃引し、その中から最も良いビット誤り率(BER:Bit Error Rate)が得られる閾値電圧Vthを選ぶ手法が用いられ、この手法が最も精度が期待できアルゴリズムもシンプルである。
【0003】
一方で、この手法は一度測定を中断して閾値電圧Vthを掃引する必要があることと、測定信号の閾値電圧Vthが途中で変動し得るようなケースでは追従することができないなど、リアルタイム性に欠けるといった欠点がある。
【0004】
そこで、誤り率測定装置には、この判定の基準となる閾値電圧Vthをリアルタイムに推定するための機能としてAuto Adjustを備えている。これは、ランダムパターンのようなマーク率が均一となるNRZ信号において、最適な閾値電圧Vthは信号の直流平均電圧値と等しいことを利用したものであり、信号の直流平均電圧を抽出するためのローパスフィルタ、およびその電圧値を検出するためのA/Dコンバータ:ADC(Analog-to-Digital Converter )から実現できる。
【0005】
ところで、図6のようなNRZ信号では閾値電圧Vthは1つだが、図5のような信号レベルが0,1,2,3の4値からなるPAM4信号の場合では、3つの閾値電圧Vth_Upper、Vth_Middle、Vth_Lowerが必要となる。このうち直流平均で求められるのはVth_Middleのみであり、Vth_UpperおよびVth_Lowerを推定することはできない。そのため、PAM4信号においてもAuto Adjustは備えてはいるものの、現状ではVth_Middleしか実現できないという課題があった。
【0006】
ここで、Vth_UpperおよびVth_Lowerを推定する手法の一つとして、A/Dコンバータのデジタル値が飽和する領域から閾値電圧Vthを推定する方法が考えられ、この方法は下記特許文献1に開示されている。
【先行技術文献】
【特許文献】
【0007】
特許第6025883号公報
【発明の概要】
【発明が解決しようとする課題】
【0008】
しかしながら、PAM4信号では信号のpeak-to-peak電圧に対し信号レベル0,1,2,3が均等に分布しているとは限らず、また例えば信号レベル3と信号レベル2のちょうど中間がVth_Upperとして最適とは限らないため、推定に誤差が生じる場合があるといった課題があった。また、この手法ではデジタル値が飽和する領域を求めるために閾値電圧Vthを掃引する必要があることから、リアルタイムに推定する用途には使用できないという課題があった。
【0009】
そこで、本発明は上記問題点に鑑みてなされたものであって、測定中のエラー判定結果を用いて信号レベル間の閾値電圧をリアルタイムに調整することができる誤り率測定装置及び誤り率測定方法を提供することを目的としている。
【課題を解決するための手段】
【0010】
上記目的を達成するため、本発明の請求項1に記載された誤り率測定装置は、2値以上のPAM信号の隣接する信号レベル間ごとのエラー区間内に閾値電圧が設定されている状態で任意時間における前記PAM信号の本来の信号レベルより低いエラーと判定した第1のエラーカウント値と、前記PAM信号の本来の信号レベルより高いエラーと判定した第2のエラーカウント値を前記PAM信号の隣接する信号レベル間ごとに算出するエラーカウント部13aと、
前記エラーカウント部により算出した前記隣接する信号レベル間ごとの前記第1のエラーカウント値と前記第2のエラーカウント値の比率が1:1に最も近くなるように前記信号レベル間ごとの閾値電圧を調整制御する制御部6とを備えたことを特徴とする。
(【0011】以降は省略されています)
この特許をJ-PlatPat(特許庁公式サイト)で参照する
関連特許
アンリツ株式会社
物品検査装置
今日
アンリツ株式会社
物品検査装置
2日前
アンリツ株式会社
物品検査装置
1か月前
アンリツ株式会社
X線検査装置
1か月前
アンリツ株式会社
物品検査装置
16日前
アンリツ株式会社
物品検査装置
16日前
アンリツ株式会社
測定装置とその測定方法
2日前
アンリツ株式会社
物品検査装置及びX線検査装置
1か月前
アンリツ株式会社
分光器の校正装置及び校正方法
1か月前
アンリツ株式会社
金属検出機及び金属検出システム
1か月前
アンリツ株式会社
物品検査装置およびその校正方法
1か月前
アンリツ株式会社
誤り率測定装置及び誤り率測定方法
2日前
アンリツ株式会社
分光測定装置及びこれを備えた物品検査装置
2日前
アンリツ株式会社
分光測定装置及びこれを備えた物品検査装置
16日前
アンリツ株式会社
試験システム及び送信アンテナ相関推定方法
1日前
アンリツ株式会社
ネットワーク測定装置とその遅延時間補正方法
1か月前
アンリツ株式会社
検量線生成装置、検量線生成方法及び検量線生成プログラム
今日
アンリツ株式会社
量子コンピュータ制御装置および量子コンピュータ制御方法
29日前
アンリツ株式会社
検量線生成装置、検量線生成方法及び検量線生成プログラム
今日
アンリツ株式会社
量子コンピュータ制御装置、量子コンピュータ制御システムおよび量子コンピュータ制御方法
1か月前
個人
イヤーピース
21日前
個人
イヤーマフ
1か月前
個人
監視カメラシステム
1か月前
個人
スイッチシステム
29日前
キーコム株式会社
光伝送線路
1か月前
サクサ株式会社
中継装置
1か月前
WHISMR合同会社
収音装置
2か月前
個人
スキャン式車載用撮像装置
1か月前
サクサ株式会社
中継装置
1か月前
キヤノン株式会社
撮像装置
3か月前
アイホン株式会社
電気機器
2か月前
キヤノン株式会社
撮像装置
今日
株式会社リコー
画像形成装置
1か月前
個人
映像表示装置、及びARグラス
1か月前
株式会社リコー
画像形成装置
3か月前
キヤノン電子株式会社
画像読取装置
2か月前
続きを見る
他の特許を見る