TOP
|
特許
|
意匠
|
商標
特許ウォッチ
Twitter
他の特許を見る
公開番号
2025153829
公報種別
公開特許公報(A)
公開日
2025-10-10
出願番号
2024056484
出願日
2024-03-29
発明の名称
物品検査装置およびその校正方法
出願人
アンリツ株式会社
代理人
弁理士法人有我国際特許事務所
主分類
G01N
23/18 20180101AFI20251002BHJP(測定;試験)
要約
【課題】個体間のX線検出特性のばらつきを低減させ得る物品検査装置の校正方法を実現し、高検査精度で均一な物品検査を実行可能な物品検査装置を提供する。
【解決手段】X線検査方式の物品検査装置であって、校正制御部は、物品Pが検査領域Zx内に無い搬入前状態で、複数のセンサ素子の出力Lxに基づく第1のX線画像の画像データDs1を生成する第1の撮像処理手段と、校正部材を検査領域Zx内に搬入した搬入後状態で出力信号Lxに基づく第2のX線画像の画像データDs2を生成する第2の撮像処理手段と、画像データDs1,Ds2と予め機種に固有に設定された補正目標値Ctとに基づいて、搬入前状態での複数のセンサ素子の出力信号Lxおよび搬入後状態での複数のセンサ素子の出力信号Lxをそれぞれの状態での補正目標値に対応する基準レベルに校正するための校正データDhsを生成する校正データ作成処理手段46,47とを有する。
【選択図】図1
特許請求の範囲
【請求項1】
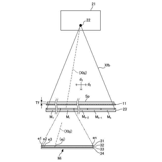
被検査物(P)を搬入する検査領域(Zx)にX線(Xfb)を照射するとともに該検査領域を透過するX線を所定の配列方向に隣り合う複数のセンサ素子を有するX線検出器(23)で検出してX線画像の画像データを生成する撮像部(20)と、
前記撮像部で生成された画像データおよび予め設定された判定基準を用いて前記被検査物を検査する検査制御部(41ないし44)と、
前記複数のセンサ素子の配列方向(d2)の全域で前記検査領域に対するX線照射方向(d3)に均一な厚さ(Tf)を有する校正部材(Sp)を用いて、前記校正部材を透過したX線に対する前記複数のセンサ素子の出力信号(Lx)を校正する校正制御部(45ないし47)と、を備えたX線検査方式の物品検査装置であって、
前記校正制御部は、
前記被検査物が前記検査領域内に無い搬入前状態で、前記複数のセンサ素子の出力信号に基づく第1のX線画像の画像データ(Ds1)を生成する第1の撮像処理手段(S21)と、
前記校正部材を前記検査領域内に搬入した搬入後状態で前記複数のセンサ素子の出力信号に基づく第2のX線画像の画像データ(Ds2)を生成する第2の撮像処理手段(S22およびS23)と、
前記第1のX線画像の画像データおよび前記第2のX線画像の画像データと予め機種に固有に設定された補正目標値(Ct)とに基づいて、前記搬入前状態での前記複数のセンサ素子の出力信号(Lx)および前記搬入後状態での前記複数のセンサ素子の出力信号をそれぞれの状態での前記補正目標値に対応する基準レベルに校正するための校正データ(Dhs)を生成する校正データ作成処理手段(46および47)と、を有することを特徴とする物品検査装置。
続きを表示(約 1,900 文字)
【請求項2】
前記被検査物を検査する検査モードと、前記校正部材を使って前記複数のセンサ素子の出力信号を校正する校正モードと、を切り替え可能なモード切替手段(48)をさらに備えることを特徴とする請求項1に記載の物品検査装置。
【請求項3】
前記第1のX線画像の画像データに基づいて、前記搬入前状態での前記複数のセンサ素子の出力信号に基づく前記画像データのセンサ素子ごとの画像濃度(A1(i,j))を第1の補正目標値(Ct0(i,j))に揃える第1の校正処理を実行するとともに、前記第1のX線画像の画像データおよび前記第2のX線画像の画像データに基づいて、前記搬入後状態での前記複数のセンサ素子の出力信号に基づく前記画像データのセンサ素子ごとの画像濃度(A2(i,j))を第2の補正目標値(Ctf(i,j))に揃える第2の校正処理を実行する校正処理部(43b)と、
前記第1の補正目標値および前記第2の補正目標値のうち少なくとも前記第2の補正目標値が、前記第1の校正処理および前記第2の校正処理に先立って予め機種に固有の補正目標値として設定され、記憶されているメモリ(47)と、をさらに備えることを特徴とする請求項1または2に記載の物品検査装置。
【請求項4】
前記撮像部は、前記X線を発生するX線照射源(21)の一部にX線管(22)を有し、前記校正処理部は、前記複数のセンサ素子の出力信号に基づく前記画像データのセンサ素子ごとの画像濃度(A3(i,j))を第3の補正目標値(Cts(i,j))に揃える第3の校正処理を実行するようになっており、
前記校正データ作成処理手段が前記第3の校正処理を実行するときに前記X線管の管電圧を調整して、前記搬入前状態での前記複数のセンサ素子の出力信号に基づく前記画像データのセンサ素子ごとの画像濃度を前記第3の補正目標値に近付けるよう前記X線の照射強度を調整する出力調整手段(45b)が設けられていることを特徴とする請求項3に記載の物品検査装置。
【請求項5】
前記撮像部は、前記X線管の管電圧または前記X線の照射強度を多段階に調整可能であり、前記校正制御部は、前記第1の補正目標値を前記多段階のうち各段階の管電圧またはX線照射強度に応じた多段階の補正目標値に設定する多段設定手段(45a)を有していることを特徴とする請求項4に記載の物品検査装置。
【請求項6】
前記校正制御部は、前記撮像部のX線照射源(21)の交換または前記X線検出器の交換がなされたときに、前記第1の撮像処理手段、前記第2の撮像処理手段および前記校正データ作成処理手段を作動させて、前記校正データの生成を再度実行させることを特徴とする請求項1または2に記載の物品検査装置。
【請求項7】
被検査物(P)を搬入する検査領域(Zx)にX線(Xfb)を照射するとともに該検査領域を透過するX線を所定の配列方向に隣り合う複数のセンサ素子を有するX線検出器(23)で検出してX線画像の画像データを生成する撮像部(20)と、前記撮像部で生成された画像データおよび予め設定された判定基準を用いて前記被検査物を検査する検査制御部(41ないし44)と、を備えたX線検査方式の物品検査装置に対して、前記複数のセンサ素子の配列方向の全域で前記検査領域に対するX線照射方向に均一な厚さ(Tf)を有する校正部材(Sp)を用いて、前記校正部材を透過したX線に対する前記複数のセンサ素子の出力信号(Lx)を校正する物品検査装置の校正方法であって、
前記被検査物が前記検査領域内に無い搬入前状態で前記複数のセンサ素子の出力信号に基づく第1のX線画像の画像データ(Ds1)を生成する第1の撮像工程(S21)と、
前記校正部材を前記検査領域内に搬入した搬入後状態で前記複数のセンサ素子の出力信号に基づく第2のX線画像の画像データ(Ds2)を生成する第2の撮像工程(S22およびS23)と、
前記第1のX線画像の画像データおよび前記第2のX線画像の画像データと予め機種に固有に設定された補正目標値(Ct)とに基づいて、前記搬入前状態での前記複数のセンサ素子の出力信号および前記搬入後状態での前記複数のセンサ素子の出力信号をそれぞれの状態での前記補正目標値に対応する基準レベルに校正するための校正データ(Dhs)を生成する校正データ作成工程(S27)と、を含むことを特徴とする物品検査装置の校正方法。
発明の詳細な説明
【技術分野】
【0001】
本発明は、物品検査装置およびその校正方法に関し、特にX線検出器を備えた物品検査装置およびそのX線検出器の出力を校正する物品検査装置の校正方法に関する。
続きを表示(約 1,700 文字)
【背景技術】
【0002】
X線(物品を透過する電磁波)を用いる物品検査装置においては、一般に、検査領域内の被検査物にX線が照射され、検査領域を透過したX線がX線検出器に入射し検出されることで、X線検出器から像検出信号が出力され、その出力信号を基にX線透過画像の画像データが生成されるようになっている。
【0003】
このような物品検査装置においては、フラットなアレイ状のセンサ素子群を有するX線検出器が用いられることが多いが、その場合、搬送ベルトや被検査物の厚さが一定であっても、X線検出器の各センサ素子に入射するX線の物質透過距離は、そのセンサ素子の位置が複数のセンサ素子の配列方向の中心から離れるほど大きくなるため、各センサ素子で受けるX線量がX線検出器の両端側で低下する傾向が生じる。
【0004】
そこで、従来、被検査物の検査前に、X線検出器の各素子の出力に基づく検査画像の画像濃度レベルが一定値となるように、X線検出器の出力レベルの感度補正を行って、基準の画像濃度に対する検査画像のばらつきを抑え、X線透過画像のぼけや不要なグラデーション等を抑えるような校正処理がなされている。
【0005】
この種の物品検査装置としては、例えば、X線検出器から出力される所定ライン数のライン走査画像の濃度データ全体の平均値を算出する第1の平均値算出手段と、X線検出器から出力される所定ライン数の濃度データの中から単体素子に対応する濃度データの平均値を素子ごとに算出する第2の平均値算出手段と、第1の平均値算出手段が算出した平均値から第2の平均値算出手段が算出した平均値を差し引いた差分データを素子ごとに算出する差分算出手段と、被検査物を含むX線検出器のラインごとの各素子の濃度データに対応する素子の差分データを差し引いてX線検出器からの濃度データを補正する補正手段とを備えたものが知られている(例えば、特許文献1参照)。
【0006】
また、近年、入射X線をその線量に応じた出力信号に変換する方式として直接変換方式を採用したX線検出器が普及拡大してきている。この直接変換方式のX線検出器は、従来の間接変換方式のようにシンチレータを用いるのではなく、化合物半導体で構成されるX線センサ素子にX線を入射・吸収させてそのX線のエネルギー量に比例する電荷を発生させることで、高検出精度の出力信号を生成できるようになっている。
【0007】
この種のX線検出器を搭載した物品検査装置としては、例えば搬送ベルト面とX線照射部の間に校正部材を介在させた場合におけるX線検出器の複数のセンサ素子の出力信号と、校正部材を介在させない場合におけるX線検出器の複数のセンサ素子の出力信号とを基に、それぞれに対応するX線画像の画像データから被検査物に適した校正条件を適時に設定できるように校正データを生成し、X線検出器の出力信号の校正精度を高めるようにしたものがある(例えば、特許文献2参照)。
【0008】
あるいは、X線検出器の複数のセンサ素子に対するX線の入射条件を2種類以上に変更する入射条件変更手段を設けて、入射条件ごとにX線検出器の複数のセンサ素子の出力信号を基に生成される画像の濃度が均一になるように必要な校正データを作成するようにしたものも知られている(例えば、特許文献3参照)。
【先行技術文献】
【特許文献】
【0009】
特開2005-91016号公報
特開2022-109774号公報
特開2019-12011号公報
【発明の概要】
【発明が解決しようとする課題】
【0010】
上述のような従来の物品検査装置にあっては、X線検出器に要求される走査ライン長やその走査ラインの並列数が機種により相違するため、センサ素子モジュールを必要個数だけ走査ライン方向に接合したり、走査ラインを並列させるよう複数のセンサ素子モジュールを複数列に並列配置したりして、X線検出器が構成されている。
(【0011】以降は省略されています)
この特許をJ-PlatPat(特許庁公式サイト)で参照する
関連特許
アンリツ株式会社
物品検査装置
今日
アンリツ株式会社
物品検査装置
2日前
アンリツ株式会社
物品検査装置
16日前
アンリツ株式会社
物品検査装置
16日前
アンリツ株式会社
X線検査装置
1か月前
アンリツ株式会社
測定装置とその測定方法
2日前
アンリツ株式会社
誤り率測定装置及び誤り率測定方法
2日前
アンリツ株式会社
試験システム及び送信アンテナ相関推定方法
1日前
アンリツ株式会社
分光測定装置及びこれを備えた物品検査装置
2日前
アンリツ株式会社
分光測定装置及びこれを備えた物品検査装置
16日前
アンリツ株式会社
検量線生成装置、検量線生成方法及び検量線生成プログラム
今日
アンリツ株式会社
検量線生成装置、検量線生成方法及び検量線生成プログラム
今日
アンリツ株式会社
量子コンピュータ制御装置および量子コンピュータ制御方法
29日前
アンリツ株式会社
量子コンピュータ制御装置、量子コンピュータ制御システムおよび量子コンピュータ制御方法
1か月前
日本精機株式会社
検出装置
23日前
個人
採尿及び採便具
29日前
個人
計量機能付き容器
18日前
個人
アクセサリー型テスター
1か月前
個人
高精度同時多点測定装置
1か月前
甲神電機株式会社
電流検出装置
23日前
株式会社ミツトヨ
測定器
1か月前
日本精機株式会社
発光表示装置
1日前
株式会社カクマル
境界杭
8日前
株式会社トプコン
測量装置
今日
アズビル株式会社
電磁流量計
1か月前
大成建設株式会社
風洞実験装置
18日前
日本特殊陶業株式会社
ガスセンサ
16日前
個人
計量具及び計量機能付き容器
18日前
日本信号株式会社
距離画像センサ
21日前
個人
非接触による電磁パルスの測定方法
21日前
日本特殊陶業株式会社
ガスセンサ
今日
愛知時計電機株式会社
ガスメータ
1か月前
双庸電子株式会社
誤配線検査装置
24日前
個人
システム、装置及び実験方法
1か月前
ローム株式会社
半導体装置
1か月前
ローム株式会社
半導体装置
1か月前
続きを見る
他の特許を見る