TOP
|
特許
|
意匠
|
商標
特許ウォッチ
Twitter
他の特許を見る
公開番号
2025147509
公報種別
公開特許公報(A)
公開日
2025-10-07
出願番号
2024047782
出願日
2024-03-25
発明の名称
測定装置および測定方法
出願人
アンリツ株式会社
代理人
弁理士法人有我国際特許事務所
主分類
H04B
17/17 20150101AFI20250930BHJP(電気通信技術)
要約
【課題】O-DUからO-RUを設定するための作成済みの設定シーケンスデータを、試験対象のO-RUが対応可能なバージョンのデータモデルに容易に適合させることができる測定装置を提供する。
【解決手段】O-DUエミュレータを用いてO-RUの試験を行う測定装置1であって、O-DUエミュレータからMプレーンを介してO-RUの設定シーケンスを実行するための設定シーケンスデータの基になるYANGデータモデルのバージョンを指定するバージョン指定部131と、バージョン指定部により指定されたバージョンのYANGデータモデルに基づいて、設定シーケンスデータに課される条件を抽出する条件抽出部132と、作成済みの設定シーケンスデータが、条件抽出部により抽出された前記条件に適合するか否かを判定する判定部133と、判定部により判定された結果を表示する表示部12とを備える。
【選択図】図1
特許請求の範囲
【請求項1】
Open RAN(Open Radio Access Network)の分散ユニットを模擬する分散ユニットエミュレータ(O-DUエミュレータ)を用いてOpen RANの無線ユニットの試験を行う測定装置(1)であって、
前記分散ユニットエミュレータから所定のインタフェースを介して前記無線ユニットの設定シーケンスを実行するための設定シーケンスデータの基になるデータモデルのバージョンを指定するバージョン指定部(131)と、
前記バージョン指定部により指定されたバージョンのデータモデルに基づいて、前記設定シーケンスデータに課される条件を抽出する条件抽出部(132)と、
作成済みの設定シーケンスデータが、前記条件抽出部により抽出された前記条件に適合するか否かを判定する判定部(133)と、
前記判定部により判定された結果を表示する表示部(12)と、
を備える測定装置。
続きを表示(約 970 文字)
【請求項2】
前記設定シーケンスデータは、前記無線ユニットを設定する手順を順に記述する1または複数のシーケンスから構成され、
前記判定部は、前記作成済みの設定シーケンスデータのシーケンスごとに、前記条件に適合するか否かを判定し、
前記表示部は、前記判定部により判定された結果を前記シーケンスごとに表示する、請求項1に記載の測定装置。
【請求項3】
前記データモデルは、機能のモジュールごとに規定されており、
前記条件抽出部は、前記設定シーケンスデータに課される条件を前記モジュールごとに抽出し、
前記判定部は、前記作成済みの設定シーケンスデータが前記条件に適合するか否かを前記モジュールごとに判定する、請求項2に記載の測定装置。
【請求項4】
前記作成済みの設定シーケンスデータを、ユーザが修正可能なように前記表示部に表示させる設定シーケンスデータ修正部(134)をさらに備える、請求項1に記載の測定装置。
【請求項5】
前記データモデルはYANGモデルであり、前記インタフェースはNETCONFプロトコルベースの管理プレーンであり、前記設定シーケンスデータはXML形式のデータである、請求項1に記載の測定装置。
【請求項6】
Open RAN(Open Radio Access Network)の分散ユニットを模擬する分散ユニットエミュレータ(O-DUエミュレータ)を用いてOpen RANの無線ユニットの試験を行う測定方法であって、
前記分散ユニットエミュレータから所定のインタフェースを介して前記無線ユニットの設定シーケンスを実行するための設定シーケンスデータの基になるデータモデルのバージョンを指定するバージョン指定ステップと、
前記バージョン指定ステップにて指定されたバージョンのデータモデルに基づいて、前記設定シーケンスデータに課される条件を抽出する条件抽出ステップと、
作成済みの設定シーケンスデータが、前記条件抽出ステップで抽出された前記条件に適合するか否かを判定する判定ステップと、
前記判定ステップで判定された結果を表示部に表示する表示ステップと、
を含む測定方法。
発明の詳細な説明
【技術分野】
【0001】
本発明は、測定装置および測定方法に関するものであり、特に、O-RAN、広義にはOpen RANを構成する構成機器の試験を行なう測定装置および測定方法に関する。
続きを表示(約 1,800 文字)
【背景技術】
【0002】
5G(5th Generation)などの移動通信システムにおいてRAN(Radio Access Network)を構成する無線ユニット(RU:Radio Unit)、分散ユニット(DU:Distributed Unit)、中央ユニット(CU:Central Unit)は、機器間の通信インタフェースがベンダーによって異なっており、ベンダーの異なる機器を組み合わせてRANを構成することは困難であった。この問題を解消するため、RANを構成要素ごとに分離し、組み合わせて利用できるようにするOpen RANの概念に基づき、近年、機器間の通信インタフェースの仕様を標準化したオープンな無線アクセスネットワークとしてO-RAN(Open Radio Access Network)が推進されている。
【0003】
O-RANに対応する各ベンダーは、O-RANアライアンスにより策定されたO-RAN規格に準拠した機器を開発し、異なるベンダーにより提供されている機器との間で相互接続試験を行う必要があり、通信事業者は、それらの機器を組み合わせて構成されるネットワークの試験を行う必要がある。
【0004】
例えば、O-RANを構成する構成機器(O-RU含む)の試験のためのテストケースを生成することのできる測定装置が開示されている(例えば、特許文献1参照)。テストケースは、テストの実行条件、テスト手順、入力および期待される出力など試験を遂行するための諸条件を指定するものである。
【0005】
また、試験では、必要に応じて、測定対象機器のパラメータ設定やソフトウェア設定など、測定対象機器の設定操作を行う必要がある。
【0006】
具体的には、O-RANでは、基地局は中央ユニット(O-CU)、分散ユニット(O-DU)、無線ユニット(O-RU)により構成され、O-DUとO-RU間のインタフェースはOpen Fronthaul Interfaceと呼ばれ、Open Fronthaul InterfaceにはC/U/S/Mプレーンと呼ばれるプロトコルが含まれる。Mプレーン(管理プレーン)はO-RUのパラメータ設定、ソフトウェア設定、故障診断等の設定機能あるいは管理機能を担っており、ネットワーク管理用通信プロトコルのNETCONF(Network Configuration Protocol)によって実現される。
【0007】
試験において測定対象がO-RUの場合、O-RUを設定するための「設定シーケンスデータ」を、O-DUエミュレータからNETCONFプロトコルに従って管理プレーンインタフェースを介してO-RUに送信して、O-RUの設定あるいは管理を行う。設定シーケンスデータは、NETCONFプロトコルの場合はXML(Extensible Markup Language)形式で生成される。
【0008】
設定シーケンスデータとしてNETCONFのXML形式のファイルを生成するためには、O-RANアライアンス規格に規定されたYANG(Yet Another Next Generation)モデルのモジュール毎のYANGファイルのフォーマットを理解し、YANGファイルで定義されているステートメントに従って設定シーケンスデータをXML形式で記述する必要がある。
【先行技術文献】
【特許文献】
【0009】
特開2023-150092号公報
【発明の概要】
【発明が解決しようとする課題】
【0010】
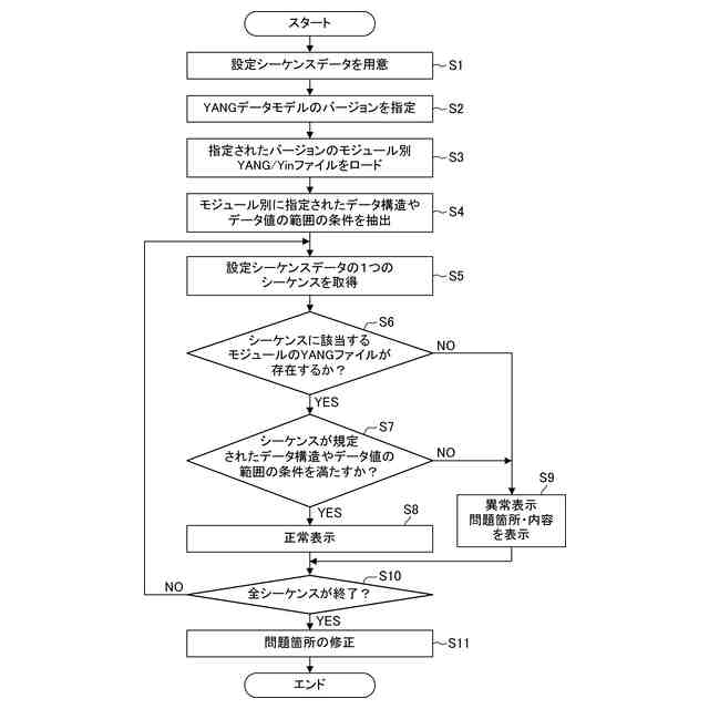
YANGモデルには複数のバージョンが存在する(2024年3月現在、バージョン1.0-バージョン14.0)。バージョンが上がると新しい機能が追加される。古いバージョンのO-RUに合わせて作成した設定シーケンスデータ(設定シーケンスファイル)を新しいバージョンに対応したO-RUで使用すると、機器の設定を正しく行うことができない問題が発生する。また、新しいバージョンに合わせて作成した設定シーケンスデータ(設定シーケンスファイル)を、古いバージョンに対応したO-RUで使用する場合においても、機器の設定を正しく行うことができない問題が発生する。
(【0011】以降は省略されています)
この特許をJ-PlatPat(特許庁公式サイト)で参照する
関連特許
アンリツ株式会社
分光器
1か月前
アンリツ株式会社
分光器
1か月前
アンリツ株式会社
計量装置
6日前
アンリツ株式会社
検査装置
9日前
アンリツ株式会社
物品検査装置
13日前
アンリツ株式会社
物品検査装置
12日前
アンリツ株式会社
物品検査装置
9日前
アンリツ株式会社
物品検査装置
13日前
アンリツ株式会社
測定システム
5日前
アンリツ株式会社
X線管及びX線検査装置
7日前
アンリツ株式会社
測定装置および測定方法
1日前
アンリツ株式会社
測定装置および測定方法
1日前
アンリツ株式会社
予知保全装置及び予知保全方法
5日前
アンリツ株式会社
異物検査装置及び異物検査方法
27日前
アンリツ株式会社
真空管、X線管及びX線検査装置
7日前
アンリツ株式会社
誤り率測定装置及び信号検出方法
9日前
アンリツ株式会社
ADC校正装置およびADC校正方法
9日前
アンリツ株式会社
測定装置と測定システムとその測定方法
1日前
アンリツ株式会社
分光測定装置及びこれを備えた物品検査装置
19日前
アンリツ株式会社
分光測定装置及びこれを備えた物品検査装置
19日前
アンリツ株式会社
分光測定装置及びこれを備えた物品検査装置
12日前
アンリツ株式会社
ハイブリッド回路とそれを備えるバトラーマトリクス
9日前
アンリツ株式会社
伝送線路の交差構造とそれを備えるバトラーマトリクス
9日前
個人
店内配信予約システム
2か月前
サクサ株式会社
中継装置
3か月前
WHISMR合同会社
収音装置
27日前
サクサ株式会社
中継装置
今日
キヤノン株式会社
撮像装置
1か月前
キヤノン株式会社
電子機器
2か月前
アイホン株式会社
電気機器
21日前
株式会社リコー
画像形成装置
2か月前
株式会社リコー
画像形成装置
1か月前
日本精機株式会社
画像投映システム
3か月前
キヤノン電子株式会社
画像読取装置
28日前
個人
ワイヤレスイヤホン対応耳掛け
19日前
株式会社リコー
画像形成装置
1か月前
続きを見る
他の特許を見る