TOP
|
特許
|
意匠
|
商標
特許ウォッチ
Twitter
他の特許を見る
公開番号
2025142882
公報種別
公開特許公報(A)
公開日
2025-10-01
出願番号
2024042480
出願日
2024-03-18
発明の名称
真空管、X線管及びX線検査装置
出願人
アンリツ株式会社
代理人
弁理士法人栄光事務所
主分類
H01J
35/06 20060101AFI20250924BHJP(基本的電気素子)
要約
【課題】部品点数を抑えて低コスト化が可能な真空管、X線管及びそれを備えたX線検査装置を提供する。
【解決手段】真空領域Av内に設けられたフィラメント22から電子を放出する真空管からなるX線管10であって、真空領域Avを形成する真空容器11の一部を構成するセラミックス製のフィラメント支持部21と、フィラメント支持部21に支持されて真空領域Avと外部とに貫通する導電棒であるフィラメント電極31及びウェーネルト電極32と、を備え、フィラメント22は、フィラメント電極31に接続されて通電され、これらのフィラメント電極31及びウェーネルト電極32のうちのウェーネルト電極32は、ネジ孔33からなるネジ構造を有する。
【選択図】図6
特許請求の範囲
【請求項1】
真空領域(Av)内に設けられたフィラメント(22)から電子を放出する真空管(10)であって、
前記真空領域を形成する真空容器(11)の一部を構成する非導電部材(21)と、
前記非導電部材に支持されて前記真空領域と外部とに貫通する少なくとも3本の導電棒(31,32)と、
を備え、
前記フィラメントは、前記導電棒に接続されて通電され、
複数の前記導電棒は、少なくとも1本がネジ構造(33)を有する、
真空管。
続きを表示(約 640 文字)
【請求項2】
ネジ構造を有する前記導電棒には、前記フィラメントから放出される電子を制御するウェーネルト(23)がネジ止めされる、
請求項1に記載の真空管。
【請求項3】
前記ウェーネルトは、前記導電棒にネジ止めされる取付壁部(51)と、前記取付壁部に取り付けられる壁体(55)と、を有し、
前記壁体は、前記フィラメントが収容されるスリット(56)を有し、前記取付壁部に対して変位可能に取り付けられる、
請求項2に記載の真空管。
【請求項4】
ネジ構造を有する前記導電棒とネジ構造のない前記導電棒とに、分子吸着部材(59)の両端の端子(59a)がそれぞれ接続されている、
請求項1に記載の真空管。
【請求項5】
請求項1~4のいずれか一項の真空管において、
前記フィラメントから放出された電子が照射されるターゲット(63)と、
前記ターゲットに電子が照射されて放出されたX線を透過させる窓部(72)と、
を備える、
X線管(10)。
【請求項6】
搬送される被検査物(W)に向けてX線を照射する、請求項5に記載のX線管と、
前記被検査物を透過したX線を検出するX線検出器(82)と、
前記X線検出器によって得られる画像情報に基づいて前記被検査物の検査を行う信号処理部(83)とを備える、
X線検査装置(100)。
発明の詳細な説明
【技術分野】
【0001】
本発明は、真空管、X線管及びX線検査装置に関する。
続きを表示(約 1,500 文字)
【背景技術】
【0002】
容器内を真空状態とした真空管として、特許文献1には、フィラメントから放出される電子を絞る孔部を有するウェーネルトを備えた電子銃が開示されている。
【0003】
また、特許文献2には、金属製の円筒形壁部の一端側がセラミックス製のカラーによってキャップされ、他端側が陽極アセンブリによってキャップされた真空エンクロージャからなる真空容器を備えたX線管が示されている。
【先行技術文献】
【特許文献】
【0004】
特開昭49-17166号公報(第2図)
特表2015-525953号公報
【発明の概要】
【発明が解決しようとする課題】
【0005】
ところで、特許文献1に記載の電子銃では、フィラメントの電極が貫通された絶縁板を介してウェーネルトを当板にネジ止め固定しているため、部品点数が多く、コストが嵩んでしまう。
【0006】
特に、特許文献2に記載のX線管のような金属-セラミック製の真空管では、高精度に形成できるが原材料や製造設備が高価であるため、部品点数を少なくしてコストを抑えることが要求される。
【0007】
そこで本発明は、部品点数を抑えて低コスト化が可能な真空管、X線管及びそれを備えたX線検査装置を提供することを目的とする。
【課題を解決するための手段】
【0008】
本発明は下記構成からなる。
(1) 真空領域内に設けられたフィラメントから電子を放出する真空管であって、
前記真空領域を形成する真空容器の一部を構成する非導電部材と、
前記非導電部材に支持されて前記真空領域と外部とに貫通する少なくとも3本の導電棒と、
を備え、
前記フィラメントは、前記導電棒に接続されて通電され、
複数の前記導電棒は、少なくとも1本がネジ構造を有する、
真空管。
(2) 上記(1)の真空管において、
前記フィラメントから放出された電子が照射されるターゲットと、
前記ターゲットに電子が照射されて放出されたX線を透過させる窓部と、
を備える、
X線管。
(3) 搬送される被検査物(W)に向けてX線を照射する、上記(3)のX線管と、
前記被検査物を透過したX線を検出するX線検出器(82)と、
前記X線検出器によって得られる画像情報に基づいて前記被検査物の検査を行う信号処理部(83)とを備える、
X線検査装置。
【発明の効果】
【0009】
本発明によれば、部品点数を抑えて低コスト化が可能な真空管、X線管及びそれを備えたX線検査装置を提供できる。
【図面の簡単な説明】
【0010】
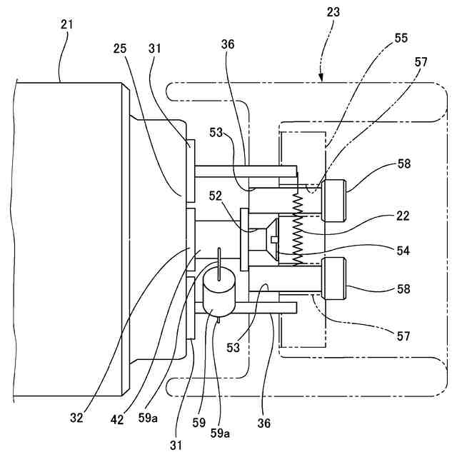
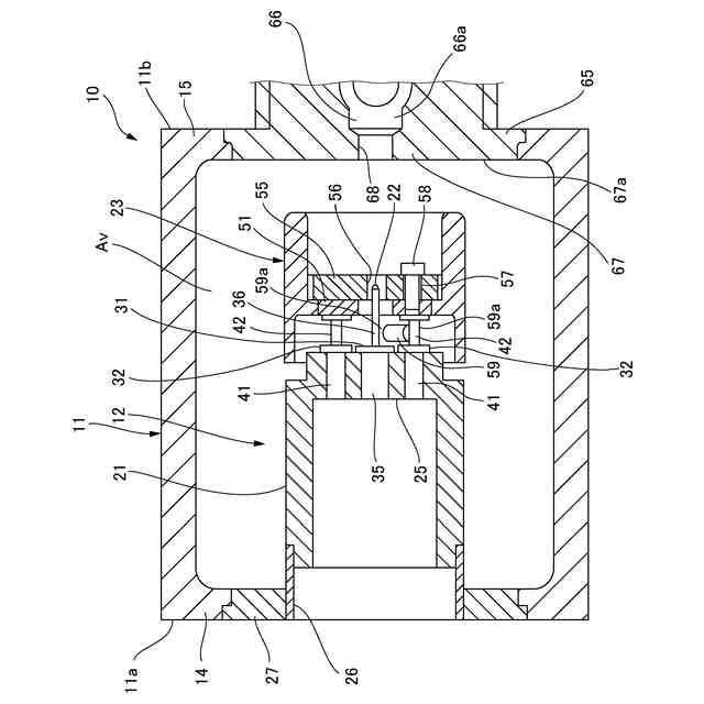
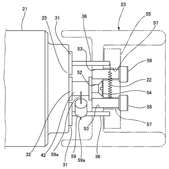
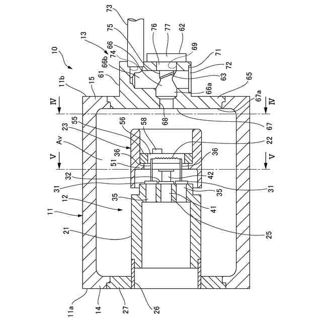
図1は、実施形態に係る真空管の一例であるX線管の軸方向に沿う鉛直方向の断面図である。
図2は、実施形態に係る真空管の一例であるX線管の軸方向に沿う水平方向の断面図である。
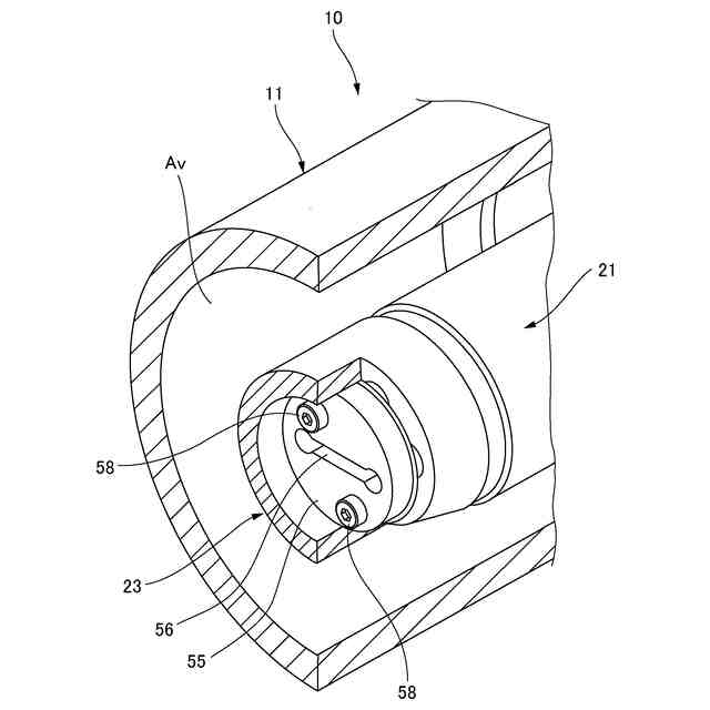
図3は、X線管の一部を破断させた斜視図である。
図4は、図1におけるIV-IV断面図である。
図5は、図1におけるV-V断面図である。
図6は、X線管の陰極構造部の側面図である。
図7は、X線管を備えたX線検査装置の概略構成図である。
【発明を実施するための形態】
(【0011】以降は省略されています)
この特許をJ-PlatPat(特許庁公式サイト)で参照する
関連特許
アンリツ株式会社
計量装置
9日前
アンリツ株式会社
物品検査装置
1日前
アンリツ株式会社
測定システム
8日前
アンリツ株式会社
測定装置および測定方法
4日前
アンリツ株式会社
測定装置および測定方法
4日前
アンリツ株式会社
X線管及びX線検査装置
10日前
アンリツ株式会社
分光器の校正装置及び校正方法
1日前
アンリツ株式会社
信号発生装置及び信号発生方法
2日前
アンリツ株式会社
予知保全装置及び予知保全方法
8日前
アンリツ株式会社
物品検査装置およびその校正方法
1日前
アンリツ株式会社
真空管、X線管及びX線検査装置
10日前
アンリツ株式会社
誤り率測定装置及び信号検出方法
12日前
アンリツ株式会社
誤り率測定装置及び誤り率測定方法
2日前
アンリツ株式会社
測定装置と測定システムとその測定方法
4日前
アンリツ株式会社
ネットワーク測定装置とその遅延時間補正方法
1日前
アンリツ株式会社
信号発生装置および信号発生装置が実行する信号発生方法
2日前
個人
安全なNAS電池
1か月前
東レ株式会社
多孔質炭素シート
1か月前
日本発條株式会社
積層体
12日前
個人
フレキシブル電気化学素子
1日前
ローム株式会社
半導体装置
10日前
ローム株式会社
半導体装置
3日前
ローム株式会社
半導体装置
8日前
ローム株式会社
半導体装置
1か月前
ローム株式会社
半導体装置
10日前
エイブリック株式会社
半導体装置
1か月前
ローム株式会社
半導体装置
10日前
個人
防雪防塵カバー
12日前
エイブリック株式会社
半導体装置
1か月前
株式会社ユーシン
操作装置
1日前
キヤノン株式会社
電子機器
1か月前
株式会社GSユアサ
蓄電設備
1日前
太陽誘電株式会社
全固体電池
8日前
東レ株式会社
ガス拡散層の製造方法
1か月前
株式会社GSユアサ
蓄電装置
12日前
ニチコン株式会社
コンデンサ
24日前
続きを見る
他の特許を見る