TOP
|
特許
|
意匠
|
商標
特許ウォッチ
Twitter
他の特許を見る
公開番号
2025142650
公報種別
公開特許公報(A)
公開日
2025-10-01
出願番号
2024042125
出願日
2024-03-18
発明の名称
光源装置及び投影装置
出願人
カシオ計算機株式会社
代理人
弁理士法人コスモ国際特許事務所
主分類
F21S
2/00 20160101AFI20250924BHJP(照明)
要約
【課題】異なる発光波長のレーザ光を出射する複数の発光素子を1つの発光モジュールに配置した場合であっても、インテグレータ光学系の入射面における光学的な方向に対して入射される複数のレーザ光の入射面での照射光軸の配列方向を傾斜させることによって不規則性を生じさせ、表示素子の入射面での面内照度分布の均一性のバラツキを抑えることができ、投影される投影光に色ムラが生じることを抑制できる光源装置及び投影装置を提供する。
【解決手段】光源装置30は、複数の発光素子46R、46B、46Gが列状に配列された発光部44を含む発光モジュール40と、入射面にマトリクス状に配列された複数のマイクロレンズ52を含むマイクロレンズアレイ50と、を備え、入射面において、複数の発光素子46R、46B、46Gから出射されたレーザ光の複数の入射点の並び方向が複数のマイクロレンズ52の配列方向に対して傾斜するように配置されている。
【選択図】図2
特許請求の範囲
【請求項1】
発光波長が互いに異なるレーザ光を出射する複数の発光素子が列状に配列された発光部を含む発光モジュールと、
前記複数の発光素子から出射された前記レーザ光が入射される入射面にマトリクス状に配列された複数のレンズを含むインテグレータ光学系と、を備え、
前記入射面において、前記複数の発光素子から出射された前記レーザ光の複数の入射点の並び方向が前記複数のレンズの配列方向に対して傾斜するように配置されている、
光源装置。
続きを表示(約 890 文字)
【請求項2】
前記発光モジュールは、前記入射面において隣り合う前記複数の入射点の間隔が隣り合う前記複数のレンズの間隔の整数倍とならないように配置されている、
請求項1に記載の光源装置。
【請求項3】
前記複数の発光素子から出射される前記レーザ光を前記インテグレータ光学系側に反射する反射面を含む反射部材を備え、
前記発光モジュールは、前記複数の発光素子から出射される前記レーザ光の出射方向が前記複数のレンズの主軸に対して略直交するように配置されている、
請求項1に記載の光源装置。
【請求項4】
前記発光モジュールは、前記複数の発光素子の配列方向が前記複数のレンズの配列方向に対して傾斜するように配置されている、
請求項3に記載の光源装置。
【請求項5】
前記反射部材は、前記反射面が前記複数のレンズの配列方向に対して傾斜するように配置されている、
請求項3に記載の光源装置。
【請求項6】
前記発光モジュールを複数備え、
対となる2つの前記発光モジュールは、前記複数のレンズの主軸に沿った方向に並列配置されている、
請求項1に記載の光源装置。
【請求項7】
前記発光モジュールを複数備え、
対となる2つの前記発光モジュールは、該2つの前記発光モジュールから出射された前記レーザ光の光軸が前記複数のレンズの主軸に対して傾斜するとともに前記主軸を挟んで対称となるような角度で前記入射面に入射するように配置されている、
請求項1に記載の光源装置。
【請求項8】
請求項1~7のいずれか1項に記載の光源装置と、
画像光を生成する表示素子と、
前記表示素子から出射された前記画像光を被投影体に投影する投影光学系と、
前記光源装置と前記表示素子とを制御する制御部と、を備え、
前記インテグレータ光学系から出射された前記レーザ光は、前記表示素子に入射する、
投影装置。
発明の詳細な説明
【技術分野】
【0001】
本発明は、光源装置及び投影装置に関する。
続きを表示(約 2,600 文字)
【背景技術】
【0002】
従来、投影装置等に設けられる光源装置として、レーザ光を出力する発光素子から出射されたレーザ光をマイクロレンズアレイ等のインテグレータ光学系に入射させ、表示素子の入射面の面内照度の均一性を高めるものが知られている。例えば特許文献1には、筐体と、青色光を出射する半導体レーザと、半導体レーザから出射された青色光が入射する集光レンズと、集光レンズで集光された青色光が入射されることで緑色光及び赤色光を発する蛍光板ホイールと、を備える光源装置が開示されている。
【先行技術文献】
【特許文献】
【0003】
特開2016-51072号公報
【発明の概要】
【発明が解決しようとする課題】
【0004】
光源装置を備える投影装置では、異なる発光波長のレーザ光を出射する複数の発光素子を1つの発光モジュールに配置することにより、上記のような蛍光板ホイールを別途設けることなく、被投影体上にフルカラー画像を投影表示させることができる。しかしながら、上記特許文献1に開示されるような光源装置において、異なる発光波長のレーザ光を出射する複数の半導体レーザを1つの発光モジュールに配置した場合、光束の利用効率を向上させるため複数の半導体レーザから出射された光束を最低限の拡散に留めた状態でインテグレータ光学系の1つであるマイクロレンズアレイに入射させる。このような構成にした場合に、マイクロレンズアレイを構成する各レンズがマトリクス状に配置され、その配置された方向に発光モジュールの異なる発光波長のレーザ光を出射する複数の発光素子の配列の方向が一致すると規則性が生じるため、光源装置ごとにインテグレータ光学系によって表示素子の入射面での面内照度分布の均一性のバラツキが生じる。その結果、投影された投影光に色ムラが発生し易くなるという問題があった。
【0005】
本発明は、以上の点に鑑み、異なる発光波長のレーザ光を出射する複数の発光素子を1つの発光モジュールに配置した場合であっても、インテグレータ光学系の入射面における光学的な方向に対して入射される複数のレーザ光の入射面での照射光軸の配列方向を傾斜させることによって不規則性を生じさせ、表示素子の入射面での面内照度分布の均一性のバラツキを抑えることができ、投影される投影光に色ムラが生じることを抑制できる光源装置及び投影装置を提供することを目的とする。
【課題を解決するための手段】
【0006】
本発明の光源装置は、発光波長が互いに異なるレーザ光を出射する複数の発光素子が列状に配列された発光部を含む発光モジュールと、前記複数の発光素子から出射された前記レーザ光が入射される入射面にマトリクス状に配列された複数のレンズを含むインテグレータ光学系と、を備え、前記入射面において、前記複数の発光素子から出射された前記レーザ光の複数の入射点の並び方向が前記複数のレンズの配列方向に対して傾斜するように配置されている。
【0007】
本発明の投影装置は、上記の光源装置と、画像光を生成する表示素子と、前記表示素子から出射された前記画像光を被投影体に投影する投影光学系と、前記光源装置と前記表示素子とを制御する制御部と、を備え、前記インテグレータ光学系から出射した前記レーザ光は、前記表示素子に入射する。
【発明の効果】
【0008】
本発明によれば、異なる発光波長のレーザ光を出射する複数の発光素子を1つの発光モジュールに配置した場合であっても、インテグレータ光学系の入射面における光学的な方向に対して入射される複数のレーザ光の入射面での照射光軸の配列方向を傾斜させることによって不規則性を生じさせ、表示素子の入射面での面内照度分布の均一性のバラツキを抑えることができ、投影される投影光に色ムラが生じることを抑制できる光源装置及び投影装置を提供することができる。
【図面の簡単な説明】
【0009】
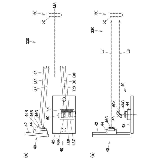
第1実施形態に係る光源装置を備える投影装置の概略構成を示す平面模式図である。
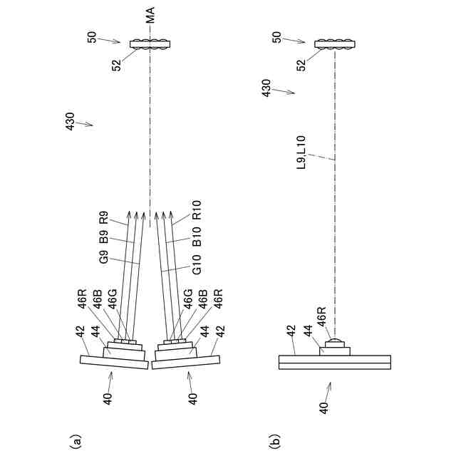
(a)は、第1実施形態に係る光源装置におけるレーザ光の出射態様を示す平面模式図であり、(b)は、第1実施形態に係る光源装置におけるレーザ光の出射態様を示す右側面模式図である。
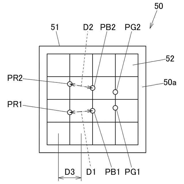
マイクロレンズアレイの入射面における各入射ポイントを模式的に示す正面図である。
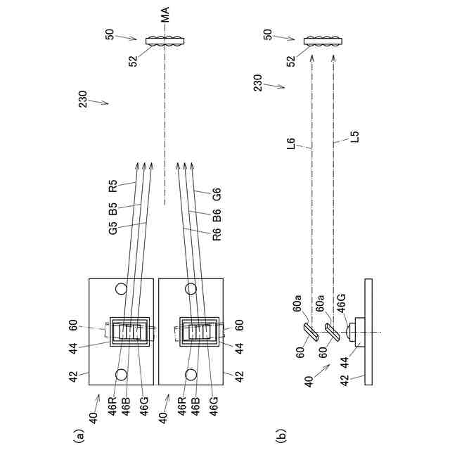
(a)は、第2実施形態に係る光源装置におけるレーザ光の出射態様を示す平面模式図であり、(b)は、第2実施形態に係る光源装置におけるレーザ光の出射態様を示す右側面模式図である。
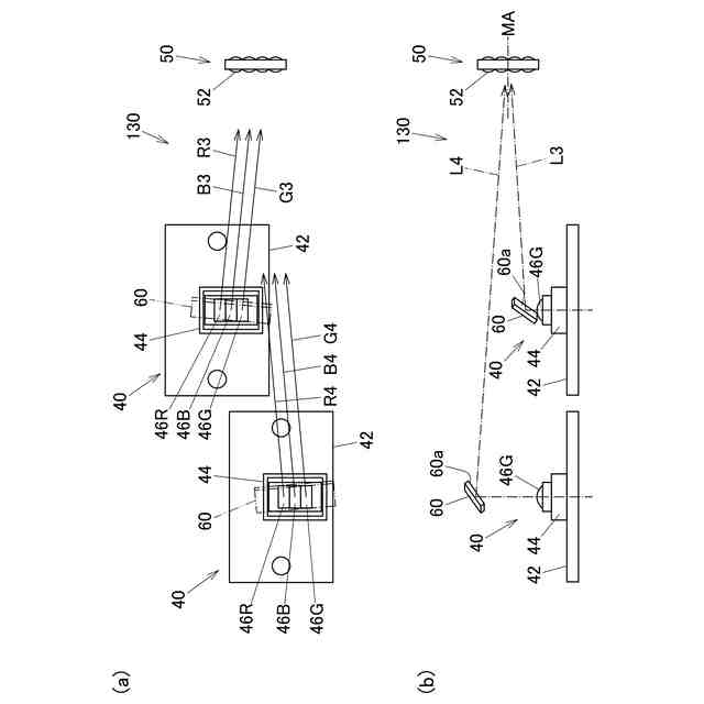
(a)は、第3実施形態に係る光源装置におけるレーザ光の出射態様を示す平面模式図であり、(b)は、第3実施形態に係る光源装置におけるレーザ光の出射態様を示す右側面模式図である。
(a)は、第4実施形態に係る光源装置におけるレーザ光の出射態様を示す平面模式図であり、(b)は、第4実施形態に係る光源装置におけるレーザ光の出射態様を示す右側面模式図である。
(a)は、第5実施形態に係る光源装置におけるレーザ光の出射態様を示す平面模式図であり、(b)は、第5実施形態に係る光源装置におけるレーザ光の出射態様を示す右側面模式図である。
【発明を実施するための形態】
【0010】
以下、図1~図3を参照して本発明の第1実施形態について説明する。図1に示すように、本実施形態に係る投影装置10は、筐体20と、筐体20の内部に設けられた光源装置30と、照射ミラー22と、画像表示素子(表示素子)24と、レンズ鏡筒(投影光学系)26と、投影装置10の電気的構成を制御統括するための制御回路基板(制御部)28と、を備えている。光源装置30は、レーザ光を出射する2つの発光モジュール40,40と、マイクロレンズアレイ(インテグレータ光学系)50と、2つの反射ミラー(反射部材)60,60と、を備えている。なお、筐体20の内部には、図示はしないが、ヒートシンク、冷却ファン等の公知の投影装置が備える各種部材が設けられている。
(【0011】以降は省略されています)
この特許をJ-PlatPat(特許庁公式サイト)で参照する
関連特許
個人
車載機器の通気構造
1か月前
株式会社遠藤照明
照明装置
21日前
能美防災株式会社
表示灯
1か月前
株式会社小糸製作所
車両用灯具
3日前
株式会社小糸製作所
車両用灯具
3日前
株式会社小糸製作所
誘導装置
14日前
スタンレー電気株式会社
照射用光源
7日前
株式会社小糸製作所
投光装置
1か月前
フルトラム株式会社
光学機器
2日前
株式会社小糸製作所
投光装置
1か月前
株式会社小糸製作所
表示用灯具
7日前
株式会社小糸製作所
表示用灯具
7日前
株式会社北井地所
照明装置
14日前
スタンレー電気株式会社
照明装置
7日前
株式会社ユーシン
表示・照明装置
3日前
株式会社小糸製作所
車両用前照灯
14日前
株式会社ルミカ
発光具
1か月前
スタンレー電気株式会社
車両用灯具
7日前
株式会社小糸製作所
車両用前照灯ユニット
15日前
ネグロス電工株式会社
取付金具
1日前
ニチレイマグネット株式会社
磁着式電飾装置
21日前
東芝ライテック株式会社
照明装置
11日前
瀚宇彩晶股ふん有限公司
光源モジュール
11日前
能美防災株式会社
携帯型電灯
7日前
東芝ライテック株式会社
照明装置
11日前
東芝ライテック株式会社
照明装置
14日前
東芝ライテック株式会社
照明装置
1日前
クロイ電機株式会社
表示装置
11日前
東芝ライテック株式会社
航空障害灯
3日前
株式会社小糸製作所
車両用灯具
1日前
株式会社小糸製作所
車両用灯具
1か月前
株式会社小糸製作所
誘導装置及び誘導システム
14日前
株式会社小糸製作所
照明装置
1か月前
シャープ株式会社
照明装置及び表示装置
1か月前
株式会社ジェイダブルシステム
発光装置
1日前
株式会社小糸製作所
照明装置
1か月前
続きを見る
他の特許を見る