TOP
|
特許
|
意匠
|
商標
特許ウォッチ
Twitter
他の特許を見る
公開番号
2025151008
公報種別
公開特許公報(A)
公開日
2025-10-09
出願番号
2024052212
出願日
2024-03-27
発明の名称
照明装置
出願人
東芝ライテック株式会社
代理人
個人
,
個人
主分類
F21V
17/00 20060101AFI20251002BHJP(照明)
要約
【課題】カバーの温度変化による長手方向の寸法変位に対応できる照明装置を提供する。
【解決手段】照明装置10は、長尺な器具本体11と、取付部材28と、長尺なカバー13とを備える。取付部材28は、器具本体11の長手方向の端部に、器具本体11の長手方向に沿って移動可能に取り付けられる。カバー13は、器具本体11を覆って取付部材28に取り付けられる。
【選択図】図2
特許請求の範囲
【請求項1】
長尺な器具本体と;
前記器具本体の長手方向の端部に、前記器具本体の長手方向に沿って移動可能に取り付けられる取付部材と;
前記器具本体を覆って前記取付部材に取り付けられる長尺なカバーと;
を備えることを特徴とする照明装置。
続きを表示(約 370 文字)
【請求項2】
前記器具本体または前記取付部材のいずれか一方の部材は、前記器具本体の長手方向に沿って長い長孔を有し、
前記長孔を挿通するねじにより前記取付部材が前記器具本体に取り付けられている
ことを特徴とする請求項1に記載の照明装置。
【請求項3】
前記ねじは、頭部と、この頭部から突出され、前記長孔に挿通される軸部と、この軸部の先端側に設けられ、前記器具本体または前記取付部材のいずれか前記一方の部材とは異なる他方の部材に螺合されるねじ部とを有し、前記軸部の長さが前記一方の部材の板厚寸法よりも長い
ことを特徴とする請求項2に記載の照明装置。
【請求項4】
前記一方の部材と前記ねじの頭部との間に配置される摺動部材を備える
ことを特徴とする請求項2または3に記載の照明装置。
発明の詳細な説明
【技術分野】
【0001】
本発明の実施形態は、照明装置に関する。
続きを表示(約 1,100 文字)
【背景技術】
【0002】
従来、金属製の長尺な器具本体を樹脂製の長尺なカバーで覆い、カバーの長手方向の両端部を器具本体にねじ止めして取り付ける照明装置がある。カバーは、器具本体に比べて、線膨脹係数が大きく、温度変化により長手方向の寸法の変化が大きい。そのため、カバーの温度変化による長手方向の寸法変位に対応することが望まれる。
【先行技術文献】
【特許文献】
【0003】
特開2005-235398号公報
【発明の概要】
【発明が解決しようとする課題】
【0004】
本発明が解決しようとする課題は、カバーの温度変化による長手方向の寸法変位に対応できる照明装置を提供することにある。
【課題を解決するための手段】
【0005】
実施形態の照明装置は、長尺な器具本体と、取付部材と、長尺なカバーとを備える。取付部材は、器具本体の長手方向の端部に、器具本体の長手方向に沿って移動可能に取り付けられる。カバーは、器具本体を覆って取付部材に取り付けられる。
【発明の効果】
【0006】
実施形態によれば、カバーの温度変化による長手方向の寸法変位に対応することが期待できる。
【図面の簡単な説明】
【0007】
一実施形態を示す照明装置の斜視図である。
同上照明装置の分解斜視図である。
同上照明装置の背面図である。
同上照明装置のカバーの取付構造を示す側面図である。
同上照明装置のカバーの取付構造を示す断面図である。
【発明を実施するための形態】
【0008】
以下、一実施形態を、図面を参照して説明する。
【0009】
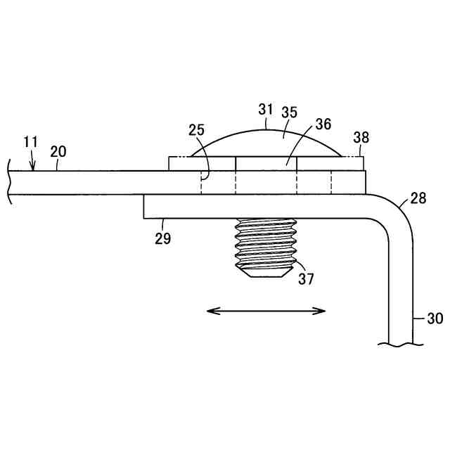
図1ないし図3に示すように、照明装置10は、長尺で、天井面または壁面等の設置面に設置される防湿・防雨形照明装置である。照明装置10は、器具本体11と、この器具本体11に取り付けられた光源12と、この光源12を覆って器具本体11に取り付けられるカバー(透光性カバー)13とを備えている。照明装置10は、光源12自体が防湿・防雨構造を備えており、この光源12を用いることで器具本体11とカバー13との間等には防湿・防雨構造は採られていない。
【0010】
器具本体11は、例えば金属板にて長尺に形成されている。器具本体11は、長方形で平板状の本体部20と、この本体部20の長手方向に交差する短手方向の両側に設けられた側縁部21とを有している。
(【0011】以降は省略されています)
この特許をJ-PlatPat(特許庁公式サイト)で参照する
関連特許
他の特許を見る