TOP
|
特許
|
意匠
|
商標
特許ウォッチ
Twitter
他の特許を見る
公開番号
2025142535
公報種別
公開特許公報(A)
公開日
2025-10-01
出願番号
2024041955
出願日
2024-03-18
発明の名称
コンバータ制御装置
出願人
山洋電気株式会社
代理人
弁理士法人信栄事務所
主分類
H02M
7/12 20060101AFI20250924BHJP(電力の発電,変換,配電)
要約
【課題】コンバータの半導体スイッチング素子のスイッチング損失、及び、ACリアクトルの電圧降下による損失の増加を抑制し、力行動作時のコンバータの直流電圧の低下を抑制し、モータの出力トルクの低減を抑制するコンバータ制御装置を提供する。
【解決手段】コンバータ制御装置1は、三相交流電源100からの交流電力を直流電力に変換するコンバータ回路2と、コンバータ回路2のスイッチングを制御するコンバータ制御部10と、三相交流電源100とコンバータ回路2の間に配置されるACリアクトルACLと、を備える。コンバータ制御部10は、電流指令とコンバータ回路2の直流電流との差分から通電指令を生成する電流制御器41と、ゲート制御器42と、を有する。
【選択図】図1
特許請求の範囲
【請求項1】
コンバータ制御装置であって、
三相交流電源からの交流電力を直流電力に変換するコンバータ回路と、
前記コンバータ回路のスイッチングを制御するコンバータ制御部と、
前記三相交流電源と前記コンバータ回路の間に配置されるACリアクトルと、
を備え、
前記コンバータ制御部は、
電流指令と前記コンバータ回路の直流電流との差分から通電指令を生成する電流制御器と、
ゲート制御器と、
を有し、
前記電流制御器は、前記差分が第1閾値以上になった場合、前記通電指令をオンに制御し、前記差分が前記第1閾値より低い第2閾値以下となった場合、前記通電指令をオフに制御するヒステリシス特性を有し、
前記ゲート制御器は、前記三相交流電源のうち電圧が最大となる相の120°区間において、前記コンバータ回路の下側のスイッチング半導体を、前記通電指令に基づいて制御することを特徴とする、コンバータ制御装置。
続きを表示(約 420 文字)
【請求項2】
前記コンバータ制御部は、前記直流電流を取得する直流電流取得部をさらに有し、
前記直流電流取得部は、直流電流推定部、又は、直流電流検出器から構成される、請求項1に記載のコンバータ制御装置。
【請求項3】
前記直流電流推定部は、前記三相交流電源のうち電圧が最大となる相の位相、及び、最小となる相の位相を検出し、検出された前記位相に基づいて前記三相交流電源のいずれかの相の電流を選択して前記直流電流を推定する、請求項2に記載のコンバータ制御装置。
【請求項4】
前記コンバータ制御部は、電圧制御部をさらに有し、
前記電圧制御部は、電圧指令と前記直流電力の直流電圧との差分から前記電流指令を生成する、請求項1に記載のコンバータ制御装置。
【請求項5】
前記電圧指令は、前記三相交流電源の電圧波高値に基づいて設定される値である、請求項4に記載のコンバータ制御装置。
発明の詳細な説明
【技術分野】
【0001】
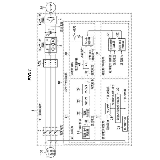
本発明は、コンバータ制御装置に関する。
続きを表示(約 2,800 文字)
【背景技術】
【0002】
電源回生機能付きモータ制御装置は、ACリアクトルと、コンバータと、平滑コンデンサとインバータから構成される。モータの力行運転を行う場合は、コンバータにより交流電力を直流電力に変換し、インバータにより直流電力を交流電力に変換し、モータを駆動する。モータの回生運転を行う場合は、モータが発電する交流電力をインバータにより直流電力に変換し、コンバータにより直流電力を交流電力に変換し、電源に回生する。
【0003】
電源回生用のコンバータには、コスト面から120°通電方式の電源回生が多く採用されている。120°通電方式の電源回生では、直流部の電圧が電源電圧の全波整流電圧の波高値より所定電圧だけ高い場合、回生動作を行い、三相交流電源のうち電圧が最大となる相の120°区間、および三相交流電源のうち電圧が最小となる相の120°区間において、各相のコンバータの上の相の半導体スイッチング素子、および下の相の半導体スイッチング素子をオンして、電源に電流を回生する。また、モータの力行動作時では、コンバータの上の相の半導体スイッチング素子、および下の相の半導体スイッチング素子をオフして、ダイオードによる全波整流を行う。
【0004】
電源回生機能を有さないコンバータ制御装置には、ACリアクトルが設けられておらず、コンバータはダイオードで構成されており、モータの力行動作時にはダイオードによる全波整流を行う。これに対して、電源回生機能付きコンバータ制御装置には、ACリアクトルが設けられているため、モータの力行動作時の直流電圧はACリアクトルの電圧降下により電圧が下がる。図5に、従来技術にかかる電源回生機能付きコンバータ制御装置において、モータを加速させた時の直流電圧のグラフを示す。図5の下段に示すように、モータ駆動前の直流電圧が、モータの加速に伴って280Vから250V程度まで低減している。このため、モータ加速時に直流電圧が低くなると、インバータから出力される電圧も低くなり、モータから出力されるトルクが低下し、加速時間が延びるという課題がある。
【0005】
例えば、特許文献1には、交流電圧を直流電圧に変換するコンバータと直流電圧の検出値が直流電圧の目標値を下回る場合に目標値まで直流電圧を昇圧させるコンバータ制御部、力行検出手段からの力行状態検出信号、回転数検出手段からの回転数超過検出信号、トルク検出手段からのトルク超過検出信号が全て入力された場合に、コンバータ制御部に昇圧指令を送る昇圧指令手段とを備え、直流電圧をインバータに供給し、位置指令及び位置検出値から演算されたトルク指令に基づいてインバータの動作を制御することでモータを制御し、コンバータ制御部は、昇圧指令が入力された場合に、直流電圧を昇圧基準電源の電圧まで昇圧させるモータ制御装置が開示されている。
【先行技術文献】
【特許文献】
【0006】
特開2000-287474号公報
【発明の概要】
【発明が解決しようとする課題】
【0007】
特許文献1に開示されているモータ制御装置では、PWMコンバータを用いてモータの動作状態を判別し、昇圧指令を与えて直流電圧を昇圧基準電圧まで昇圧し、モータを駆動している。このようなPWMコンバータでは、昇圧指令と直流電圧の差に応じた電流指令を出力し、電流指令と電流検出値との差を増幅器で増幅して、PWM制御で電流を制御している。しかしながら、上記構成において、モータの急峻な加速に対応して直流電圧を制御するためには、高い電圧制御応答が必要になる。そのため、電圧制御応答の数倍の電流制御応答が必要となり、電流制御応答より数倍高いPWM周波数が必要となる。PWM制御では、電流偏差を増幅してパルス幅変調して、オンとオフの平均的なデューティ比によりACリアクトルに電圧を印加して電流を流すため、電流制御応答を高めるためにはPWM周波数を高くする必要がある。特許文献1では、高いPWM周波数による半導体スイッチング素子のスイッチング損失を低減するため、モータが高速で回転し、出力されるトルクが大きい状態を判別し、昇圧指令を与えて昇圧時間を短縮する。しかしながら、主軸モータのように、弱め界磁領域が広く定出力範囲が広いモータでは、モータの加速中の昇圧時間が長くなるため、十分な損失低減効果が得られない課題がある。また、PWM周波数を高くすると、ACリアクトルでの損失が増加するという課題もある。
【0008】
そこで、本発明は、コンバータの半導体スイッチング素子のスイッチング損失、及び、スイッチングに伴うACリアクトルの損失の増加を抑制し、力行動作時の直流電圧の低下を抑制し、モータの出力トルクの低減を抑制するコンバータ制御装置を提供することを目的とする。
【課題を解決するための手段】
【0009】
本発明の一側面に係るコンバータ制御装置は、
三相交流電源からの交流電力を直流電力に変換するコンバータ回路と、
前記コンバータ回路のスイッチングを制御するコンバータ制御部と、
前記三相交流電源と前記コンバータ回路の間に配置されるACリアクトルと、
を備え、
前記コンバータ制御部は、
電流指令と前記コンバータ回路の直流電流との差分から通電指令を生成する電流制御器と、
ゲート制御器と、
を有し、
前記電流制御器は、前記差分が第1閾値以上になった場合、前記通電指令をオンに制御し、前記差分が前記第1閾値より低い第2閾値以下となった場合、前記通電指令をオフに制御するヒステリシス特性を有し、
前記ゲート制御器は、前記三相交流電源のうち電圧が最大となる相の120°区間において、前記コンバータ回路の下側のスイッチング半導体を、前記通電指令に基づいて制御する。
【発明の効果】
【0010】
コンバータ回路から平滑コンデンサに流れる直流電流を推定し、ヒステリシスコンパレータを用いて電流制御系を構築して、直流電流の瞬時値に基づきコンバータ回路の半導体スイッチング素子を直接制御した。また、力行動作時に平滑コンデンサの直流電圧を電源電圧波高値に制御する電圧制御系を構築して、平滑コンデンサの直流電圧が一定になるようにした。これにより、直流電流を検出する電流検出器を必要とせず、スイッチング周波数を低くして、コストアップやスイッチング損失を抑制し、力行動作時の直流電圧の低下を抑制し、モータの出力トルクの低減を抑制できるコンバータ制御装置を提供することができる。
【図面の簡単な説明】
(【0011】以降は省略されています)
この特許をJ-PlatPat(特許庁公式サイト)で参照する
関連特許
山洋電気株式会社
モータ
23日前
山洋電気株式会社
コンバータ制御装置
1か月前
国立大学法人信州大学
モータ用コイル基板
12日前
個人
単極モータ
1か月前
個人
電気を重力で発電装置
10日前
キヤノン電子株式会社
モータ
9日前
キヤノン電子株式会社
モータ
17日前
株式会社アイシン
ロータ
1か月前
株式会社アイシン
ロータ
1か月前
日星電気株式会社
ケーブル組立体
25日前
コーセル株式会社
電源装置
18日前
トヨタ自動車株式会社
固定子
1か月前
トヨタ自動車株式会社
モータ
9日前
株式会社デンソー
回転機
1か月前
トヨタ自動車株式会社
製造装置
1か月前
株式会社アイシン
ステータ
1か月前
株式会社ダイヘン
充電装置
1か月前
株式会社ダイヘン
充電装置
1か月前
株式会社アイシン
ステータ
1か月前
株式会社ダイヘン
充電装置
1か月前
株式会社ダイヘン
充電装置
1か月前
株式会社アイシン
ステータ
1か月前
株式会社アイシン
ステータ
1か月前
個人
二次電池繰返パルス放電器用印刷基板
23日前
株式会社kaisei
発電システム
1か月前
株式会社デンソー
電力変換装置
24日前
株式会社デンソー
電力変換装置
1か月前
株式会社ミツバ
回転電機
1か月前
株式会社ミツバ
回転電機
1か月前
トヨタ自動車株式会社
固定子の加熱装置
20日前
シャープ株式会社
表示装置
1か月前
株式会社デンソー
非接触受電装置
26日前
株式会社ダイヘン
インバータ装置
1か月前
トヨタ自動車株式会社
ステータの製造装置
10日前
日産自動車株式会社
ロータシャフト
4日前
日産自動車株式会社
ロータシャフト
4日前
続きを見る
他の特許を見る