TOP
|
特許
|
意匠
|
商標
特許ウォッチ
Twitter
他の特許を見る
公開番号
2025141700
公報種別
公開特許公報(A)
公開日
2025-09-29
出願番号
2024041754
出願日
2024-03-15
発明の名称
洗車装置および洗車システム
出願人
エムケー精工株式会社
代理人
主分類
B60S
3/06 20060101AFI20250919BHJP(車両一般)
要約
【課題】多様な車両を効果的に洗浄する。
【解決手段】
車両Cを洗浄する車両洗浄手段(例えばトップブラシ30やサイドブラシ31)と、車両識別手段56と、制御部50と、車両Cごとの洗浄手順が記録されたデータベース61と、該データベース61を記憶する記憶部60を備え、前記制御部50は、洗浄される前記車両Cを前記車両識別手段56により識別し、識別された前記車両Cを洗浄するための前記洗浄手順に基づき前記車両Cを洗浄する。
【選択図】図1
特許請求の範囲
【請求項1】
車両を洗浄する車両洗浄手段と、
車両識別手段と、
制御部と、
車両ごとの洗浄手順が記録されたデータベースと、該データベースを記憶する記憶部を備え、
前記制御部は、
洗浄される前記車両を前記車両識別手段により識別し、
識別された前記車両を洗浄するための前記洗浄手順に基づき前記車両を洗浄する
ことを特徴とする洗車装置。
続きを表示(約 470 文字)
【請求項2】
前記車両識別手段は、洗浄される前記車両を一意に識別する
ことを特徴とする請求項1に記載の洗車装置。
【請求項3】
前記制御部は、
洗浄される前記車両を前記車両識別手段により識別し、
識別された前記車両を洗浄するための前記洗浄手順を前記車両洗浄手段の状態に応じて補正し、
補正後の前記洗浄手順に基づき前記車両を洗浄する
ことを特徴とする請求項1または2に記載の洗車装置。
【請求項4】
サーバと、洗車装置と、車両識別手段を有する洗車システムであって、
前記サーバは、サーバ制御部と、車両ごとの洗浄手順が記録されたデータベースと、該データベースを記憶するサーバ記憶部を備え、
前記洗車装置は、車両を洗浄する車両洗浄手段と、洗車装置制御部を備え、
前記車両識別手段は、洗浄される前記車両を識別し、
前記洗車装置は、識別された前記車両を洗浄するための前記洗浄手順に基づき前記車両を洗浄する
ことを特徴とする洗車システム。
発明の詳細な説明
【技術分野】
【0001】
本発明は、洗車装置および洗車システムに関する。
続きを表示(約 1,600 文字)
【背景技術】
【0002】
特開2009-269419号(以下、特許文献1とする)には、カスタムミラー検出装置および同装置を備えた洗車装置が記載されている。特許文献1に開示されている洗車装置は車形検出手段とブラッシング装置を備え、車形検出して得られた車形データに基づきブラッシング装置を出退駆動し、車両を洗浄する。この際、車両の先端位置付近をカスタムミラー等の突出物取り付け範囲とし、その範囲内における突出物の有無を車形データから判断する。
【先行技術文献】
【特許文献】
【0003】
特開2009-269419号公報
【発明の概要】
【発明が解決しようとする課題】
【0004】
昨今、自動運転車両の実用化が進んでいる。自動運転車両はセンサから周囲の情報を得て自動走行することから、車体に取り付けられるセンサの形状や個数、位置は様々である。そのため、先端位置付近に突出物を有する車両に限らず、多様な車両を効果的に洗浄可能な手段が求められている。
【0005】
本発明の一目的は、多様な車両を効果的に洗浄することにある。
【課題を解決するための手段】
【0006】
本発明の一解決手段に係る洗車装置は、車両を洗浄する車両洗浄手段と、車両識別手段と、制御部と、車両ごとの洗浄手順が記録されたデータベースと、該データベースを記憶する記憶部を備え、前記制御部は、洗浄される前記車両を前記車両識別手段により識別し、識別された前記車両を洗浄するための前記洗浄手順に基づき前記車両を洗浄することを一特徴とする。
【0007】
本発明の他の解決手段に係る洗車システムは、サーバと、洗車装置と、車両識別手段を有する洗車システムであって、前記サーバは、サーバ制御部と、車両ごとの洗浄手順が記録されたデータベースと、該データベースを記憶するサーバ記憶部を備え、前記洗車装置は、車両を洗浄する車両洗浄手段と、洗車装置制御部を備え、前記車両識別手段は、洗浄される前記車両を識別し、前記洗車装置は、識別された前記車両を洗浄するための前記洗浄手順に基づき前記車両を洗浄することを一特徴とする。
【発明の効果】
【0008】
本発明の一解決手段によれば、多様な車両を効果的に洗浄することができる。
【図面の簡単な説明】
【0009】
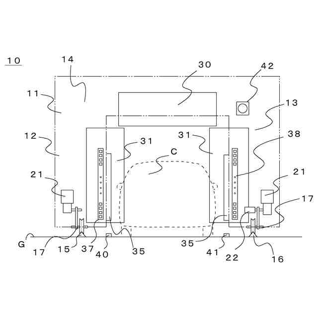
本発明の一実施形態に係る洗車装置10の正面図である。
洗車装置10の側面図である。
洗車装置10の制御系を示す構成図である。
車形データ作成機能54が作成する車形データの一例を示す図である。
洗車装置10の洗浄処理の流れの一例を示すフロー図である。
本発明の他の実施形態に係る洗車システム100の構成図である。
洗車システム100の洗浄処理開始までの流れの一例を示すフロー図である。
洗車装置10の洗浄処理の流れの他の一例を示すフロー図である。
【発明を実施するための最良の形態】
【0010】
以下の本発明における実施形態では、必要な場合に複数のセクションなどに分けて説明するが、原則、それらは互いに無関係ではなく、一方は他方の一部または全部の変形例、詳細などの関係にある。このため、全図において、同一の機能を有する部材には同一の符号を付し、その繰り返しの説明は省略する。また、構成要素の数(個数、数値、量、範囲などを含む)については、特に明示した場合や原理的に明らかに特定の数に限定される場合などを除き、その特定の数に限定されるものではなく、特定の数以上でも以下でもよい。また、構成要素などの形状に言及するときは、特に明示した場合および原理的に明らかにそうではないと考えられる場合などを除き、実質的にその形状などに近似または類似するものなどを含むものとする。
(【0011】以降は省略されています)
この特許をJ-PlatPat(特許庁公式サイト)で参照する
関連特許
個人
上部一体型自動車
1か月前
個人
空間形成装置
23日前
日本精機株式会社
照明装置
18日前
個人
マスタシリンダ
1か月前
個人
常設収納型サンバイザー
29日前
日本精機株式会社
画像投映装置
1か月前
個人
回転窓ワイパー装置
23日前
株式会社豊田自動織機
産業車両
18日前
日本精機株式会社
車載表示装置
24日前
日本精機株式会社
車載表示装置
26日前
日本精機株式会社
車載表示装置
1か月前
日本精機株式会社
車載表示装置
2か月前
井関農機株式会社
作業車両
2か月前
個人
音による速度計とプログラム
29日前
日本精機株式会社
車両用投影装置
2か月前
日本精機株式会社
車両用報知装置
1か月前
日本精機株式会社
車両用投射装置
1か月前
株式会社SUBARU
車両
1か月前
日本精機株式会社
車両用表示装置
1か月前
日産自動車株式会社
伝動部材
1か月前
日本化薬株式会社
ガス発生器
1か月前
日本化薬株式会社
ガス発生器
16日前
エムケー精工株式会社
車両処理装置
1か月前
日本化薬株式会社
ガス発生器
1か月前
トヨタ自動車株式会社
制御装置
1か月前
株式会社SUBARU
車体構造
1か月前
株式会社小糸製作所
車両用灯具
1か月前
株式会社アイシン
空気袋
1か月前
豊田合成株式会社
乗員保護装置
1か月前
トヨタ自動車株式会社
電動車両
1か月前
極東開発工業株式会社
タンク車
1か月前
株式会社ヨコオ
車載装置
16日前
トヨタ自動車株式会社
車両
1か月前
日本精機株式会社
車両用投射型表示装置
1か月前
日本精機株式会社
鞍乗型車両用表示装置
15日前
井関農機株式会社
作業車両
1か月前
続きを見る
他の特許を見る