TOP
|
特許
|
意匠
|
商標
特許ウォッチ
Twitter
他の特許を見る
10個以上の画像は省略されています。
公開番号
2025141491
公報種別
公開特許公報(A)
公開日
2025-09-29
出願番号
2024041447
出願日
2024-03-15
発明の名称
水上移動体用推進装置
出願人
本田技研工業株式会社
代理人
弁理士法人大島特許事務所
主分類
B63H
20/14 20060101AFI20250919BHJP(船舶またはその他の水上浮揚構造物;関連艤装品)
要約
【課題】下部ケースの回動角度を容易に検知する。
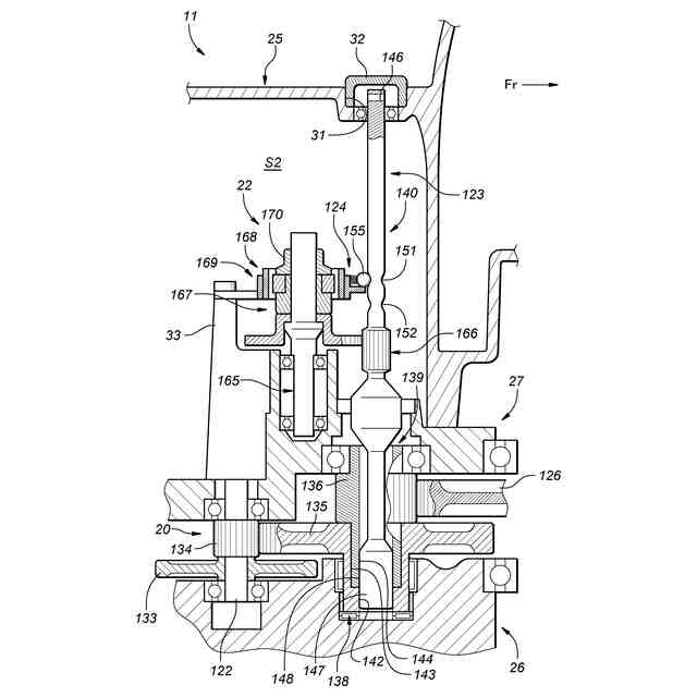
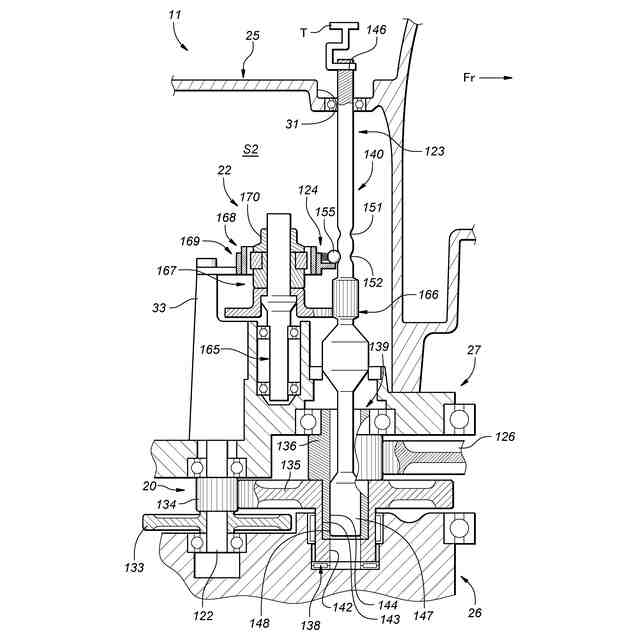
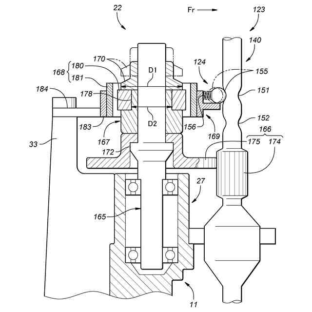
【解決手段】水上移動体用推進装置は、上部ケース11に回動軸X1回りに回動可能に支持される下部ケース13と、上部ケース11に収容される操舵モータ19と、操舵モータ19から下部ケース13に至る操舵力伝達経路R2に設けられ、操舵モータ19の回転を減速する操舵減速機構20と、上部ケース11に対する下部ケース13の回動角度を検知する回動角度検知機構22と、を備え、操舵減速機構20は、少なくとも一つの減速ギヤ135、136を有し、回動角度検知機構22は、少なくとも一つの減速ギヤ135、136とは別軸に設けられる検知軸165と、少なくとも一つの減速ギヤ135、136のギヤ軸123と検知軸165とを接続する接続部166と、を有し、検知軸165の回転速度は、下部ケース13の回動速度と同一である。
【選択図】図3
特許請求の範囲
【請求項1】
水上移動体用推進装置であって、
水上移動体の船体によって支持される上部ケースと、
前記上部ケースに収容される推進モータと、
前記上部ケースに回動軸回りに回動可能に支持される下部ケースと、
前記下部ケースに支持され、前記推進モータの駆動力によって推進軸回りに回転する推進器と、
前記上部ケースに収容される操舵モータと、
前記操舵モータから前記下部ケースに至る操舵力伝達経路に設けられ、前記操舵モータの回転を減速する操舵減速機構と、
前記上部ケースに対する前記下部ケースの回動角度を検知する回動角度検知機構と、を備え、
前記操舵減速機構は、少なくとも一つの減速ギヤを有し、
前記回動角度検知機構は、
前記少なくとも一つの減速ギヤとは別軸に設けられる検知軸と、
前記少なくとも一つの減速ギヤのギヤ軸と前記検知軸とを接続する接続部と、
前記検知軸の回転角度を検出する検知部と、を有し、
前記検知軸の回転速度は、前記下部ケースの回動速度と同一である水上移動体用推進装置。
続きを表示(約 1,100 文字)
【請求項2】
前記推進モータから前記推進器に至る駆動力伝達経路に設けられ、前記推進モータの回転を減速する減速機構を更に備え、
前記下部ケースは、前記回動軸を中心とする円筒形状の回動部を有し、
前記減速機構は、前記回動部の内周に配置されている請求項1に記載の水上移動体用推進装置。
【請求項3】
前記上部ケースの内部空間をオイル室とドライ室とに区画するセパレータを更に備え、
前記少なくとも一つの減速ギヤは、前記オイル室に収容されており、
前記回動角度検知機構は、前記ドライ室に収容されている請求項1又は2に記載の水上移動体用推進装置。
【請求項4】
前記検知部は、レゾルバによって構成され、
前記レゾルバは、
前記検知軸と一体に回転可能なロータと、
前記ロータの外周に配置されるステータと、を有し、
前記接続部は、
前記少なくとも一つの減速ギヤの前記ギヤ軸に配置される駆動ギヤと、
前記検知軸に配置され、前記駆動ギヤと係合する従動ギヤと、を有し、
前記回動角度検知機構は、前記従動ギヤに対する前記検知軸の回転を許容する許容位置と、前記従動ギヤに対する前記検知軸の回転を規制する規制位置と、の間で移動する回転規制部材を更に有する請求項1又は2に記載の水上移動体用推進装置。
【請求項5】
前記回動角度検知機構は、前記検知軸と同軸に配置されるカラーを更に有し、
前記検知軸の外周面には、係止突起が設けられ、
前記回転規制部材は、前記検知軸に係合する締付ナットであり、
前記締付ナットと前記係止突起との間に、前記カラー及び前記従動ギヤが挟み込まれている請求項4に記載の水上移動体用推進装置。
【請求項6】
前記ロータは、前記カラーの外周面に結合し、
前記締付ナット及び前記ロータは、環状を成しており、
前記締付ナットの少なくとも一部の外径は、前記ロータの内径よりも大きい請求項5に記載の水上移動体用推進装置。
【請求項7】
前記下部ケースは、前記回動軸を中心とする円筒形状の回動部を有し、
前記操舵減速機構は、前記回動部の外周面に結合するリングギヤを更に有し、
前記少なくとも一つの減速ギヤは、前記リングギヤに係合する下流端ギヤを含み、
前記接続部は、
前記下流端ギヤのギヤ軸に配置され、前記下流端ギヤよりも小径に形成される駆動ギヤと、
前記検知軸に配置され、前記駆動ギヤと係合する従動ギヤと、を有する請求項1又は2に記載の水上移動体用推進装置。
発明の詳細な説明
【技術分野】
【0001】
本発明は、水上移動体用推進装置に関する。
続きを表示(約 1,500 文字)
【背景技術】
【0002】
近年、低炭素社会又は脱炭素社会の実現に向けた取り組みが活発化し、船外機などの水上移動体用推進装置においてもCO
2
排出量の削減やエネルギー効率の改善のために、電動化技術に関する研究開発が行われている。
【0003】
例えば、特許文献1には、上部ケース(収容ケース)と、上部ケースに回動可能に支持される下部ケース(ドライブシャフトケース及びギヤケース)と、下部ケースに支持される推進器(プロペラシャフト及びプロペラ)と、上部ケースに収容される操舵モータ(ステアリングモータ)と、操舵モータと下部ケースとを接続するギヤ機構(ウォームギヤ)と、を備えた水上移動体用推進装置(船外機)が開示されている。
【先行技術文献】
【特許文献】
【0004】
特開2022-140902号公報
【発明の概要】
【発明が解決しようとする課題】
【0005】
特許文献1では、操舵モータによってギヤ機構を介して下部ケース及び推進器を回動させることで、水上移動体を旋回させている。このような構成を採用する場合、水上移動体の旋回角度を制御するために、下部ケースの回動角度を容易に検知する機構が求められる。
【0006】
本発明は、以上の背景に鑑み、下部ケースの回動角度を容易に検知することが可能な水上移動体用推進装置を提供することを課題とする。そして、延いてはエネルギー効率の改善に寄与するものである。
【課題を解決するための手段】
【0007】
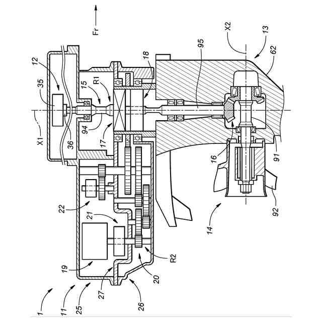
上記課題を解決するために本発明のある態様は、水上移動体用推進装置(1)であって、水上移動体(3)の船体(4)によって支持される上部ケース(11)と、前記上部ケースに収容される推進モータ(12)と、前記上部ケースに回動軸(X1)回りに回動可能に支持される下部ケース(13)と、前記下部ケースに支持され、前記推進モータの駆動力によって推進軸(X2)回りに回転する推進器(14)と、前記上部ケースに収容される操舵モータ(19)と、前記操舵モータから前記下部ケースに至る操舵力伝達経路(R2)に設けられ、前記操舵モータの回転を減速する操舵減速機構(20)と、前記上部ケースに対する前記下部ケースの回動角度を検知する回動角度検知機構(22)と、を備え、前記操舵減速機構は、少なくとも一つの減速ギヤ(135、136)を有し、前記回動角度検知機構は、前記少なくとも一つの減速ギヤとは別軸に設けられる検知軸(165)と、前記少なくとも一つの減速ギヤのギヤ軸(123)と前記検知軸とを接続する接続部(166)と、前記検知軸の回転角度を検出する検知部(168)と、を有し、前記検知軸の回転速度は、前記下部ケースの回動速度と同一である。
【0008】
この態様によれば、検知軸の回転角度を下部ケースの回動角度と一致させることができる。そのため、検知軸の回転角度に基づいて、下部ケースの回動角度を容易に検知することができる。
【0009】
上記の態様において、前記水上移動体用推進装置は、前記推進モータから前記推進器に至る駆動力伝達経路(R1)に設けられ、前記推進モータの回転を減速する減速機構(17)を更に備え、前記下部ケースは、前記回動軸を中心とする円筒形状の回動部(38)を有し、前記減速機構は、前記回動部の内周に配置されていても良い。
【0010】
この態様によれば、回動部及び減速機構をコンパクトに配置することができ、水上移動体用推進装置を小型化することができる。
(【0011】以降は省略されています)
この特許をJ-PlatPat(特許庁公式サイト)で参照する
関連特許
本田技研工業株式会社
車両
22日前
本田技研工業株式会社
車両
22日前
本田技研工業株式会社
車両
21日前
本田技研工業株式会社
車両
21日前
本田技研工業株式会社
車両
14日前
本田技研工業株式会社
移動体
23日前
本田技研工業株式会社
飛行体
22日前
本田技研工業株式会社
固体電池
17日前
本田技研工業株式会社
二次電池
17日前
本田技研工業株式会社
固体電池
21日前
本田技研工業株式会社
制御装置
21日前
本田技研工業株式会社
排気装置
21日前
本田技研工業株式会社
電気機器
22日前
本田技研工業株式会社
触媒装置
17日前
本田技研工業株式会社
内燃機関
22日前
本田技研工業株式会社
排気装置
21日前
本田技研工業株式会社
収容装置
22日前
本田技研工業株式会社
清掃装置
22日前
本田技研工業株式会社
電気部品
22日前
本田技研工業株式会社
除草装置
21日前
本田技研工業株式会社
電気機器
22日前
本田技研工業株式会社
電気機器
23日前
本田技研工業株式会社
発電セル
21日前
本田技研工業株式会社
エンジン
22日前
本田技研工業株式会社
内燃機関
21日前
本田技研工業株式会社
排気装置
21日前
本田技研工業株式会社
電気機器
23日前
本田技研工業株式会社
固体電池
23日前
本田技研工業株式会社
電動船外機
17日前
本田技研工業株式会社
リアクトル
21日前
本田技研工業株式会社
樹脂成型品
22日前
本田技研工業株式会社
電極積層体
21日前
本田技研工業株式会社
全固体電池
23日前
本田技研工業株式会社
全固体電池
23日前
本田技研工業株式会社
全固体電池
17日前
本田技研工業株式会社
全固体電池
17日前
続きを見る
他の特許を見る