TOP
|
特許
|
意匠
|
商標
特許ウォッチ
Twitter
他の特許を見る
公開番号
2025141443
公報種別
公開特許公報(A)
公開日
2025-09-29
出願番号
2024041375
出願日
2024-03-15
発明の名称
サーマルプリンタ
出願人
セイコーインスツル株式会社
代理人
個人
主分類
B41J
13/10 20060101AFI20250919BHJP(印刷;線画機;タイプライター;スタンプ)
要約
【課題】部品点数の増加及び印字精度の低下を抑制しつつ、メンテナンスを容易に行うことができるサーマルプリンタを提供する。
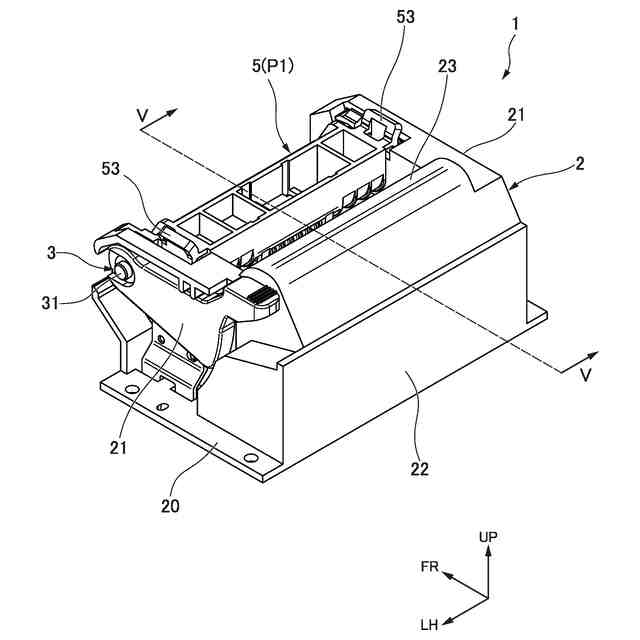
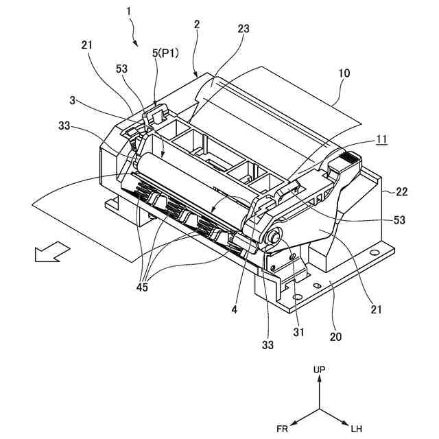
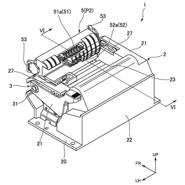
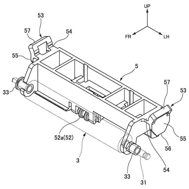
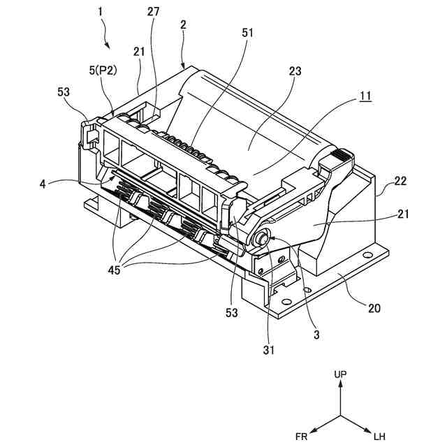
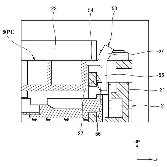
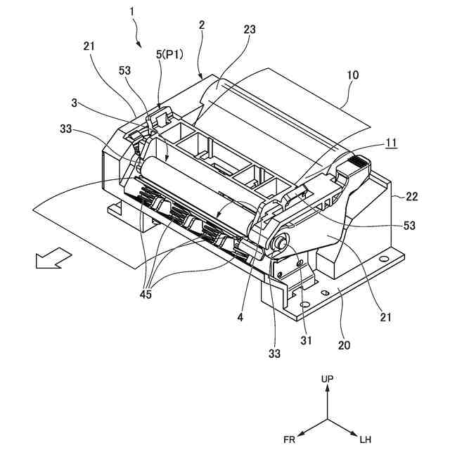
【解決手段】サーマルプリンタ1は、筐体2と、プラテンローラ3と、プラテンローラ3に対向配置されたサーマルヘッド4と、回動軸(プラテン軸31)を中心として筐体2に対して回動可能に軸支される紙ガイド5と、を備える。紙ガイド5は、筐体2との間に用紙10の通紙経路11を形成する。紙ガイド5は、プラテンローラ3とサーマルヘッド4との間へ用紙10を供給可能なガイド位置P1と、用紙10の通紙経路11を露出させる開放位置と、の間で回動する。
【選択図】図1
特許請求の範囲
【請求項1】
筐体と、
前記筐体に回転可能に支持されたプラテンローラと、
前記筐体に収容され、前記プラテンローラに対向配置されたサーマルヘッドと、
前記筐体との間に用紙の通紙経路を形成し、前記プラテンローラと前記サーマルヘッドとの間へ前記用紙を供給可能なガイド位置と、前記用紙の前記通紙経路を露出させる開放位置と、の間で回動軸を中心として前記筐体に対して回動可能に軸支される紙ガイドと、
を備えるサーマルプリンタ。
続きを表示(約 250 文字)
【請求項2】
前記回動軸は、前記プラテンローラのプラテン軸と同軸に設けられる、
請求項1に記載のサーマルプリンタ。
【請求項3】
前記紙ガイドは、前記ガイド位置において前記筐体に固定されるスナップフィット部を有する、
請求項1又は請求項2に記載のサーマルプリンタ。
【請求項4】
前記紙ガイドは、前記用紙を前記プラテンローラと前記サーマルヘッドとの間へ供給するガイドローラを有する、
請求項1又は請求項2に記載のサーマルプリンタ。
発明の詳細な説明
【技術分野】
【0001】
本発明は、サーマルプリンタに関する。
続きを表示(約 2,300 文字)
【背景技術】
【0002】
従来、サーマルヘッドとそれに対向するように配設されたプラテンローラとで印刷部を構成するサーマルプリンタが知られている。サーマルプリンタでは、非印刷時の通紙セット前にサーマルヘッドとプラテンローラとが互いに離間されており用紙を通した後にこれらを接触させて印刷するタイプ(いわゆるクラムシェル型)と、サーマルヘッドとプラテンローラとの距離が固定されており用紙をサーマルヘッドとプラテンローラとの間に差し込むことで印刷するタイプ(いわゆるオートローディング型)と、が知られている。特に印刷領域の先頭が明確に定義されているラベル等の用紙を印刷するのに適した方式として、オートローディング型のサーマルプリンタに関する技術が種々提案されている。
【0003】
例えば特許文献1には、互いに微小な隙間を介して対向配置されるサーマルプリンタ及びプラテンローラを有するサーマルプリンタであって、非印刷時におけるサーマルプリンタ及びプラテンローラ間の隙間寸法は、印刷に供される用紙の厚さ寸法よりも小さく設定されている構成が開示されている。
特許文献1に記載の技術によれば、このような微小な隙間を介して対向するサーマルプリンタとプラテンローラ間に用紙を差し込んで印刷するので、サーマルプリンタとプラテンローラとが常時接触する場合と比較して、プラテンローラへの圧接痕の発生を抑制し、印字品質を向上できる、とされている。また、サーマルプリンタ及びプラテンローラ間の隙間寸法が用紙の厚み寸法より小さいので、用紙の搬送方向の先端側に余白を形成することなく印刷できる、とされている。
【先行技術文献】
【特許文献】
【0004】
特開2009-119733号公報
【発明の概要】
【発明が解決しようとする課題】
【0005】
しかしながら、特許文献1に記載の技術にあっては、給紙口からプラテンローラまでの通紙経路上で紙ジャムが発生した場合や用紙のカス等が溜まった場合に、これらの異物を取り除きにくくなるおそれがあった。また、メンテナンスを可能にするために例えば通紙経路を形成する紙ガイドを分離可能に形成した場合、固定部品を別途設ける必要があり、部品点数が増加するおそれがある。さらにメンテナンスを行う前後で紙ガイドの位置がずれた場合には、印字精度に影響を与えるおそれがあった。
したがって、従来技術にあっては、特にオートローディング型のサーマルプリンタにおいて、部品点数の増加及び印字精度の低下を抑制しつつ、メンテナンス性を向上する点で課題があった。
【0006】
そこで、本発明は、部品点数の増加及び印字精度の低下を抑制しつつ、メンテナンスを容易に行うことができるサーマルプリンタを提供することを目的とする。
【課題を解決するための手段】
【0007】
上記課題を解決するため、本発明の一つの形態のサーマルプリンタは、筐体と、前記筐体に回転可能に支持されたプラテンローラと、前記筐体に収容され、前記プラテンローラに対向配置されたサーマルヘッドと、前記筐体との間に用紙の通紙経路を形成し、前記プラテンローラと前記サーマルヘッドとの間へ前記用紙を供給可能なガイド位置と、前記用紙の前記通紙経路を露出させる開放位置と、の間で回動軸を中心として前記筐体に対して回動可能に軸支される紙ガイドと、を備える。
【0008】
この構成によれば、紙ガイドがガイド位置にあるとき、筐体と紙ガイドとの間に通紙経路が形成されるので、この通紙経路を通って用紙をプラテンローラとサーマルヘッドとの間へ供給できる。紙ガイドは、ガイド位置と開放位置との間で筐体に対して回動可能に軸支される。これにより、例えば紙ジャムが発生した場合には、紙ガイドを開放位置まで回動させることで通紙経路を露出させ、異物等を容易に除去できる。また、紙ガイドと筐体とは回動角度以外が互いに位置決めされているので、異物を除去した後には、回動軸を中心として紙ガイドをガイド位置まで回動させるだけで紙ガイドを正しい位置に設置し直すことができる。よって、例えば筐体に対して紙ガイドを分離可能に構成した場合と比較して、より容易にメンテナンスを行うことができる。また、紙ガイドの位置ずれによる印字精度の低下を抑制できる。さらに、紙ガイドの位置ずれが生じにくくなるので、高精度な設計を行うことができる。また、紙ガイドを分離可能に構成した場合と比較して、固定のための専用部品を設ける必要が無いので、部品点数の増加を抑制できる。
したがって、部品点数の増加及び印字精度の低下を抑制しつつ、メンテナンスを容易に行うことができるサーマルプリンタを提供できる。
【0009】
また、前記サーマルプリンタは、前記回動軸は、前記プラテンローラのプラテン軸と同軸に設けられる。
【0010】
この構成によれば、紙ガイドの回動軸としてプラテンローラのプラテン軸を用いることができるので、回動軸として新たな部品を設ける必要がない。よって、部品点数の増加を抑制しつつメンテナンス性を向上できる。さらに、高い位置精度で取り付けられているプラテンローラのプラテン軸を回動軸とすることで、紙ガイドの取り付け時の位置精度も高められる。よって、メンテナンスで紙ガイドを回動した場合であっても、紙ガイドの回動動作による印字精度の低下を抑制できる。
(【0011】以降は省略されています)
この特許をJ-PlatPat(特許庁公式サイト)で参照する
関連特許
個人
箔熱転写装置
23日前
シヤチハタ株式会社
印判
4か月前
東レ株式会社
凸版印刷版原版
9か月前
三菱製紙株式会社
感熱記録材料
10か月前
シヤチハタ株式会社
反転式印判
8か月前
キヤノン株式会社
記録装置
16日前
三光株式会社
感熱記録材料
5か月前
独立行政法人 国立印刷局
印刷物
6か月前
株式会社リコー
液体吐出装置
4か月前
日本製紙株式会社
感熱記録体
7か月前
株式会社リコー
液体吐出装置
1か月前
株式会社リコー
液体吐出装置
7か月前
株式会社リコー
液体吐出装置
8か月前
株式会社リコー
画像形成装置
23日前
株式会社リコー
印刷システム
4日前
株式会社リコー
液体吐出装置
3か月前
フジコピアン株式会社
熱転写シート
11か月前
株式会社リコー
画像形成装置
4日前
株式会社リコー
液体吐出装置
5か月前
独立行政法人 国立印刷局
記録媒体
8か月前
株式会社リコー
画像形成装置
今日
株式会社リコー
液体吐出装置
7か月前
独立行政法人 国立印刷局
貼付装置
1か月前
独立行政法人 国立印刷局
貼付機構
1か月前
株式会社リコー
液体吐出装置
4か月前
キヤノン株式会社
画像形成装置
1か月前
フジコピアン株式会社
熱転写記録媒体
11か月前
ブラザー工業株式会社
プリンタ
8か月前
ブラザー工業株式会社
プリンタ
5か月前
フジコピアン株式会社
中間転写シート
9か月前
キヤノン株式会社
印刷制御装置
9か月前
ブラザー工業株式会社
プリンタ
7か月前
ブラザー工業株式会社
プリンタ
5か月前
ブラザー工業株式会社
プリンタ
3か月前
キヤノン株式会社
画像形成装置
4か月前
ブラザー工業株式会社
プリンタ
1か月前
続きを見る
他の特許を見る